The Project Gutenberg eBook of The Mirror of Literature, Amusement, and Instruction. Volume 17, No. 493, June 11, 1831

This ebook is for the use of anyone anywhere in the United States and most other parts of the world at no cost and with almost no restrictions whatsoever. You may copy it, give it away or re-use it under the terms of the Project Gutenberg License included with this ebook or online at www.moredirect.org. If you are not located in the United States, you will have to check the laws of the country where you are located before using this eBook.

Title: The Mirror of Literature, Amusement, and Instruction. Volume 17, No. 493, June 11, 1831

Author: Various

Release date: December 1, 2004 [eBook #14230]
Most recently updated: October 28, 2024

Language: English

Credits: E-text prepared by Jonathan Ingram, Riikka Talonpoika, and the Project Gutenberg Online Distributed Proofreading Team

*** START OF THE PROJECT GUTENBERG EBOOK THE MIRROR OF LITERATURE, AMUSEMENT, AND INSTRUCTION. VOLUME 17, NO. 493, JUNE 11, 1831 ***

The Project Gutenberg eBook, The Mirror of Literature, Amusement, and Instruction, Vol. 17, Issue 493, June 11, 1831, by Various

 

 


[pg 384]

THE MIRROR
OF
LITERATURE, AMUSEMENT, AND INSTRUCTION.


Vol. 17. No. 493. SATURDAY; JUNE 11, 1891. [PRICE 2d.

BOAT-HOUSE AT VIRGINIA WATER.

BOAT-HOUSE AT VIRGINIA WATER.

[pg 385]

Lakers and lovers of the picturesque will, doubtless, be flocking to Virginia Water in the coming summer. The rides and walks on its banks are thrown open to the public; but we hope this privilege will not be abused, as of old; for "there was a time when Virginia Water was profaned by the presence of prize-fighters, who were accustomed to train in the secluded alleys that bordered the lake; and it was, therefore, quite necessary that the privilege of admission to the grounds should be withdrawn from the inn to which these persons resorted." We hope better things from the improved taste of our times.

The attractions of the place are of no common order: all that art and luxury could suggest have been lent to its embellishment. "The artificial water is the largest in the kingdom, with the single exception of Blenheim; the cascade is, perhaps, the most striking imitation we have of the great works of Nature; and the grounds are arranged in the grandest style of landscape gardening."1

Many persons may be disposed to question the taste of the Boat-house in the Engraving. Its style is toy-like, and too artificial to suit our idea of picturesque propriety. It was built by direction of the late King, and its design or approval was probably one of his labours of leisure. It is less decorated and fantastical than other buildings in its vicinity, and perhaps deserves the faint praise of prettiness. Grave persons dislike the little bells attached to the lantern-like part of the roof, and consider them too closely allied to the cap of folly. Perhaps this objection to the building itself will only make the contiguous scenery more delightful. Of its varied character, the Engraving furnishes an accurate idea, since the original sketch was made in the course of last year. We could linger amidst these sylvan glories all the live long day, with a canopy of foliage just to shelter us from the heat of the meridian sun.

[pg 386]

PEERAGE OF THE UNITED KINGDOM.

(For the Mirror.)

To the Barons of England, of a truth, it may be said, man is indebted for constitutional liberty; for if we look but to Greece and Rome, those boasted lands of freedom, where, as the arts and sciences increased, liberty decayed, we shall perceive myriads of slaves, governed, as in savage nations, by a few political chiefs, whom brute force and superior address had raised above their fellow-citizens.

It was in modern times, through the instrumentality of the steel-clad nobles of Britain, that liberty was to dawn on the human race: and of these, Henry VII. could only summon 28 to his first parliament; and only 36 were summoned to the first parliament of Henry VIII. In 1830, the House of Peers consisted of 380 persons.

It is a fact but little regarded, that the first noble family in England was that of Lord Courtenay, who descended from the Earls of Devonshire, who often intermarried with the blood-royal of France and Britain, as may be found at the commencement of Sully's Memoirs. The Duke of Beaufort is descended from Geoffrey Plantagenet, Earl of Anjou, son of Foulk, King of Jerusalem, and grandson to the Empress Maud, daughter of Henry I. Consequently, this family has flourished, as dukes, marquesses, and earls, without descending to a lower degree, for full 700 years. The Duke of Montague traces his descent, by the female line, from Charlemagne. The Earl of Shrewsbury's family is derived from the famous Talbot, the terror of France: hence they have been peers for 500 years.

In 1827, the number of the Irish nobility was 212—viz. 1 duke, 14 marquesses, 76 earls, 48 viscounts, 70 barons, and 4 peeresses. There were 135 married, 27 widowers, and 45 bachelors. Of the 162 married and widowers, 38 were without children, and the remaining 134 had living 278 sons and 256 daughters. Four Irish peers were Knights of the Garter, 10 of the Bath, and 18 of St. Patrick. Among these 212 Irish nobility, 66 were also British peers. The ancestors of the Irish peers became ennobled as follows:—5 as princes of the blood-royal, 8 as courtiers, 8 as younger branches of nobility, 11 as statesmen, 7 for naval service, 23 for military service, 6 for diplomatic service, 11 for legal service, 11 by marriage, and 121 by influence of wealth.

The descent of 13 peers can be traced to the 11th century, that of 10 to the 12th, 12 to the 13th, 13 to the 14th, 10 to the 15th, 37 to the 16th, 31 to the 17th, and 2 to the 18th; and 37 whose genealogies cannot be traced with accuracy. The ancestors of 48 Irish peers were foreigners. The number of Catholic peers are, 8 for Ireland—viz. 2 earls, 4 viscounts, and 2 barons; in Scotland, only 2 earls; and in England 8—viz. 1 duke, 1 earl, and 6 barons.

W.G.C.


LADY OF WALSINGHAM.

(For the Mirror.)

"What led (says Britton) to the great celebrity which the town of Old Walsingham, Norfolk, obtained for centuries, was the widow lady of Ricoldie Faverches founding, about the year 1061, a small chapel, in honour of the Virgin Mary, similar to the Sancta Casa at Nazareth.

"Sir Geoffrey de Favenches, or Faverches, her son, confirmed the endowments, made an additional foundation of a priory for Augustine canons, and erected a conventual church. The numerous gifts and grants to this famous religious house form one of those extensive and dull mazes of ecclesiastical record, through which the historic topographer is constrained to wade. At the Dissolution, the annual revenues of the monastery were valued, according to Speed, at 446l. 14s. 4d. That its wealth should have been immensely great is not surprising, when the fame of the image of the Lady of Walsingham is taken into the account; for it was as much frequented, if not more than the shrine of St. Thomas à Becket, at Canterbury. Foreigners of all nations came hither on pilgrimage; many kings and queens of England also paid devoirs to it: so that the number and quality of her devotees appeared to equal those of the Lady Loretto, in Italy. Spelman observes, that it is said King Henry the Eighth, in the second year of his reign, walked barefooted from the village of Basham to this place, and then presented a valuable necklace to the image. Of this costly present, as well as the other saleable appendages, Cromwell doubtless took good care, when, by his master's orders, he seized the image, and burnt it at Chelsea.

"Erasmus, who visited this place, says, that the chapel, then rebuilding, was distinct from the church, and inside of it was a small chapel of wood, on each side of which was a little, narrow [pg 387] door, where those who were admitted came with their offerings, and paid their devotions; that it was lighted up with wax torches, and that the glitter of gold, silver, and jewels would lead you to suppose it to be the seat of the gods.

"In one of his colloquies, entitled, Peregrinatio, is a very humorous description of the superstitions of this place. The monks had contrived to persuade many that the galaxy in the heavens was a miraculous indication of the way to this place. Hence that was called Walsingham Way.

"The present remains of this once noble monastic pile, is a portal, or west entrance; a rich ornamented lofty arch, sixty feet high, which formed the east end of the church, supposed to have been erected in the time of Henry the Seventh; the refectory, seventy-eight feet long and twenty-seven broad, and the walls twenty-six and a half feet in height; a Saxon arch, part of the original chapel, which has a zig-zag moulding; part of the old cloisters, a stone bath, and two uncovered wells, called the Wishing Wells. The devotees to the Lady of Walsingham were taught to believe, that whoever had permission to drink of these waters could obtain, under certain restrictions, whatever they might wish for."

"The principal part of the venerable ruins are included in the pleasure gardens of Henry Lee Warner, Esq., who has a large, commodious house, which occupies the site of the priory. The present proprietor has progressively, for some years past, been making various improvements in planting and laying out the grounds in the immediate vicinity of the mansion. Among the recent embellishments of the place is a new bridge across the rivulet, in front of the house, and widening the course of the stream, so as to give it the appearance of a lake. Contiguous to this water, and intermixed in a fine grove of large trees, are the various fragments of the ruins already noticed. Some of these are interesting relics of architectural antiquity; and though several detached parts remain, yet we cannot (says Britton) but regret the wasteful destruction that has taken place at this once celebrated place of monastic splendour and human superstition."—Beauties of England and Wales, vol. ix.—Norfolk.

It has been supposed that Henry the Eighth, tempted by the riches and splendour of the religious houses at Walsingham, precipitated their fall.

P.T.W.


TAPESTRY IN WINDSOR CASTLE.

(To the Editor.)

There are six pieces of tapestry in the Ball-room adjoining St. George's Hall, Windsor Castle; and the subject is Jason and the Golden Fleece. In your account you stated four.

A SUBSCRIBER.


COWSLIPS.—A SONNET.

BY HENRY BRANDRETH, JUN.

Author of Minstrel Melodies, The Garland, &c.

COWSLIPS—sweet Cowslips! I scarce know a flower

More prized than is the cowslip. Childhood's hand

Plucks it as if by instinct. Every land

Has some peculiar flowret—this the bower,

The mountain that adorning. April's shower

The modest primrose sifts with beauty bland,

Or o'er the blue-bell waves her fairy wand,

The delegate of Flora's magic power.

But most love I the cowslip, with its fair

And fragrant petals, studding, as with gold,

The emerald meadow, or the hedge-row green;

For, while the laugh of Infancy is there,

The heart must be as very marble cold

Of him who frowns on such a joyous scene.


The Naturalist,


THE WHITE-HEADED, OR BALD EAGLE.2

(From Wilson's American Ornithology, judiciously re-printed in two volumes of Constable's Miscellany.)

This distinguished bird, as he is the most beautiful of his tribe in this part of the world, and the adopted emblem of our country, is entitled to particular notice. The celebrated Cataract of Niagara is a noted place of resort for the bald eagle, as well on account of the fish procured there, as for the numerous carcasses of squirrels, deer, bears, and various other animals, that, in their attempts to cross the river above the Falls, have been dragged into the current, and precipitated down that tremendous gulf, where, among the rocks that bound the Rapids below, they furnish a rich repast for the vulture, the raven, and the bald eagle, the subject of the present account. He has been long known to naturalists, being common to both continents, and occasion [pg 388]ally met with from a very high northern latitude, to the borders of the torrid zone, but chiefly in the vicinity of the sea, and along the shores and cliffs of our lakes and large rivers. Formed by nature for braving the severest cold; feeding equally on the produce of the sea, and of the land; possessing powers of flight capable of outstripping even the tempests themselves; unawed by any thing but man; and, from the ethereal heights to which he soars, looking abroad, at one glance, on an immeasurable expanse of forests, fields, lakes, and ocean, deep below him, he appears indifferent to the little localities of change of seasons; as, in a few minutes, he can pass from summer to winter, from the lower to the higher regions of the atmosphere, the abode of eternal cold, and from thence descend, at will, to the torrid, or the arctic regions of the earth. He is, therefore, found at all seasons, in the countries he inhabits; but prefers such places as have been mentioned above, from the great partiality he has for fish.

In procuring these, he displays, in a very singular manner, the genius and energy of his character, which is fierce, contemplative, daring, and tyrannical; attributes not exerted but on particular occasions, but, when put forth, overpowering all opposition. Elevated on the high dead limb of some gigantic tree that commands a wide view of the neighbouring shore and ocean, he seems calmly to contemplate the motions of the various feathered tribes that pursue their busy avocations below; the snow-white gulls slowly winnowing the air; the busy fringes coursing along the sands; trains of ducks streaming over the surface; silent and watchful cranes, intent and wading; clamorous crows; and all the winged multitudes that subsist by the bounty of this vast liquid magazine of nature. High over all these hovers one, whose action instantly arrests his whole attention. By his wide curvature of wing, and sudden, suspension in air, he knows him to be the fish hawk, settling over some devoted victim of the deep. His eye kindles at the sight, and, balancing himself, with half-opened wings, on the branch, he watches the result. Down, rapid as an arrow from heaven, descends the distant object of his attention, the roar of its wings reaching the ear as it disappears in the deep, making the surges foam around! At this moment, the eager looks of the eagle are all ardour; and, levelling his neck for flight, he sees the fish hawk once more emerge, struggling with his prey, and mounting in the air with screams of exultation. These are the signals for our hero, who, launching into the air, instantly gives chase, and soon gains on the fish hawk; each exerts his utmost to mount above the other, displaying in these rencontres the most elegant and sublime aerial evolutions. The unencumbered eagle rapidly advances, and is just on the point of reaching his opponent, when, with a sudden scream, probably of despair and honest execration, the latter drops his fish; the eagle, poising himself for a moment, as if to take a more certain aim, descends like a whirlwind, snatches it in his grasp ere it reaches the water, and bears his ill-gotten booty silently away to the woods.

These predatory attacks and defensive manoeuvres of the eagle and the fish hawk, are matters of daily observation along the whole of our sea board, from Georgia to New England, and frequently excite great interest in the spectators. Sympathy, however, on this as on most other occasions, generally sides with the honest and laborious sufferer, in opposition to the attacks of power, injustice, and rapacity, qualities for which our hero is so generally notorious, and which, in his superior man, are certainly detestable. As for the feelings of the poor fish, they seem altogether out of the question.

When driven, as he sometimes is, by the combined courage and perseverance of the fish hawks from their neighbourhood, and forced to hunt for himself, he retires more inland, in search of young pigs, of which he destroys great numbers. In the lower parts of Virginia and North Carolina, where the inhabitants raise vast herds of those animals, complaints of this kind are very general against him. He also destroys young lambs in the early part of spring; and will sometimes attack old sickly sheep, aiming furiously at their eyes.

In corroboration of the remarks I have myself made on the manners of the bald eagle, many accounts have reached me from various persons of respectability, living on or near our sea coast. The substance of all these I shall endeavour to incorporate with the present account.

Mr. John L. Gardiner, who resides on an island of three thousand acres, about three miles from the eastern point of Long Island, from which it is separated by Gardiner's Bay, and who has consequently many opportunities of observing [pg 389] the habits of these birds, has favoured me with a number of interesting particulars on this subject; for which I beg leave thus publicly to return my grateful acknowledgment.

"The bald eagles," says this gentleman, "remain on this island during the whole winter. They can be most easily discovered on evenings by their loud snoring while asleep on high oak trees; and, when awake, their hearing seems to be nearly as good as their sight. I think I mentioned to you, that I had myself seen one flying with a lamb ten days old, and which it dropped on the ground from about ten or twelve feet high. The struggling of the lamb, more than its weight, prevented its carrying it away. My running, hallooing, and being very near, might prevent its completing its design. It had broke the back in the act of seizing it; and I was under the necessity of killing it outright to prevent its misery. The lamb's dam seemed astonished to see its innocent offspring borne off in the air by a bird.

"I was lately told," continues Mr. Gardiner, "by a man of truth, that he saw an eagle rob a hawk of its fish, and the hawk seemed so enraged as to fly down at the eagle, while the eagle very deliberately, in the air, threw himself partly over on his back, and, while he grasped with one foot the fish, extended the other to threaten or seize the hawk. I have known several hawks unite to attack the eagle; but never knew a single one to do it. The eagle seems to regard the hawks as the hawks do the kingbirds, only as teasing, troublesome fellows."

From the same intelligent and obliging friend, I lately received a well preserved skin of the bald eagle, which, from its appearance, and the note that accompanied it, seems to have belonged to a very formidable individual. "It was shot," says Mr. Gardiner, "last winter, on this island, and weighed thirteen pounds, measured three feet in length, and seven from tip to tip of the expanded wings; was extremely fierce looking; though wounded, would turn his back to no one; fastened his claws into the head of a dog, and was with difficulty disengaged. I have rode on horseback within five or six rods of one, who, by his bold demeanour, raising his feathers, &c. seemed willing to dispute the ground with its owner. The crop of the present was full of mutton, from my part-blood Merinos; and his intestines contained feathers, which he probably devoured with a duck, or winter gull, as I observed an entire foot and leg of some water fowl. I had two killed previous to this, which weighed ten pounds avoirdupois each."

(To be concluded in our next.)


Notes of a Reader.


CHOLERA MORBUS.

It appears, on the most satisfactory authority, that the disease which has so long prevailed in the Russian dominions, and within the last six months, has been advancing in Europe, is contagious. Our correspondent in Vienna says, that it is evidently a combination of plague and cholera morbus; i.e. the general disturbance of the system is of the nature of plague, and with such a state of constitution, the affection of the chylopoietic viscera, (in consequence of which the name of cholera morbus has been, given to it,) often terminates life in the course of three hours. It appears, from the report of Professor Lichtenstein, of St. Petersburgh, that the proportion of deaths is one in four, and that in Moscow it has been one in three. During the summer the mortality by the disease was certainly much greater than in winter. All the modes of combating this most formidable malady that have been suggested by the different boards of health on the continent, and some practitioners of this country, have totally failed. The remedies that have proved most successful in the cholera morbus of India have evidently proved injurious in the disease so denominated in Russia. As a security against the contagion, our correspondent recommends brandy with laudanum; the former to keep up the vigour of the abdominal viscera, and the latter to prevent morbid excitability of the system, which predisposes the body to the action of the contagion. In India, brandy and laudanum have been very successfully administered in cases of the cholera of that country. As the recommendation of our correspondent appears to be very reasonable, we advise those who believe in the predictions of a certain popular preacher, that the disease will reach our shores before autumn, to lay in a good stock of genuine brandy and laudanum. Notwithstanding bleeding, calomel in small and large doses, opium, cajeput oil, sub-carbonate of ammonia, muriatic acid, camphor fumigation, warm covering, and friction have been employed, the disease has run its regular course, and the result, in every case, seems to have depended on the natural stamina of the patients. To those who had freely indulged [pg 390] in wine or spirits, it has generally terminated fatally. Among the Russians it has proved more fatal than among the Poles, in consequence, as it is supposed, of the great quantity of fish-oil the former take at every meal.


We quote the preceding from Dr. Reece's Gazette of Practical Medicine.


In the Atlas we find the following:—An eminent surgeon, Mr. Hope, who has had thirty years' practice, in which he has treated cases of cholera morbus very successfully, has made public the means which he used for the general good. He says, "The remedy I gave was one drachm of nitrous acid (not nitric, that has foiled me), one ounce of peppermint-water or camphor mixture, and 40 drops of tincture of opium. A fourth part every three or four hours in a cupful of thin gruel. The belly should be covered with a succession of hot cloths dry; bottles of hot water to the feet, if they can be obtained; constant and small sippings of finely strained gruel, or sago, or tapioca; no spirit, no wine, no fermented liquors, till quite restored." The French surgeons now use laudanum and abstain from venesection. Another recipe is simply repeated draughts of hot water in large quantities.


A subsequent communication to the Medical Gazette is as follows:—

We have learnt by the last arrivals from St. Petersburgh that one of the most celebrated and intelligent of the physicians in the Russian service has been employed in tracing the progress of the cholera, and the inference at which he has arrived is, that the disease is propagated exclusively by contagion, and not in any degree by atmospherical influence. In the spring of 1830 it appeared at Corason, the residence of Abbas Mirza, in Persia, where several of the Russian mission died of it, and Prince Dolgonrowky, the minister, narrowly escaped after a severe attack. In July it broke out in the Russian province of Schirvan and Bacon; whence it found its way by land to Tifflis, and by sea, from the port of Bacon to Astracan. In these towns it made its appearance nearly at the same time, viz. about July 20th. No precautions were taken, and it extended rapidly throughout Georgia, always following the course of the principal roads; and in no instance did it appear in any village, or in houses, unless individuals from the infected towns visited them. A Moravian village almost in the immediate line of road, thus entirely escaped, while the disease raged around it. Alarm having been excited at Bacon, many persons fled along the Volga, and carried the disease with them, which appeared at Jondayersk on the 22nd of July; at Krasnoyar on the 25th; at Tzarilzin on the 6th of August; Donbooka and Saratoff on the 7th; at Khvalnisk on the 19th; Novogorod on the 27th; Koshoma on the 3rd of September; Yaroslaff 6th; and at Rybinsk on the 10th. In all these places, the first victims were navigators of the Volga, or others arrived from places where it already raged. A Cossack, sent to buy food at Doubooka, on the Volga, died on 7th, after his return to Katchalinskaia, on the Don; and thence the disease rapidly spread through the Cossack villages.

The first deaths at Novitcherkask, the principal town of the Cossacks, took place on the 18th of August; and at Tagonrog, September 9th.

From Saratoff multitudes of the inhabitants escaped again into Persia, but the disease followed them, and it was carried to Moscow by a student from Saratoff, whose servant had died on the road, and who was himself the first victim in the Russian capital. All communication was instantly cut off between the military school at Moscow and the rest of the town; not one case of cholera occurred in the establishment. In no instance was the propagation of the disease traceable to goods; it was dependent on the actual presence of individuals labouring under it. It never broke out after a quarantine of twenty-one days; and, in the great majority of cases, the attack took place within a week after exposure to the contagion.


FRUITS OF INDUSTRY.

Last week the friends and supporters of the Metropolitan Charity Schools dined together at a tavern in the city. Among the toasts were "the Sheriffs of London and Middlesex," upon which (one of them,) Sir Chapman Marshall, returned thanks in the following plain, sensible words:

"My Lord Mayor and gentlemen, I want words to express the emotions of my heart. You now see before you an humble individual who has been educated in a parochial school. (Loud cheers.) I came to London in 1803, without a shilling—without a friend. I have not had the advantage of a classical education, therefore you will excuse my defects of language. (Cheers.) But this I will say, my Lord Mayor and gentlemen, that you witness in me what may be [pg 391]done by the earnest application of honest industry; and I trust that my example may induce others to aspire, by the same means, to the distinguished situation which I have now the honour to fill. (Repeated plaudits.)"

In its way, this brief address is as valuable as Hogarth's print of the Apprentices.


FRENCH POETRY FOR CHILDREN.

M. Ventouillac, editor of a popular Selection from the French Classics, has professionally experienced the want of a book of French Poetry for Children, and to supply this desideratum, has produced a little volume with the above title. It consists of brief extracts, in two parts—1. From Morel's Moral de l'enfance; 2. Miscellaneous Poems, Fables, &c., by approved writers; and is in French just what Miss Aikin's pretty poetical selection is in English. We hope it may become as popular in schools and private tuition; and we feel confident that M. Ventouillac's good taste as an editor will do much by way of recommending his work to the notice of all engaged in the instruction of youth.


BLUE BEARD.

The original Blue Beard who has, during our childhood, so often served to interest and alarm our imaginations, though for better dramatic effect, perhaps, Mr. Colman has turned into a Turk—for surely the murderer of seven wives could be little else—was no other than Gilles, Marquess de Laval, a marshal of France, a general of great intrepidity, who distinguished himself, in the reigns of Charles the Sixth and Seventh, by his courage, especially against the English, when they invaded France. The services that he rendered his country might have immortalized his name, had he not for ever blotted his glory by the most terrible murders, impieties, and debaucheries. His revenues were princely; but his prodigalities might have made an emperor a bankrupt. Wherever he went, he had in his suite a seraglio, a company of actors, a band of musicians, a society of sorcerers, a great number of cooks, packs of dogs of various kinds, and above 200 led horses. Mezeray says that he encouraged and maintained sorcerers to discover hidden treasures, and corrupted young persons of both sexes, that he might attach them to him; and afterwards killed them for the sake of their blood, which was necessary to form his charms and incantations. Such horrid excesses are credible when we recollect the age of ignorance and barbarity in which they were practised. He was at length (for some state crime against the Duke of Brittany) sentenced to be burnt alive in a field at Nantes, in 1440; but the Duke, who witnessed the execution, so far mitigated the sentence, that he was first strangled, then burnt, and his ashes interred. He confessed, before his death, "that all his excesses were derived from his wretched education," though descended from one of the most illustrious families in the kingdom.


EFFECT OF STEAM-COACHES.

In a recent No. of the Voice of Humanity, (already noticed in the Mirror,) occurs the following:

We doubt whether our labours to accomplish either of the objects of this publication, if ever so successful, could produce such complete mitigation (rather abolition) of animal suffering as the substitution of locomotive machinery for the inhuman, merciless treatment of horses in our stage-coaches. The man who started the first steam-carriage was the greatest benefactor to the cause of humanity the world ever had. But in a political view the subject is very important. We have a superabundant population with a very limited territory, while each horse requires a greater quantity of land than would be sufficient to support a man. How extensive then would be the beneficial effect of withdrawing two-thirds of the horses and appropriating the land required for them to the rearing of cattle and to agricultural produce? The Liverpool and Manchester steam-coaches have driven fourteen horse-coaches off the road. Each of the horse-coaches employed twelve horses—there being three stages, and a change of four horses each stage. The total horses employed by these coaches was therefore 168. Now each horse consumes, on an average, in pasture, hay, and corn, annually, the produce of one and a half acre. The whole would thus consume the produce of 252 acres. Suppose, therefore, "every man had his acre" upon which to rear his family, which some politicians have deemed sufficient, the maintenance of 252 families is gained to the country by these steam-coaches. The average number in families is six, that is, four children, besides the father and mother.—The subsistence of 1,512 individuals is thus attained.


[pg 392]
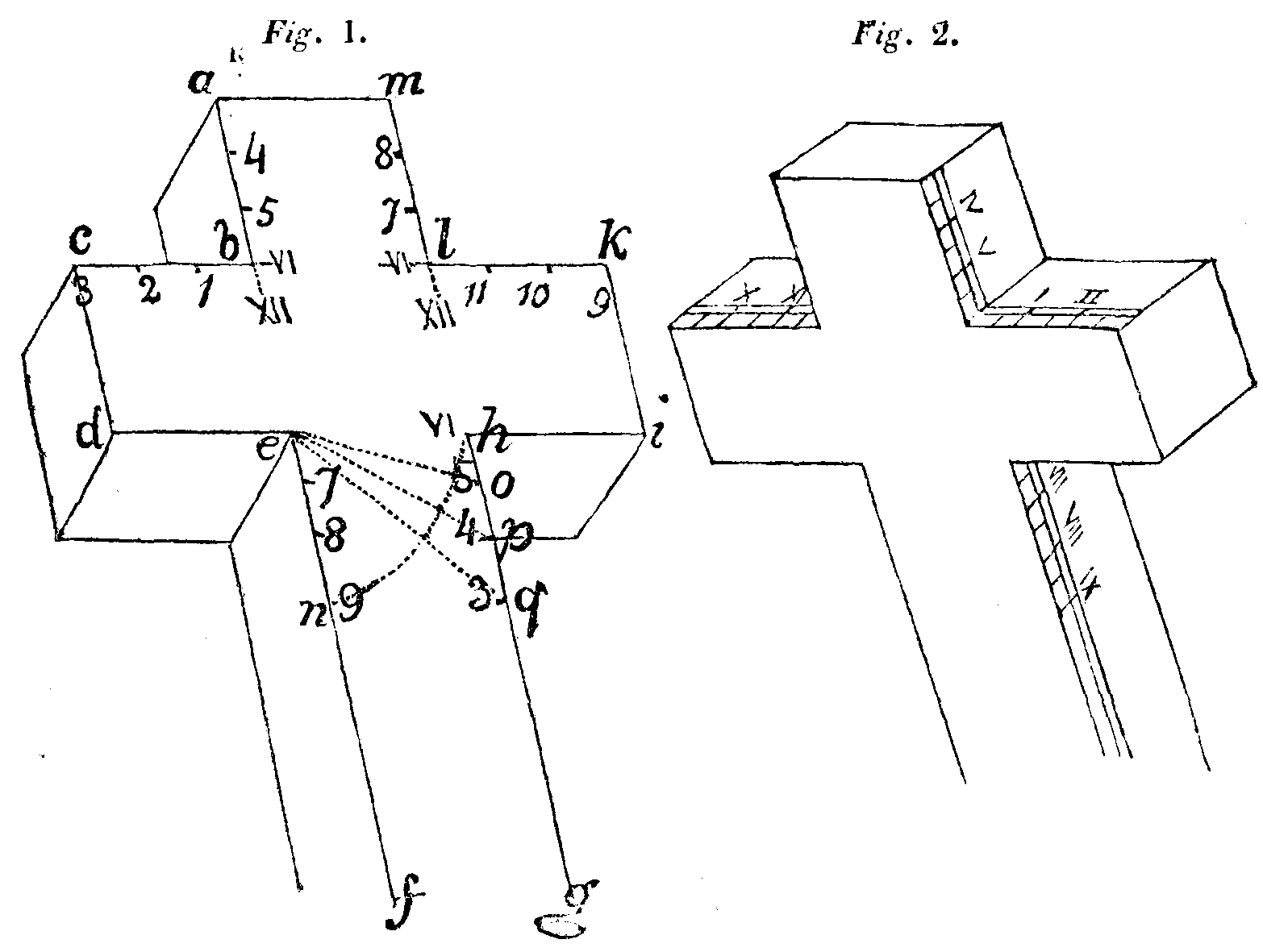
DIALLING.

DIALLING.

(For the Mirror.)

The following method of constructing a dial, may be novel and interesting to many of those readers of the Mirror who are fond of that ancient art; whilst its simplicity and the great ease with which it may be constructed, will render it acceptable to all.

To make a Cross Dial.—A cross dial is one which shows the time of the day without a gnomon, by a shadow of one part of the dial itself, appearing upon another part thereof. Observe.—In making this dial you need have no regard to the latitude of the situation, for that is to be considered in the placing, and not in the making of it. 1st. Prepare a piece of wood or stone of what size you please, and fashion it in the form of a cross (see fig. 1) so that ab, bc, cd, de, eh, hi, ik, kl, lm, and ma, may be all equal: the length of ef is immaterial, it may be more than double to a e. 2ndly. Set one foot of your compasses in e and describe the arc h n, which divide into six equal parts for six hours, because it is a quarter of a circle; lay a ruler from e to the three first divisions, and draw the lines e o, e p, e q. 3rdly. Now the position of this dial being such that its end a m must face the south, and the upper part of it or the line a f lying parallel to the equinoctial, it is evident that the sun at noon will shine just along the line a b, and m l; therefore you must place 12 at b and l, then from 12 to 3 P.M. the shadow of the corner a will pass along the line b c, therefore take from the quadrant h n, the distance h o, and set it from 12 to 1. Take also h p and set it from 12 to 2, h q being equal to b c; at c you may place 3 where the shadow of the corner a goes quite off the dial at c, or 3 o'clock in the afternoon; at this time the shadow of the corner i will appear on the side h g at q or 3 o'clock, where place the figure 3; the shadow will then ascend to p at 4, to o at 5; at 6 there will be no shadow, the sun shining right along the line i h; place a VI also at the corner l, because it also shines along the line l k, and from 6 till 9, (if it be in a latitude where the sun continues up so late) the shadow of the corner at k is passing along the line l m: therefore take the distances h o, &c., and set off from 6 to 7 and from 6 to 8, as before at 12, 1, and 2. Then for the morning hours, the shadow of the corner c will enter upon the line a b at the point a, just at 3 o'clock in the morning, and if you draw lines from 7 and 8 parallel to a m, their terminations will point out 4 and 5. Six o'clock is in the very corner opposite to 6 in the evening. Parallel lines below the transverse piece drawn from 5, 4, 3, will indicate the proper places for 7, 8, 9. It then remains to set off the same dis[pg 393]tances as before on line l k on which the shadow of m will point out 11, 10, and 9 o'clock; the dial will then be finished.

Observe. These dials require considerable thickness (let it be equal to a m,) because being placed parallel to the equator, the sun shines upon the upper face till the summer, and on the longest day is elevated 23° 29' above the plane of the dial, and consequently the shadow of a will fall at noon in the line a b, not in the point b, but at an angle of 23° 29' therewith, and on the shortest day the like angle will be formed, but in an opposite direction. It must further be observed that after the proper points are determined on the plane, they had better be transferred to the sides of the cross, as is shown in fig. 2, for there it is the shadow will be seen to pass. A dial thus formed is universal; when made according to the foregoing directions there is nothing more to do but to fix it by the help of your quadrant to the elevation of the equinoctial or complement of the latitude of your habitation, and so that the side a m may exactly face the south. A dial of this sort has been standing in my garden, more than 12 months, and is found to answer the purpose well, being both useful and ornamental.

When the figures are painted on the thickness as in fig. 2, the upper surface being unoccupied, an equinoctial dial may be described thereon, which will be useful the summer half year, while on the lower surface a similar one may be placed for the winter half; or it may be made the bearer of some useful lesson, in the form of a motto, e.g. "Disce dies numerare tuos." But this is only a hint to the curious.

COLBOURNE.

Sturminster Newton, Dorset.


The Selector

AND LITERARY NOTICES OF NEW WORKS.


ATHERTON,

By the author of Rank and Talent.

This tale bids fair to enjoy more lasting popularity than either of the author's previous works. It has more story and incident, though not enough for the novel. The characters, if not new, are more strongly drawn—their colouring is finer—their humour is richer and broader, and as they are from the last century, so their drawing reminds us forcibly of the writers of the same period. There is none of the mawkish affectation of the writing of the present day, as coinage of words and fantasies of phrases which will scarcely be understood, much less relished, twenty years hence. But the style throughout is plain, sensible, and natural, free from caricature, and more that of the world than of the book.

The plot is of the tale or adventure description; certainly not new, but its interest turns upon points which will never cease to attract a reader. We do not enter into it, but prefer taking a few of the characters to show the rank of life as well as the style of the materials. The first is a portrait of a London citizen sixty years since:—

At the Pewter Platter there were two arm chairs, one near the door and the other near the window, and both close by the fire, which were invariably occupied by the same gentlemen. One of these was Mr. Bryant, citizen and stationer, but not bookseller, save that he sold bibles, prayer-books and almanacks; for he seriously considered that the armorial bearings of the Stationers' Company displaying three books between a chevron, or something of that kind, for he was not a dab at heraldry, mystically and gravely set forth that no good citizen had occasion for more than three books, viz. bible, prayer-book and almanack. Mr. Bryant was a bachelor of some sixty years old or thereabouts. He had a snug little business though but a small establishment; for it was his maxim not to keep more cats than would catch mice. His establishment consisted of only two individuals; a housekeeper and an apprentice. His housekeeper was one Mrs. Dickinson, a staid, sober, matronly looking personage, who tried very hard, but not very successfully, to pass for about forty years of age; the good woman, though called Mrs. Dickinson, was a spinster, and according to her own account was of a good family, for her great uncle was a clergyman. She was remarkable for the neatness of her dress, for the fineness of her muslin aprons, and the accurate arrangement of her plaited caps. In one respect Mr. Bryant thought that she carried her love of dress too far, for she would always wear a hoop when her day's work was done. Mr. Bryant's apprentice, who was at the period of which we are writing, nearly out of his time, was a high spirited young man, whom neither Mr. Bryant nor Mrs. Dickinson could keep in any tolerable order. So far from confining his reading to bibles, prayer-books, and almanacks, he would devour with the utmost eagerness, whenever he could lay his [pg 394]hands upon them, novels, plays, poems, romances, and political pamphlets; he was a constant frequenter of the theatres, sometimes with leave and sometimes without, for Mr. Bryant was almost afraid of him; and to crown the matter he was a most outrageous Wilkite.

Mr. Bryant himself was a neat, quiet, orderly sort of a man, regular as clockwork, and steady as time, the very pink of punctuality and the essence of exactness. He had been in business nearly forty years, in the same shop, conducted precisely in the same style as in the days of his predecessors; he lacked not store of clothes or change of wigs, but his clothes and wigs and three cornered hats were so like each other, that they seemed, as it were, part of himself. His wig was brown, so were his coat and waistcoat, which were nearly of equal length. He wore short black breeches with paste buckles, speckled worsted hose and very large shoes with very large silver buckles. He was most intensely and entirely a citizen. He loved the city with an undivided attachment. He loved the sound of its bells, and the noise of its carts and coaches; he loved the colour of its mud and the canopy of its smoke; he loved its November fogs, and enjoyed the music of its street musicians and its itinerant merchants; he loved all its institutions civil and religious; he thought there was wisdom in them if there was wisdom in nothing else; he loved the church and he loved the steeple, and the parson who did the duty and the parson who did not do the duty; and he loved the clerk and the sexton and the parish beadle with his broad gold-laced hat, and cane of striking authority; and he loved the watchmen and their drowsy drawl of "past umph a' clock;" he loved the charity schools and admired beyond all the sculpture of Phidias, or the marble miracles of the Parthenon, the two full-length statues about three feet each in length and two feet six inches each in breadth, representing a charity boy and a charity girl, standing over the door of the parish school; he loved the city companies, their halls, their balls, though he never danced at them, their dinners, for he never missed them; and above all other companies he loved the stationers', and its handsome barge, and its glorious monopoly of almanacks; he loved the Lord Mayor and the Mansion-house,—it was not quite so black then, as it is now,—and he loved the great lumbering state coach and the little gingerbread sheriffs' coaches, and loved the aldermen, and deputies and common-councilmen and liverymen. Out of London he knew nothing;—he believed that the Thames ran into the sea, because he had read at school, that all rivers run into the sea, but what the sea was he did not know and did not care; he believed that there were regions beyond Highgate, and that the earth was habitable farther westward than Hyde Park corner; but he had never explored those remote districts. What was Hammersmith to him or he to Hammersmith? He knew of nothing, thought of nothing, and could conceive of nothing more honourable, more dignified, or more desirable than a good business properly attended to. He was proud of the close and personal attention that he paid to his shop,—somewhat censoriously proud; he might be called a mercantile prude; or shopkeeping pedant; and when a near neighbour who had a country house at Kentish-town, to which he went down every Saturday, and from which he returned every Monday or Tuesday, came by a variety of unavoidable, or unavoided misfortunes to make his appearance in the Gazette, with a "Whereas" prefixed to his name, Mr. Bryant rather uncandidly chuckled and said, "I don't wonder at it. I thought it would end in that. That comes from leaving things to boys."

Much as Mr. Bryant venerated the city, and all the city institutions, yet he was by no means ambitious of its honours. His motives of abstinence were of a mixed nature. He had fears that the dignity of common-councilman, which he had occasionally been invited to aspire to, might interfere with his domestic comforts and put Mrs. Dickinson out of her way; and he had some slight apprehensions that he might not be successful if he should make the attempt; and then as in the course of his life he had seen many promoted to that honour, whom he had once known as children and apprentices, and whom he still regarded as boys, though some of them were upwards of thirty years old, he affected to make light of a dignity that had become so cheap.

Mr. Bryant was considered by the frequenters of the Pewter Platter as a man of substance, and being some years older than most of the visitors at that house, and having been accustomed to the house for more years than any other of the party, the arm-chair, at what was called the upper side of the fire-place, was invariably reserved for him, and the other arm chair was most frequently occupied by the Rev. Simon Plush. This reverend gentleman was a specimen [pg 395]of a class of clergy now happily extinct, and never it is to be hoped for the honour of the church, likely to be revived. He was a tall, muscular, awkward man, about fifty years of age; habited in a rusty grey coat, with waistcoat and breeches of greasy black, wearing a grizzled wig that had shrunk from his forehead, which in its broad expanse of shining whiteness, formed a contrast with a fiery hooked nose with aldermanic decorations. His gait was shuffling and awkward, and all his carriage was that of a man who was a sloven in everything; he was slovenly in his dress, slovenly in his behaviour, slovenly in mind. He had been a servitor at Oxford, where it can hardly be said that he had received his education, for though an education had been offered to him both at school and at Oxford, he had, in both instances, declined the offer, guessing, perhaps, that with such a mind as his, the acquisition of mental furniture would be but labour lost. By the tender mercy however, or by the culpable negligence of college dignitaries and examining chaplains, he had found his way into the clerical profession, and had undergone the imposition of episcopal hands, which was rather an imposition on the public than on him. Yet he lacked not talent of some kind; he was a good hand at whist, excellent at cudgel playing, dexterous on the bowling-green, capital at quoits, unparalleled at rowing a skiff, could play well at nine-pins, could run, hop, skip, jump or whistle with any man of his years, not ignorant of the science of self-defence, and when rudely or ruffianly insulted, could repay the indignity, with interest, at a moment's notice; his lungs were vigorous, he could blow the French horn with most poetic and potential blast, and with no mean degree of skill, and as for preaching he made nothing of it; it used to be said that, with the assistance of a dexterous parish clerk, he could get through the whole morning service, sermon and all, in five and thirty minutes; he was no spoil-pudding except where he dined. With all these talents, however, he had no preferment in the church, nor even a curacy; but he had plenty of duty to do of one kind or another, and as all his work was piece-work, he got through it with as much rapidity as possible. He was in almost constant requisition, and could be found any morning at the Chapter Coffee House, or any evening at the Pewter Platter, except Sunday, and he usually spent his Sunday evenings at Mr. Bryant's. Mr. Plush was one who prudently avoided meddling with politics, "For who knows," said he, "but that it may some day or other cost me a dinner?" He was for the most part tolerably loyal, but democratic beef would not choke him. To crown the whole, he was imperturbably good-natured.

Early in the first volume we are introduced to Wilkes and Doctor Johnson: this is rather a hazardous experiment of the author, but is executed with success. Atherton, the hero, is then a city apprentice. These were the days of Wilkes and Liberty, and Atherton, through his protracted attachment to the cause, is locked out by his master, John Bryant.


As Atherton stood absorbed in thought at the eastern side of Temple Bar, he was wakened from his reverie by two gentlemen coming through the gate and talking somewhat loudly. One of them was a ponderous, burly figure of rolling and shuffling gait puffing like a grampus, and at his side staggered or skipped along a younger, slenderer person, who hung swingingly and uncertainly on the arm of his elderly companion. The older of the two was growling out something of a reproof to his unsteady companion, who flourished his arm as with the action of an orator and hiccupped according to the best of his then ability something like apology or vindication. The effect of this action was to throw him off his balance, to unlock his arm from his more steady supporter and to send himself with a hopping reel off the pavement. To a dead certainty he would have deposited his unsober self in the kennel had he not been kindly and vigorously intercepted in his fall by the ready assistance of Frank Atherton. At the ludicrous figure which his staggering friend now made the older gentleman burst into a roar of laughter which might have been heard from Charing Cross to St. Paul's; but suddenly checking himself he mournfully shook his head saying, "Oh Bozzy, Bozzy, this is too bad."

Frank, having no other occupation, was ready enough to offer his assistance towards guiding and propping the intoxicated gentleman; for it seemed to be a task rather too hard for the sober one to manage by himself.

"I am sorry to take you out of your way;" said the old gentleman to Atherton.

"You cannot easily do that," replied Frank, "I have no particular destination at present. My way lies in one direction as well as in another."[pg 396]

"Do I understand you rightly?" asked the stranger, "Are you indeed a houseless, homeless wanderer."

"I cannot justly call myself a homeless wanderer," said Frank, "but my master has just now closed his doors on me and I have no other home at present than the streets."

"'Tis bad, 'tis bad," said the gentleman, "you or your master has much to answer for. But I'll take care you shall not want a shelter for the present. I will not have upon my conscience the guilt of suffering you to roam about the streets all night, if I can prevent it."

Frank was of a grateful disposition, and was so much struck with the considerate kindness of the old gentleman that he ardently exclaimed, "Sir, I shall be infinitely obliged to you."

"Nay, nay," replied the stranger, "you speak profanely. You cannot be infinitely obliged to any man."

The party then entered a house in one of the courts of Fleet street and Frank felt happy in having met with one likely to befriend him. For though the gentleman was rather pompous in his manners and somewhat awful in his aspect, yet there was a look of kindness about him and an expression of humanity and consideration in his countenance. When the intoxicated gentleman had been seated for a few minutes, his faculties partially returned and looking, or rather endeavouring to look upon Atherton, for his eye was not steady enough to take a good aim, he said: "Young gentleman, I am very highly obli—obli—obligat—"

"Obligated," roared the old gentleman, "you would say. But you had better hold your tongue. That is the best use you can make of it."

"Glorious! Capital! Ten thousand thanks for that superb aphorism. Doctor, you must recollect that for me to-morrow morning, and you must put it down for me in your best style." He then went on hiccuping and muttering—"The best use, hic, the best use, hic, I can make of my, hic, the tongue, hic, hold your tongue, hic, oh doctor hic, I shall never forget, hic, I hope you will remind me of it, hic, to-morrow morning."

The old gentleman shook his head and sighed; the tipsy orator proceeded, and directing his speech to Atherton he managed to say, with many interruptions, "Young gentleman, you may think yourself happy in having thus accidentally as it were, for it was all by pure accident, been introduced to the great Dr. Johnson. And if you need any advice or direction, you are now at the fountain head of all practical wisdom. My friend's comprehensive genius takes in all subjects from the government of empires to the construction of an apple dumpling. Follow his advice and you cannot do wrong, neglect it and you cannot do right.—Is not that well said, Doctor?—Rather tersely put?"

"Go to sleep, Bozzy," said the doctor, "you don't know what you are talking about, go to sleep."

"But I know what you have been talking about. My ears are always awake to your wisdom, when all my other senses are asleep. We have had a glorious day of it, Doctor, you routed them all, they had not a word to say for themselves."

"I wish it were so with you," replied the Doctor.

"Good again! Put that down;" said Mr. Boswell, and then turning to Atherton, he continued, "You see how free I am with my illustrious friend."

"Be quiet, Bozzy," said the doctor again.

"Well, well I may go to sleep contentedly to-night, for I have not lost a day. I shall record it all to-morrow, and that fine glorious laugh which you uttered as we came through Temple Bar; I shall never forget the awful reverberation. There is not a man in Europe whose laugh can be compared with yours.—I shall never forget it;—pray remind me of it to-morrow morning,—I shall never, never forget it, never nev—nev." So saying he fell fast asleep.


We like this portrait-painting turn of the author. Its identity is very entertaining, and is very superior in interest to the satirical nommes in the fashionable novels of our day.


SPIRIT OF THE

Public Journals.


LINES ON THE VIEW FROM ST. LEONARD'S.

BY THOMAS CAMPBELL.

Hail to thy face and odours, glorious Sea!

'Twere thanklessness in me to bless thee not,

Great beauteous Being! in whose breath and smile

My heart beats calmer, and my very mind

Inhales salubrious thoughts. How welcomer

Thy murmurs than the murmurs of the world!

Though like the world thou fluctuatest, thy din

To me is peace—thy restlessness repose.

E'en gladly I exchange your spring-green lanes

With all the darling field-flowers in their prime,

And gardens haunted by the nightingale's

Long trills and gushing ecstacies of song

For these wild headlands and the sea mew's clang—

With thee beneath my window, pleasant Sea,

[pg 397]

I long not to o'erlook Earth's fairest glades

And green savannahs—Earth has not a plain

So boundless or so beautiful as thine;

The eagle's vision cannot take it in.

The lightning's wing, too weak to sweep its space,

Sinks half way o'er it like a wearied bird;—

It is the mirror of the stars, where all

Their host within the concave firmament,

Gay marching to the music of the spheres,

Can see themselves at once—


Nor on the stage

Of rural landscape are their lights and shades

Of more harmonious dance and play than thine.

How vividly this moment brightens forth,

Between grey parallel and leaden breadths,

A belt of hues that stripes thee many a league,

Flush'd like the rainbow or the ringdove's neck,

And giving to the glancing sea-bird's wing

The semblance of a meteor.


Mighty Sea!

Cameleon-like thou changest, but there's love

In all thy change, and constant sympathy

With yonder Sky—thy mistress; from her brow

Thou tak'st thy moods and wear'st her colours on

Thy faithful bosom; morning's milky white,

Noon's sapphire, or the saffron glow of eve;

And all thy balmier hours' fair Element,

Have such divine complexion—crisped smiles,

Luxuriant heavings, and sweet whisperings,

That little is the wonder Love's own Queen

From thee of old was fabled to have sprung—


Creation's common! which no human power

Can parcel or inclose; the lordliest floods

And cataracts that the tiny hands of man

Can tame, conduct, or bound, are drops of dew

To thee that could'st subdue the Earth itself,

And brook'st commandment from the Heavens alone

For marshalling thy waves—


Yet, potent Sea!

How placidly thy moist lips speak e'en now

Along yon sparkling shingles. Who can be

So fanciless as to feel no gratitude

That power and grandeur can be so serene,

Soothing the home-bound navy's peaceful way.

And rocking e'en the fisher's little bark

As gently as a mother rocks her child?—


The inhabitants of other worlds behold

Our orb more lucid for thy spacious share

On earth's rotundity; and is he not

A blind worm in the dust, great Deep, the man

Who sees not, or who seeing has no joy,

In thy magnificence? What though thou art

Unconscious and material, thou canst reach

The inmost immaterial mind's recess,

And with thy tints and motion stir its chords

To music, like the light on Memnon's lyre!


The Spirit of the Universe in thee

Is visible; thou hast in thee the life—

The eternal, graceful, and majestic life—

Of nature, and the natural human heart

Is therefore bound to thee with holy love.


Earth has her gorgeous towns; the earth-circling sea

Has spires and mansions more amusive still—

Men's volant homes that measure liquid space

On wheel or wing. The chariot of the land,

With pain'd and panting steeds, and clouds of dust,

Has no sight-gladdening motion like these fair

Careerers with the foam beneath their bows,

Whose streaming ensigns charm the waves by day,

Whose carols and whose watch-bells cheer the night,

Moor'd as they cast the shadows of their masts

In long array, or hither flit and yond

Mysteriously with slow and crossing lights,

Like spirits on the darkness of the deep.


There is a magnet-like attraction in

These waters to the imaginative power,

That links the viewless with the visible,

And pictures things unseen. To realms beyond

Yon highway of the world my fancy flies,

When by her tall and triple mast we know

Some noble voyager that has to woo

The trade-winds, and to stem the ecliptic surge.

The coral groves—the shores of conch and pearl,

Where she will cast her anchor, and reflect

Her cabin-window lights on warmer waves,

And under planets brighter than our own:

The nights of palmy isles, that she will see

Lit boundless by the fire fly—all the smells

Of tropic fruits that will regale her—all

The pomp of nature, and the inspiriting

Varieties of life she has to greet,

Come swarming o'er the meditative mind.


True, to the dream of Fancy, Ocean has

His darker hints; but where's the element

That chequers not its usefulness to man

With casual terror? Scathes not earth sometimes

Her children with Tartarean fires, or shakes

Their shrieking cities, and, with one last clang

Or hells for their own ruin, strews them flat

As riddled ashes—silent as the grave.

Walks not Contagion on the Air itself?

I should—old Ocean's Saturnalian days

And roaring nights of revelry and sport

With wreck and human woe—be loth to sing;

For they are few, and all their ills weigh light

Against his sacred usefulness, that bids

Our pensile globe revolve in purer air.

Here Morn and Eve with blushing thanks receive

Their fresh'ning dews, gay fluttering breezes cool

Their wings to fan the brow of fever'd climes,

And here the Spring dips down her emerald urn

For showers to glad the earth.


Old Ocean was

Infinity of ages ere we breathed

Existence—and he will be beautiful

When all the living world that sees him now

Shall roll unconscious dust around the sun.

Quelling from age to age the vital throb

In human hearts, Death shall not subjugate

The pulse that swells in his stupendous breast,

Or interdict his minstrelsy to sound

In thund'ring concert with the quiring winds;

But long as Man to parent Nature owns

Instinctive homage, and in times beyond

The power of thought to reach, bard after bard

Shall sing thy glory, BEATIFIC SEA!

Metropolitan.3


THE LATE MR. ABERNETHY.

Mr. Abernethy, although amiable and good-natured, with strong feelings, possessed an irritable temper, which made him very petulant and impatient at times with his patients and medical men who applied to him for his opinion and advice on cases. When one of the latter asked him once, whether he did not think that some plan which he suggested would answer, the only reply he could obtain was, "Ay, ay, put a little salt on a bird's tail, and you'll be sure to catch him." When consulted on a case by the ordinary medical attendant, he would frequently pace the room to and fro with his hands in his breeches' pockets, and whistle all the time, and not say a word, but to tell the practitioner to go home and read his book. "Read my book" [pg 398]was a very frequent reply to his patients also; and he could seldom be prevailed upon to prescribe or give an opinion, if the case was one which appeared to depend upon improper dieting. A country farmer, of immense weight, came from a distance to consult him, and having given an account of his daily meals, which showed no small degree of addiction to animal food, Mr. Abernethy said, "Go away, sir, I won't attempt to prescribe for such a hog."

He was particular in not being disturbed during meals; and a gentleman having called after dinner, he went into the passage, put his hand upon the gentleman's shoulders, and turned him out of doors. He would never permit his patients to talk to him much, and often not at all: and he desired them to hold their tongues and listen to him, while he gave a sort of clinical lecture upon the subject of the consultation. A loquacious lady having called to consult him, he could not succeed in silencing her without resorting to the following expedient:—"Put out your tongue, madam." The lady complied. "Now keep it there till I have done talking." Another lady brought her daughter to him one day, but he refused to hear her or to prescribe, advising her to make the girl take exercise. When the guinea was put into his hand, he recalled the mother, and said, "Here, take the shilling back, and buy a skipping-rope for your daughter as you go along."—He kept his pills in a bag, and used to dole them out to his patients; and on doing so to a lady who stepped out of a coronetted carriage to consult him, she declared they made her sick, and she could never take a pill. "Not take a pill! what a fool you must be," was the courteous and conciliatory reply to the countess. When the late Duke of York consulted him, he stood whistling with his hands in his pockets; and the duke said, "I suppose you know who I am." The uncourtly reply was, "Suppose I do, what of that?" His pithy advice was, "Cut off the supplies, as the Duke of Wellington did in his campaigns, and the enemy will leave the citadel." When he was consulted for lameness following disease or accidents, he seldom either listened to the patient or made any inquiries, but would walk about the room, imitating the gait peculiar to different injuries, for the general instruction of the patient. A gentleman consulted him for an ulcerated throat, and, on asking him to look into it, he swore at him, and demanded how he dared to suppose that he would allow him to blow his stinking foul breath in his face! A gentleman who could not succeed in making Mr. Abernethy listen to a narration of his case, and having had a violent altercation with him on the subject, called next day, and as soon as he was admitted, he locked the door, and put the key into his pocket, and took out a loaded pistol. The professor, alarmed, asked if he meant to rob or murder him. The patient, however, said he merely wished him to listen to his case, which he had better submit to, or he would keep him a prisoner till he chose to relent. The patient and the surgeon afterwards became most friendly towards each other, although a great many oaths passed before peace was established between them.

This eccentricity of manner lasted through life, and lost Mr. Abernethy several thousands a year perhaps. But those who knew him were fully aware that it was characteristic of a little impatient feeling, which only required management; and the apothecaries who took patients to consult him, were in the habit of cautioning them against telling long stories of their complaints. An old lady, who was naturally inclined to be prosy, once sent for him, and began by saying that her complaints commenced when she was three years old, and wished him to listen to the detail of them from that early period. The professor, however, rose abruptly and left the house, telling the old lady to read his book, page so and so, and there she would find directions for old ladies to manage their health.

It must be confessed, Mr. Abernethy, although a gentleman in appearance, manner, and education, sometimes wanted that courtesy and worldly deportment which is considered so essential to the medical practitioner. He possessed none of the "suaviter in modo," but much of the eccentricity of a man of genius, which he undoubtedly was. His writings must always be read by the profession to which he belonged with advantage; although, in his great work upon his hobby, his theory is perhaps pushed to a greater extent than is admissible in practice.—His rules for dieting and general living should be read universally; for they are assuredly calculated to prolong life and secure health, although few perhaps would be disposed to comply with them rigidly. When some one observed to Mr. Abernethy himself, that he appeared to live much like other people, and by no means to be bound by his own rules, the professor replied, that he wished to act according to his own precepts,[pg 399] but he had "such a devil of an appetite," that he could not do so.

Mr. Abernethy had a great aversion to any hint being thrown out that he cured a patient of complaint. Whenever an observation to this effect was made, he would say, "I never cured any body." The meaning of this is perfectly obvious. His system was extremely wise and rational, although, as he expressed himself to ignorant persons, it was not calculated to excite confidence. He despised all the humbug of the profession, and its arts to deceive and mislead patients and their friends, and always told the plain truth without reserve. He knew that the term cure is inapplicable, and only fit to be used by quacks, who gain their livelihood by what they call cures, which they promise the patient to effect. Mr. Abernethy felt that nature was only to be seconded in her efforts, by an art which is derived from scientific principles and knowledge, and that it is not the physician or surgeon who cures, but nature, whom the practitioner assists by art. Weak-minded persons are apt to run after cures, and thus nostrums and quacks are in vogue, as if the living human system was as immutable in its properties as a piece of machinery, and could be remedied when it went wrong as the watchmaker repairs the watch with certainty, or the coachmaker mends the coach. No one appreciated more highly the value of medicine as a science than Mr. Abernethy; but he knew that it depended upon observation and a deep knowledge of the laws and phenomena of vital action, and that it was not a mere affair of guess and hazard in its application, nor of a certain tendency as to its effects.

This disposition of mind led the philosopher to disregard prescribing for his patients frequently, as he had less faith in the prescription than in the general system to be adopted by the patient in his habits and diet. He has been known accordingly, when asked if he did not intend to prescribe, to disappoint the patient by saying, "Oh, if you wish it, I'll prescribe for you, certainly." Instead of asking a number of questions, us to symptoms, &c., he usually contented himself with a general dissertation, or lecture and advice as to the management of the constitution, to which local treatment was always a secondary consideration with him altogether.

When patients related long accounts of their sufferings, and expected the healing remedy perhaps, without contemplating any personal sacrifices of their indulgences, or alteration of favourite habits, he often cut short their narratives by putting his fore-finger on the pit of their stomachs, and observing, "It's all there, sir;" and the never-failing pill and draught, with rigid restrictions as to diet, and injunctions as to exercise, invariably followed, although perhaps rarely attended to; for persons in general would rather submit to even nauseous medicine than abandon sensual gratifications, or diminish their worldly pleasures and pursuits.—Metropolitan.


The Gatherer.

A snapper up of unconsidered trifles.

SHAKSPEARE


REMARKABLE JURY AT HUNTINGDON.

In the 16th century, when figure and fortune, or quality and wealth, were more considered than wisdom or probity, or justice and equity, in our courts of law, Judge Doddridge took upon him to reprimand the sheriff of the county of Huntingdon, for impanneling a grand jury of freeholders who were not, in his opinion, men of figure and fortune. The sheriff, who was a man of sense, and of wit and humour, resolved at the next assizes to try how far sounds would work upon that judge, and gain his approbation. He presented him with the following pannel, which had the desired effect, for when the names were read over emphatically, the judge thought that he had now indeed a jury of figure and fortune:—

A true copy of a Jury taken before Judge Doddridge, at the Assizes holden at Huntingdon, July, 1619.

MaximilianKing—of Torland.
HenryPrince—of Godmanchester.
GeorgeDuke—of Somersham.
WilliamMarquess—of Stukely.
EdmundEarl—of Hartford.
RichardBaron—of Bythorpe.
StephenPope—of Newton.
StephenCardinal—of Kimbolton.
HumphryBishop—of Bugden.
RobertLord—of Worsley.
RobertKnight—of Winwinck.
WilliamAbbot—of Stukely.
RobertBaron—of St. Neot's.
WilliamDean—of Old Weston.
JohnArchdeacon—of Paxton.
PeterSquire—of Easton.
EdwardFriar—of Ellerton.
HenryMonk—of Stukely.
GeorgeGentleman—of Spaldock.
GeorgePriest—of Graffham.
RichardDeacon—of Catsworth.
ThomasYeoman—of Barham.

G.K.

[pg 400]

THE NEW PARLIAMENT "DISHED."

(For the Mirror.)

An astounding announcement, but an incontrovertible fact, as shown by the following festive arrangements, made wholly from names of members returned forming the new legislature.

At the head of the table will be found, in A' Court Style, a Blunt, Harty, King, dressed in Green and Scarlett, seated on a Lion—supported on the right by three Thynne Fellows and two Bastard Knights, Baring a Shiel; and on the left by a Sadler, seven Smiths, and the Taylor "wot" Mangles with his Bodkin. The bottom, it is understood, will be graced by a Mandeville on a Ramsbottom, with a White Rose at each elbow, and a Forrester and Carter on one side, and a Constable and Clerk on the other. The sides will contain a Host of unknown Folks.

Lamb, dressed by an English Cooke, will be one of the principal joints; and birds being scarce this season, there will only be a Heron, two Martins, a couple of Young Drakes, and a Wild Croaker. There will, however, be an immense Lott of French Currie, and the Best Boyle Rice. Fruit being yet unripe, there will consequently only be some Peach and Lemon Peel.

The whole will be got up at a great Price; but in order to go a Pennefather, the amusements of the evening are to be further promoted by the performance of Dick Strutt, the celebrated Millbank Ryder, who will Mount a Hill, and afterwards, while swallowing a Long Pole, blow a Horn fantasie through his nose without Pain, and then Skipwith a live Buck and two Foxes—concluding with a description of his late two Miles Hunt in three Woods.

Among the splendid pictures decorating the walls, are some views along the Surry Banks and of the Bridges.

On the whole, some warm work is anticipated, from there being a supply of both Coke and Cole; but as to who will Wynne, remains to be seen.

Walworth.

G.W.


EPITAPHS.

On Ann Jennings, at Wolstanton.

Some have children, some have none;

Here lies the mother of twenty-one.

On Du Bois, born in a baggage-wagon, and killed in a duel.

Begot in a cart, in a cart first drew breath,

Carte and tierce was his life, and a carte was his death.

On a Publican.

A jolly landlord once was I,

And kept the Old King's Head hard by,

Sold mead and gin, cider and beer,

And eke all other kinds of cheer,

Till Death my license took away,

And put me in this house of clay:

A house at which you all must call,

Sooner or later, great and small.

On John Underwood.

Oh cruel Death, that dost no good,

With thy destructive maggots;

Now thou hast cropt our Underwood,

What shall we do for fagots?

In Dorchester Churchyard.

Frank from his Betty snatch'd by Fate,

Shows how uncertain is our state;

He smiled at morn, at noon lay dead—

Flung from a horse that kick'd his head.

But tho' he's gone, from tears refrain,

At judgment he'll get up again.


EPITAPHS IN BROMSGROVE CHURCHYARD.

In memory of Thomas Maningly, who died 3rd of May, 1819, aged 28 years.

Beneath this stone lies the remains,

Who in Bromsgrove-street was slain;

A currier with his knife did the deed,

And left me in the street to bleed;

But when archangel's trump shall sound,

And souls to bodies join, that murderer

I hope will see my soul in heaven shine.

Edward Hill, died 1st of January, 1800, aged 70.

He now in silence here remains,

(Who fought with Wolf on Abraham's plains);

E'en so will Mary Hill, his wife,

When God shall please to take her life.

'Twas Edward Hill, their only son,

Who caused the writing on this stone.


We perceive that Mr. Murray has advertised the second edition of Sir Humphry Davy's Salmonia, with the following opinion quoted from the Gentleman's Magazine: "One of the most delightful labours of leisure ever seen—not a few of the most beautiful phenomena of nature are here lucidly explained." Now, these identical words occur in our Memoir of Sir H. Davy prefixed to vol. xiii. of The Mirror, and published in July, 1829. A Memoir of Sir Humphry Davy appeared subsequently in the Gentleman's Magazine of the same year, in which the editor has most unceremoniously borrowed the original portion of our Memoir (among which is that quoted above), without a single line of acknowledgment. He has, too, printed this matter in his largest type, while we were content to write and sell the whole Memoir and Portrait at our usual cheap rate.


Footnote 1: (return)

We quote these passages from an excellent description of Virginia Water, in the Third Series of the London Magazine, and, for the most part quoted in vol. xii. of The Mirror. The reader should turn to these pages.

Footnote 2: (return)

The epithet bald, applied to this species, whose head is thickly covered with feathers, is equally improper and absurd with the titles goatsucker, kingsfisher, &c. bestowed on others, and seems to have been occasioned by the white appearance of the head, when contrasted with, the dark colour of the rest of the plumage. The appellation, however, being now almost universal, is retained in the following pages.

Footnote 3: (return)

With such a poem as this, even occasionally, the Metropolitan must take high ground.


Printed and Published by J. LIMBIRD, 143, Strand, (near Somerset House,) London; sold by ERNEST FLEISCHER, 626, New Market, Leipsic; G.G. BENNIS, 55, Rue Neuve, St. Augustin, Paris; and by all Newsmen and Booksellers.