The Project Gutenberg eBook of Essex Terraplane Six 1933 Owner's Manual of Information

This ebook is for the use of anyone anywhere in the United States and most other parts of the world at no cost and with almost no restrictions whatsoever. You may copy it, give it away or re-use it under the terms of the Project Gutenberg License included with this ebook or online at www.moredirect.org. If you are not located in the United States, you will have to check the laws of the country where you are located before using this eBook.

Title: Essex Terraplane Six 1933 Owner's Manual of Information

Author: Hudson Motor Car Company

Release date: October 27, 2011 [eBook #37863]
Most recently updated: January 8, 2021

Language: English

Credits: Produced by Gerard Arthus, Diane Monico, and the Online
Distributed Proofreading Team at https://www.pgdp.net

*** START OF THE PROJECT GUTENBERG EBOOK ESSEX TERRAPLANE SIX 1933 OWNER'S MANUAL OF INFORMATION ***

(cover)

ESSEX
TERRAPLANE
SIX

1933

Owner's Manual
of Information

Printed in U. S. A.


Warranty

"We warrant each new passenger automobile manufactured by us to be free from defects in material and workmanship under normal use and service, our obligation under this warranty being limited to making good at our factory any part or parts thereof, including all equipment or trade accessories (except tires) supplied by the Car Manufacturer, which shall, within ninety (90) days after making delivery of such vehicle to the original purchaser or before such vehicle has been driven 4000 miles, whichever event shall first occur, be returned to us with transportation charges prepaid, and which our examination shall disclose to our satisfaction to have been thus defective, this warranty being expressly in lieu of all other warranties expressed or implied and of all other obligations or liabilities on our part, and we neither assume nor authorize any other person to assume for us any other liability in connection with the sale of our vehicles.

"This warranty shall not apply to any vehicle which shall have been repaired or altered by other than an authorized Hudson and Essex Distributor or Dealer in any way so as, in the judgment of the Manufacturer, to affect its stability or reliability nor which has been subject to misuse, negligence or accident."

HUDSON MOTOR CAR COMPANY
Detroit, Michigan, U. S. A.


INDEX

General
 Page
Breaking-in Instructions,3
Capacities of Units,14
Care of Finish,15
Lamp Bulb Types,14
License Data,14
Starting the Engine,4
Warranty,1
Lubrication
Chassis,7
Clutch,5
Distributor,8
Door Dovetails,8
Door Locks and Hinges,8
Engine,5
Fan,8
Generator,7
Lubrication Service,15
Rear Axle,6
Steering Gear,7
Transmission,6
Wheel Bearings,6
Adjustment
Adjust Distributor Points,9
Battery,14
Brakes,11
Carburetor (See Engine Tuning),9
Clutch Pedal,11
Engine Tuning,9
Fan and Generator Belt,10
Front Wheel Alignment,15
Front Wheel Bearings,12
Generator Charging Rate,14
Ignition Timing,9
Radiator (Cooling System),15
Rear Wheel Bearings,12
Shock Absorbers,15
Spark Plugs,14
Spring Clips,15
Tappets,15
Tires,15
Wheels (Removal and Installation),12
Wiring Diagram,13

[Pg 3]

Operation

Breaking-in Instructions

Keep Radiator Full Keep Oil Reservoir Full

Heat is a major consideration in a new engine. Do not allow the engine to overheat. Although the heat indicator on the instrument panel shows the general temperature of the engine, it will not show a sudden rise in temperature of an individual part.

The pressure imposed on parts such as bearings and pistons due to rapid acceleration or hard pulling will cause them to overheat if the car has not been driven sufficiently to break them in. Avoid fast acceleration and hard pulling while breaking in.

High speed also develops higher operating temperatures and to avoid damage the car speed should be kept within the following recommendations:

0-250 MILES

Do not exceed 40 miles per hour in high gear or 20 miles per hour in second. Do not accelerate rapidly. Use second gear on steep grades. Keep motor temperature within "driving range" on dash heat indicator.

250-500 MILES

Do not exceed 50 miles per hour in high gear or 25 miles per hour in second.

500-1000 MILES

During this period the speed should not exceed 60 miles per hour.

IMPORTANT

Do not UNDER ANY CONSIDERATION attempt to maintain a high rate of speed unless the crankcase is full of good oil and until the engine is thoroughly warmed up. Cold oil is not able to flow freely into the small clearances between working parts so that damage may occur if sufficient time is not allowed for warming up before attempting high speeds.


[Pg 4]

(OIL SIGNAL, CLUTCH CONTROL, GENERATOR SIGNAL, STARTER, LIGHTS, IGNITION, CHOKE)

Starting the Engine

If the engine is cold, pull the choke knob out as far as possible, turn the ignition switch key to the right, depress the accelerator pedal slightly, and pull the starter knob out. When the engine "fires," push the choke knob in until the engine runs evenly. Return the choke knob gradually to the full in position as the engine warms up. The choke knob should never be out any farther than necessary to maintain even running of the engine.

If the engine is warm from previous running, use the choke sparingly. In most instances the engine will start immediately without the use of the choke if the accelerator pedal is held in a slightly depressed position while the starter is used. Do not under any circumstances work the accelerator pedal rapidly when starting as the accelerator pump may flood the carburetor.

Oil Signal—The red signal on the left hand indicates oil pressure and the functioning of the oiling system. It will glow when the ignition switch is turned on but will go out when the car is under way. Should it continue to burn or flash while the car is under way, it indicates that the oil supply is low or that the oiling system is not functioning properly. Do not run the engine until the oil supply has been replenished or trouble corrected.

Generator Signal—The red signal on the right hand will light when the ignition switch is turned on and will be lighted at all times unless the engine is running at higher than idling speed. Should this signal glow at normal running speeds, it indicates that the generator is not charging and should be inspected immediately by an Essex dealer.

[Pg 5]


Lubrication

Engine

Use High-Grade Oil—Medium Heavy Body (S.A.E. 30)

If cold weather prevails, be sure the oil you use will flow at the temperatures encountered. Oil supply should be maintained at the full mark on the bayonet gauge at the oil filler.

The frequency with which oil should be drained and replenished with new depends largely on the operation of the car. Consult your dealer for recommendations on your car. In any event the oil should be changed at least every 2500 miles.

Clutch

Use only a mixture composed of 1/2 kerosene and 1/2 engine oil. Turn starter shaft with wrench, moving wrench handle toward the engine until plug "A" is accessible through opening in rear engine plate. Remove plug "A," continue turning flywheel until opening is down and all clutch oil is drained. Then turn until opening is again accessible. Pour in by means of offset funnel no more than 1/3 pint of clutch mixture. Replace plug "A" and tighten securely. The clutch oil should be drained and replenished at least every 5000 miles.

The clutch throwout bearing should be lubricated with one ounce of light viscous grease[A] every 500 miles. A pressure fitting is provided on the right side of the clutch bell housing.

[A] See page 7 for grease specifications.

[Pg 6]

Transmission

The transmission lubricant should be maintained to the level of the filler plug "A." In warm climate or during summer months use transmission gear oil S.A.E. 110. In winter or when near-zero temperatures prevail use transmission gear oil S.A.E. 80. Remove drain plug "B" every 5000 miles, flush out with 1 pint of kerosene and refill with oil of proper type.

Rear Axle

The oil supply should be kept level with the lower edge of the filler plug opening "A." Use a good grade of heavy-bodied gear oil. S.A.E. 110 in warm climate (summer temperatures)—S.A.E. 90 when lower temperatures prevail (winter). During the winter months be sure the oil you are using will flow at the temperatures encountered.

Wheel Bearings

The front wheel bearings should be lubricated every 5000 miles with a good grade of cup grease. Remove hub and wash bearings and inside of hub with kerosene. Pack each bearing and hub with 3 ounces of No. 2 cup grease (see page 12 for adjusting wheel bearings).

The rear wheel bearings should be lubricated every 5000 miles with No. 3 cup grease. Remove four nuts from bearing cap "A" and remove caps and shims. Pull bearing and after washing bearing and housing in kerosene repack each bearing housing with 1-1/2 ounces of cup grease. Then replace bearings, shims and caps, draw up wheel hub tight on shaft and install cotter pin.

[Pg 7]

Steering Gear

Summer S.A.E. 160
Winter S.A.E. 110

Remove plug "A" and pour a good heavy-bodied gear oil into the steering gear housing every 2000 miles. Do not use cup grease or you will experience hard steering in cold weather.

Chassis

All spring shackle fittings (12) should be lubricated every 1000 miles with a light viscous grease.[B]

All pressure fittings on the front axle (4) and the steering gear drag link (2) should be lubricated every 1000 miles with pressure grease.

The front universal joint sleeve splines should be supplied with a small amount of long fibre grease, through the plug provided, at 4000-mile intervals.

[B] Grease Specifications—4% Calcium Soap compounded with an oil of 400 seconds viscosity and a zero pour test.

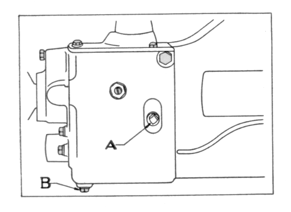
Generator

Supply three or four drops (no more) of engine oil to each oil cup "A" and "B" every 1000 miles. Do not attempt to supply more oil as it may interfere with the functioning of the generator.

[Pg 8]

Distributor

Fill distributor base with oil at cup "C" every 2000 miles. Coat rotor cam "A" with a thin film of vaseline every 2000 miles. Apply one drop (no more) of light oil to breaker arm pivot "B" every 2000 miles. Wipe excess oil and clean distributor head, removing oil or dust before returning to position. Be sure each high-tension terminal and wire on distributor head is pushed as far into its socket as it will go.

Fan

Fill fan shaft bearing with engine oil at oil cup "A" every 1000 miles. It is very important that the fan shaft has plenty of lubrication at all times.

Miscellaneous

Throttle Control Rod—Oil or grease all accelerator connections. Throttle linkage should work with a snap. Grease choke wire occasionally to eliminate sticking.

Door Locks—Apply a drop of engine oil occasionally to latch bar. Work several times to spread oil, then wipe off excess.

Door Latch Striker Plate—Saturate wick with motor oil.

Door Dovetails—Saturate wick in male member with motor oil.

Door Hinges—Open doors and drop light oil in each hinge oil hole, located under the top ledge of body portion of hinge. Wipe off excess.

Hood Locks—Lubricate occasionally with motor oil.

[Pg 9]


Adjustment

Engine Tuning

Do not attempt to adjust the carburetor alone. Perform all of the following operations in the order given:

1. Clean spark plugs and adjust gaps to .025" (.62 mm.).

2. Clean distributor breaker points and adjust to .020" (.50 mm.) maximum opening as described under Ignition Timing.

3. Check battery and ignition wiring, being sure all distributor wires are pressed down in their sockets.

4. Set ignition timing as described under Ignition Timing.

5. Adjust intake valve tappet clearance to .006" (.15 mm.) and exhaust tappet clearance to .008" (.20 mm.).

6. Turn carburetor idling screw "B" into its seat and back out exactly one turn.

7. Start engine.

8. Set carburetor throttle stop screw "A" so that engine idles at a speed equal to a car speed of 5 m.p.h. in high gear.

9. Adjust carburetor idling screw "B" for smooth engine idling. The final adjustment should be from 1/2 to 1 turn of the screw from its full in position.

If the above operations, properly performed, do not give normal engine performance, the car should be taken to an Essex dealer for mechanical inspection.

Ignition Timing

Remove distributor cap and inspect points. High points can be removed by placing a breaker point file between points and letting them close against file under their normal spring pressure.[Pg 10] Move file straight up and down, dressing both points at the same time. If the points are pitted, they should be ground or replaced.

Crank engine, using wrench on starter shaft extension, until the breaker arm fibre block is on the highest point of the cam, giving the points their maximum opening. If necessary to adjust, loosen lock nut "D" and turn screw "E" until the gap is .020" (.50 mm.). Tighten lock nut.

Remove the spark plug from number one cylinder. Crank the engine slowly by hand until air is forced out through the spark plug hole. Continue turning the engine slowly until the D.C. 1 and 6 mark is exactly in line with the pointer as shown at "A."

Loosen distributor clamp screw "B" and turn distributor clockwise to the full limit permitted by the slot in the clamping plate "C."

Turn the distributor counterclockwise until the points have just begun to open. Tighten lock screw "B."

When the engine is in this position the rotor arm "F" will point directly to the sector in the distributor cap to which number one spark plug cable is connected. Following around the cap clockwise from this point the spark plug wires should be in the following order: 1-5-3-6-2-4.

Fan and Generator Belt

The fan and generator drive belt must be kept at sufficient tension to prevent slippage on the pulleys. Do not adjust too tightly or rapid wear on fan and generator bearings will result. To adjust belt tension, loosen nut "A" and swing generator away from engine to tighten. Then lock adjustment by thoroughly tightening nut "A."

[Pg 11]

Clutch Pedal

The clutch rod length should be adjusted so that the clutch pedal can be pushed down 1-1/2" before the clearance is taken up between the levers on the clutch cross shaft and the clutch throwout yoke shaft and further movement of the clutch pedal will begin to disengage the clutch.

To adjust: Loosen lock nut "A," remove clevis pin "C" and turn yoke "B" to obtain proper length. Insert clevis pin and tighten lock nut "A."

Brakes

Unless you are an experienced mechanic, it is advisable to have your brakes adjusted by your Essex dealer. The following operation will, however, take care of normal brake shoe wear if done carefully:

Jack up car, remove all four wheels and remove the inspection covers from the front of the brake drums. Disconnect the four brake cables from the cross shaft; turn the brake drum until the inspection hole is 1-1/2" from the adjusting screw end of the lining of the upper shoe (rear of front brakes—front of rear brakes).

Insert a .014" (.35 mm.) feeler through the inspection hole. Loosen eccentric lock nut "A" and turn eccentric "B" in the direction the wheel rotates when the car is moving forward until the feeler is held snugly between the drum and the lining. Hold the eccentric in this position and tighten lock nut "A." Make this adjustment on all four brakes.

Turn brake drum until inspection hole is 1-1/2" from adjusting screw end of the lining of the lower shoe (rear of front brakes—front of rear brakes). Insert a .008" (.15 mm.) feeler through inspection hole. Insert a screwdriver through opening "C" and turn star wheel until feeler is held snugly. Move the handle of the screwdriver toward the axle to tighten brakes. Make this adjustment on all four wheels.

Reconnect the brake cables at the cross shaft, adjusting the position of the cable yoke so that the clevis pin can just be inserted in the yoke and cross shaft lever hole when the cable is held just taut enough to remove slack.

If trial on road shows too much braking on one wheel, loosen that brake by turning star wheel with screwdriver one notch at a time until the brake is equal with the others. Always loosen the tight brake—do not tighten the loose brakes or the pedal travel will be restricted and may cause brake drag.

[Pg 12]

Front Wheel Bearings

After jacking up front axle and removing the hub cap, withdraw cotter key holding nut "A." Turn nut "A" to the right until a slight drag is felt when turning the wheel slightly by hand. Then loosen the nut just sufficiently to permit the wheel to turn freely. Insert cotter key.

Rear Wheel Bearings

To adjust rear wheel bearings, jack up rear axle and remove both rear wheels. Remove the four nuts from bearing cap "A" and remove cap. By removing shims "B" under the cap the end play of the axle shaft is decreased. Total play between axle shafts should be from .005" to .010" (.12 to .25 mm.) which is perceptible by pulling shaft in and out with the hand. It is necessary that the thickness of shims at each rear wheel be approximately the same, so when adjusting remove a thin shim from each side and repeat, if necessary, until only a slight amount of play is evident. Be sure the axle shafts turn freely before building up.

Removing and Installing Wheels

To remove a wheel, place a screwdriver between the hub cap and hub and pry off cap. Loosen the four cap screws "B" (illustration top of page) with the socket wrench provided. Remove one cap screw in the lowest position and insert the handle of the wrench through the screw hole into the hub. While holding the wheel in position with the wrench, remove the other cap screws and lift off the wheel. The wheels should be jacked up just sufficiently to clear the ground. When replacing the wheel, place the handle of the wrench through the lower cap screw hole, lift up on the wrench so that the wheel will clear the ground and push in place. Align by moving wrench back and forth. Then start two of the cap screws, remove the wrench and start the remaining two. Tighten every other cap screw until all are down enough to hold wheel in place, making sure it is square on the hub. Continue tightening every other screw until all are secure.

[Pg 13]

WIRING DIAGRAM WIRING DIAGRAM
(Click image for larger view.)

[Pg 14]


General Information

License Data

Cylinder Bore—2-15/16"—74.61 mm.
Stroke—4-3/4"—120.65 mm.
Number of Cylinders—6
N. A. C. C. Horsepower Rating—20.7 H.P.
Piston Displacement—193 cubic inches—3.15 liters
Car Serial Number—Plate on dash under bonnet
106" Wheelbase—368,379 and up
113" Wheelbase—    5,001 and up
Engine Serial Number—Stamped on left side (center) of cylinder block (25,131
and up)

Capacities

  U. S. Imperial Metric
Radiator and Cooling System 3 gals. 2.5 gals. 11.35 liters
Gasoline Tank, 106" Wheelbase 11.5 gals. 9.58 gals. 43.53 liters
Gasoline Tank, 113" Wheelbase 16 gals. 13.3 gals. 60.57 liters
Engine Crankcase (refill) 6 qts. 5 qts. 5.68 liters
Clutch 1/3 pint 1/3 pint 180 c.c.
Transmission 3 pints 3 pints 1.4 liters
Rear Axle 3 pints 3 pints 1.4 liters

Spark Plugs

Size 14 mm. Set points at exactly .025" (.62 mm.). Replace after each 10,000 miles (16,000 kilometers) of service.

Generator Charging Rate

Generator is regulated by position of third brush. This should only be altered by competent service stations using accurate measuring instruments.

Generator output { 17 amperes at 8 volts
13 amperes at 6 volts

Output to be measured at generator. Do not exceed the above rates.

Battery

Use only distilled water to cover plates. This should be done as frequently as found necessary. An average of every two weeks during the summer months (less frequently in cooler weather).

Lamp Bulbs

  Candle Power Base Voltage
Headlamp (double filament) 21-21 Double Contact 6-8
Parking (in headlamp or on front fenders) 3 Single Contact 6-8
Telltales (on instrument board) 3 Double Contact 6-8
Instrument Board 3 Single Contact 6-8
Stop and Tail Lamp (double filament) 2-21 Double Contact 6-8
Dome 15 Single Contact 6-8
Fuse (at lamp switch) 20 Amperes  

[Pg 15]

Engine

Firing order of cylinders—1-5-3-6-2-4.

Tappets

Adjust when engine is hot. Minimum clearances—inlet valves, .006" (.15 mm.); exhaust, .008" (.20 mm.). Counting from the front, intake tappets are 2-4-5-8-9-11 and exhaust tappets 1-3-6-7-10-12.

Cooling System

It is good practice to drain, flush and refill the cooling system occasionally. If freezing temperatures are encountered in your community, anti-freeze solution will be necessary during the winter months.

Chassis Lubrication

This book contains detailed information covering lubrication of all units. Spring shackles and steering connections equipped with pressure fittings should be lubricated every 1000 miles. Your Essex dealer will arrange to completely lubricate your car at regular intervals at small cost.

Spring Clips

The nuts on the clips holding springs to axles, front and rear, should be tightened every 5000 miles.

Front Wheel Alignment

The front wheels should have a toe-in of from 0" to a maximum of 1/8" (3.2 mm.) for 5.25 tires and 1/4" (6.4 mm.) for 6.00 tires. Have your dealer check the alignment occasionally and adjust if necessary.

Shock Absorbers

Shock Absorbers—Monroe. Have dealer fill with Monroe Cushion Oil every 2000 to 5000 miles.

Tires

  Minimum Pressure
Size Front Rear
17 x 5.25 28 lbs. 28 lbs.
16 x 6.00 21 lbs. 21 lbs.

Care of Finish

We recommend the use of Hudson-Essex Polish, which is procurable from your dealer. An occasional polishing will preserve the finish. A wax coating is recommended, providing the lacquer is thoroughly cleaned and prepared for the wax surface.


Printed in U. S. A.
S.H.—2500—7-33


Transcriber's Notes

All instances of S. A. E. have been changed to S.A.E. for consistency.

Page 13: Retained spelling of gasolene in wiring diagram.