Title: Papierprüfung: Eine Anleitung zum Untersuchen von Papier
Author: Wilhelm Herzberg
Release date: September 1, 2019 [eBook #60206]
                Most recently updated: October 17, 2024
Language: German
Credits: Produced by Peter Becker, Reiner Ruf, and the Online
        Distributed Proofreading Team at http://www.pgdp.net (This
        file was produced from images generously made available
        by The Internet Archive)
Anmerkungen zur Transkription
Der vorliegende Text wurde anhand der 1902 erschienenen Buchausgabe so weit wie möglich originalgetreu wiedergegeben. Typographische Fehler wurden stillschweigend korrigiert. Ungewöhnliche und heute nicht mehr gebräuchliche Schreibweisen bleiben gegenüber dem Original unverändert; fremdsprachliche Passagen wurden nicht korrigiert.
Nicht alle Punkte des Inhaltsverzeichnisses entsprechen einem eigenständigen Abschnitt im Text. Entsprechende Verweise wurden vom Bearbeiter sinngemäß zugeordnet.
Einige besonders breite Tabellen im Original wurden der Übersichtlichkeit halber geteilt bzw. umgestellt; insbesondere im Anhang erschien dies aber nicht immer sinnvoll, so dass diese Tabellen u. U. im Querformat bzw. mit einer kleineren Schriftart betrachtet werden sollten. Abhängig von der im jeweiligen Lesegerät installierten Schriftart können die im Original gesperrt gedruckten Passagen gesperrt, in serifenloser Schrift, oder aber sowohl serifenlos als auch gesperrt erscheinen.
Eine Anleitung zum Untersuchen von Papier.
Von
Wilhelm Herzberg,
Professor, Vorsteher der Abteilung für Papierprüfung an der Königlichen Versuchsanstalt zu Charlottenburg.
Zweite, vollständig neubearbeitete Auflage.
Mit 65 Textfiguren und 16 Tafeln.
Berlin.
Verlag von Julius Springer.
1902.
Alle Rechte,
insbesondere das Recht der Übersetzung in fremde Sprachen,
vorbehalten.
Druck von Oscar Brandstetter, Leipzig.
Seit dem Erscheinen der ersten Auflage der „Papierprüfung“ ist an vielen Stellen für die Vervollkommnung und Ausgestaltung der Versuchsverfahren mit Erfolg gearbeitet worden. Die Fachpresse hat über die jeweiligen Fortschritte berichtet, in der vorliegenden zweiten Auflage sollen sie den Fachkreisen im Zusammenhang unterbreitet werden. Bei der Bearbeitung handelte es sich nicht um eine bloße Ergänzung der einzelnen Abschnitte der ersten Auflage; die meisten Abschnitte mußten vielmehr gänzlich umgearbeitet, neue hinzugefügt werden. Wenn hierbei der eine oder der andere der im Laufe der Jahre gemachten Vorschläge nicht berücksichtigt worden ist, so geschah es im Interesse der Sache, denn nicht immer war das Vorgeschlagene besser als das Vorhandene.
Das Interesse für die Papierprüfung und die Erkenntnis ihrer Bedeutung für die Industrie ist in den beteiligten Kreisen von Jahr zu Jahr gewachsen. Unmittelbar nach dem Erscheinen der ersten Auflage des vorliegenden Werkes wurde diese ins Englische, Französische und Italienische übersetzt, ein Beweis, daß auch das Ausland die Bedeutung dieses Sondergebietes der Materialprüfung anerkannte und seine Entwicklung auf der von Hartig und Hoyer geschaffenen Grundlage mit Interesse verfolgte.
Die Einrichtung verschiedener Papierprüfungsstellen im In- und Auslande ist ein weiteres Zeugnis für das Bestreben, das auf diesem Gebiet Geschaffene für die beteiligten Kreise nutzbringend zu gestalten.
Über den Wert der Papierprüfung hat sich der Verein Deutscher Papierfabrikanten im Jahre 1900 in einem an das Preußische Kultusministerium gerichteten Schreiben wie folgt geäußert:
„Die Deutsche Papier-Industrie hat seit Errichtung der Königlichen mechanisch-technischen Versuchsanstalt in Char[S. vi]lottenburg den Arbeiten derselben das lebhafteste Interesse entgegengebracht. War es ihr auch im Anfang nicht immer bequem, in der zu gleicher Zeit geschaffenen Abteilung für Papierprüfung einen strengen Richter über sich zu haben, so hat sie doch nie mit dem Bekenntnis zurückgehalten, daß sie in dieser Papierprüfung einen mächtigen Faktor für die Förderung ihrer Bedeutung, ihres Wohles und ihres Ruhmes gegenüber dem Auslande sieht.“
Diese Anerkennung wird alle diejenigen mit Genugtuung erfüllen, die sich um die Begründung und Entwickelung der Abteilung verdient gemacht haben, in erster Linie die Herren Geheimer Regierungsrat Carl Hofmann und Geheimer Regierungsrat Professor A. Martens.
Meinen Kollegen, G. Dalén und Dr. Wisbar, spreche ich auch an dieser Stelle meinen Dank für die Unterstützung aus, die sie mir bei Herausgabe der neuen Auflage bereitwilligst haben zu Teil werden lassen.
Charlottenburg, Juli 1902.
Der Verfasser.
| Seite | |
| Bestimmung der Festigkeitseigenschaften | |
| Absolute Festigkeit und Dehnung | |
| Bestimmung der Maschinenrichtung | |
| Schoppers Festigkeitsprüfer | |
| Wendlers Festigkeitsprüfer | |
| Festigkeitsprüfer nach Hartig-Reusch | |
| Leuners Festigkeitsprüfer | |
| Berechnung der Reißlänge | |
| Rehses Papierprüfer | |
| Tabelle zur Bestimmung der Feinheitsnummer | |
| Widerstand gegen Zerknittern | |
| Kirchners Kniffrolle | |
| Pfuhls Knitterer | |
| Schoppers Falzer | |
| Bestimmung des Quadratmetergewichtes und der Dicke | |
| Schoppers Dickenmesser | |
| Rehses Dickenmesser | |
| Bestimmung des Aschengehaltes | |
| Aschengehalt verschiedener Rohstoffe | |
| Die Postsche Aschenwage | |
| Reimanns Aschenwage | |
| Mikroskopische Untersuchung | |
| Vorbereitung des Papiers | |
| Herstellung der Präparate | |
| Untersuchung des durch Kochen erhaltenen Breies | |
| Verholzte Fasern | |
| Holzschliff | |
| Jute | |
| Strohstoff | |
| Zellstoffe | |
| Nadelholzzellstoff | |
| Birkenholzzellstoff | |
| Pappelholzzellstoff | |
| Strohzellstoff | |
| Alfa-(Esparto-)Zellstoff | |
| Jutezellstoff | |
| Manilazellstoff | |
| Adansoniazellstoff | |
| [S. viii] Beurteilung des Verholzungsgrades der Zellstoffe | |
| Verfahren nach Dr. Klemm | |
| Verfahren nach Behrens | |
| Lumpenfasern | |
| Baumwolle | |
| Leinen | |
| Hanf | |
| Wolle | |
| Seltener vorkommende Fasern | |
| Verschiedene Mahlungszustände von Papierfasern | |
| Feststellung der Mengenverhältnisse der Fasern | |
| Nachweis von Holzschliff und anderen verholzten Fasern | |
| Die Reaktion mit schwefelsaurem Anilin | |
| Die Phloroglucin-Reaktion | |
| Dr. Wursters Reaktion
      mit Dimethyl-paraphenylen-diamin | |
| Bestimmung der Menge des Holzschliffes | |
| Bestimmung der Art der Leimung | |
| Tierische Leimung | |
| Kaseinleim | |
| Harzleimung | |
| Stärke | |
| Leimfestigkeit | |
| Nachweis von freiem Chlor und freier Säure | |
| Vergilbung | |
| Bestimmung der Saugfähigkeit von Löschpapier | |
| Prüfung von Filtrierpapier | |
| Anhang | |
| Vorschriften für die Lieferung und Prüfung von
      Papier zu amtlichen Zwecken | |
| Auszug aus den Vorschriften für die Benutzung der
      Versuchsanstalt zu Charlottenburg | |
| Auszug aus den Vorschriften für Frachtbriefpapiere | |
|   „    „   „    „    „   Quittungskarten-Karton | |
|   „    „   „    „   
      über die Herstellung von Beitragsmarken zur Invaliditätsversicherung | |
| Vorschriften für das Papier zu Standesregistern und Registerauszügen | |
| Ausbildung im Papierprüfen | |
| Literatur | |
Die absolute Festigkeit eines Papiers wird bei seiner Benutzung als Schriftstück, Drucksache o. a. nur zum kleinen Teil in Anspruch genommen. Trotzdem wird man von einem Papier, das lange aufbewahrt und viel benutzt werden soll, aus zwei Gründen eine nicht zu geringe Festigkeit verlangen müssen. Einmal zeigt jeder organische Körper im Laufe der Zeit eine Abnahme seiner Festigkeit, und ferner gewährleisten gute Festigkeitseigenschaften sorgfältige Herstellung des Papiers und Verwendung guter Rohstoffe.
Von diesem Gesichtspunkt aus betrachtet wird man die Forderung hoher Festigkeitswerte für Papiere, die wichtigen Zwecken dienen sollen, als gerechtfertigt anerkennen müssen.
Die Festigkeit eines Papiers, d. h. der Widerstand, den es dem Zerreißen entgegensetzt, gibt an sich kein Mittel an die Hand, die Güte des Papiers ohne weiteres zu beurteilen, da sie beeinflußt wird von der Dicke und Breite des Probestreifens; wir werden jedoch später sehen, wie die mit Hilfe von Zerreißmaschinen gewonnenen Festigkeitswerte unabhängig von diesen beiden Einflüssen zur Beurteilung der Güte von Papier herangezogen werden können.
Die Festigkeit eines Papiers ist nicht nach allen Richtungen gleich groß. Maschinenpapier hat in der Richtung des Maschinenlaufes seine größte, in der Richtung senkrecht hierzu seine geringste Festigkeit. Dieser Unterschied findet seine Erklärung in der vorzugsweisen Lagerung der Fasern in der Richtung des Maschinenlaufes und in der Beeinflussung der Festigkeitswerte durch die Arbeit auf der Papiermaschine. Das Verhältnis der geringeren Festigkeit zur[S. 2] größeren schwankt zwar, hält sich aber meist zwischen den Grenzen 60 : 100 bis 75 : 100; jedoch kommen auch Fälle vor, in denen die Festigkeitswerte in der Längs- und Querrichtung wesentlich mehr, und andere, in denen sie wesentlich weniger voneinander abweichen, wie nachfolgende Zusammenstellung an einigen Beispielen zeigt.
| Laufende Nr. | Art des Papiers | Reißlänge[1] | Verhältnis von Querrichtung zu Längsrichtung | Bruchdehnung | Verhältnis von Querrichtung zu Längsrichtung | ||
| Quer- richtung km | Längs- richtung km | Quer- richtung % | Längs- richtung % | ||||
|  1 | Schreibpapier | 1,57 | 4,73 | 33 : 100 | 1,7 | 1,5 | 113 : 100 | 
|  2 | „ | 2,21 | 5,46 | 39 : 100 | 2,4 | 1,9 | 126 : 100 | 
|  3 | Packpapier | 3,76 | 9,76 | 39 : 100 | 4,6 | 2,1 | 219 : 100 | 
|  4 | „ | 4,25 | 9,06 | 47 : 100 | 6,7 | 2,8 | 239 : 100 | 
|  5 | Konzeptpapier | 3,57 | 7,01 | 51 : 100 | 4,1 | 1,4 | 293 : 100 | 
|  6 | Schreibpapier | 4,06 | 4,79 | 85 : 100 | 4,5 | 3,3 | 136 : 100 | 
|  7 | „ | 4,22 | 4,80 | 88 : 100 | 3,2 | 2,0 | 160 : 100 | 
|  8 | Urkundenpapier | 6,05 | 6,76 | 90 : 100 | 6,4 | 4,9 | 131 : 100 | 
|  9 | Schreibpapier | 4,22 | 4,69 | 90 : 100 | 3,0 | 2,0 | 150 : 100 | 
| 10 | Kanzleipapier | 4,05 | 4,44 | 91 : 100 | 4,6 | 3,2 | 156 : 100 | 
| 11 | Schreibpapier | 4,37 | 4,60 | 95 : 100 | 6,3 | 3,3 | 191 : 100 | 
| 12 | „ | 4,11 | 4,17 | 99 : 100 | 4,1 | 2,4 | 171 : 100 | 
| Laufende Nr. | Art des Papiers | Reißlänge[1] | Verhältnis von Querrichtung zu Längsrichtung | |
| Quer- richtung km | Längs- richtung km | |||
|  1 | Schreibpapier | 1,57 | 4,73 | 33 : 100 | 
|  2 | „ | 2,21 | 5,46 | 39 : 100 | 
|  3 | Packpapier | 3,76 | 9,76 | 39 : 100 | 
|  4 | „ | 4,25 | 9,06 | 47 : 100 | 
|  5 | Konzeptpapier | 3,57 | 7,01 | 51 : 100 | 
|  6 | Schreibpapier | 4,16 | 4,79 | 85 : 100 | 
|  7 | „ | 4,22 | 4,80 | 88 : 100 | 
|  8 | Urkundenpapier | 6,05 | 6,76 | 90 : 100 | 
|  9 | Schreibpapier | 4,22 | 4,69 | 90 : 100 | 
| 10 | Kanzleipapier | 4,05 | 4,44 | 91 : 100 | 
| 11 | Schreibpapier | 4,37 | 4,60 | 95 : 100 | 
| 12 | „ | 4,11 | 4,17 | 99 : 100 | 
| Laufende Nr. | Art des Papiers | Bruchdehnung | Verhältnis von Querrichtung zu Längsrichtung | |
| Quer- richtung % | Längs- richtung % | |||
|  1 | Schreibpapier | 1,7 | 1,5 | 113 : 100 | 
|  2 | „ | 2,4 | 1,9 | 126 : 100 | 
|  3 | Packpapier | 4,6 | 2,1 | 219 : 100 | 
|  4 | „ | 6,7 | 2,8 | 239 : 100 | 
|  5 | Konzeptpapier | 4,1 | 1,4 | 293 : 100 | 
|  6 | Schreibpapier | 4,5 | 3,3 | 136 : 100 | 
|  7 | „ | 3,2 | 2,0 | 160 : 100 | 
|  8 | Urkundenpapier | 6,4 | 4,9 | 131 : 100 | 
|  9 | Schreibpapier | 3,0 | 2,0 | 150 : 100 | 
| 10 | Kanzleipapier | 4,6 | 3,2 | 156 : 100 | 
| 11 | Schreibpapier | 6,3 | 3,3 | 191 : 100 | 
| 12 | „ | 4,1 | 2,4 | 171 : 100 | 
Ebenso wie die Festigkeit ist auch die Dehnung des Papiers in den beiden Richtungen verschieden groß; das Verhältnis ist aber hier umgekehrt, indem die Maschinenrichtung die kleinste, die Querrichtung die größte Dehnung aufweist.
Auch bei geschöpftem Papier treten, wenn auch nicht in dem Maße wie beim Maschinenpapier, Verschiedenheiten in der Festigkeit und Dehnung in verschiedenen Richtungen auf.[2] Da die Ansicht, daß beim Handpapier die Festigkeit und Dehnbarkeit nach allen Richtungen gleich groß sei, ziemlich verbreitet ist, so mag nachfolgend (Seite 3) eine kleine Zusammenstellung einiger bei Prüfung von geschöpften Papieren gewonnenen Ergebnisse folgen.
Bei der Bestimmung der Festigkeitswerte einer Papiersorte wird Maschinenrichtung und Querrichtung gesondert geprüft und aus den erhaltenen Werten das Mittel gebildet. Dieses ist für die Einreihung in eine der sechs Festigkeitsklassen[3] maßgebend.
| Laufende Nr. | Art des Papiers | Reißlänge | Verhältnis der schwachen Richtung zur starken | Bruchdehnung | Verhältnis der schwachen Richtung zur starken | |||
| Schwache Richtung km | Starke Richtung km | Schwache Richtung % | Starke Richtung % | |||||
|  1 |   | Urkunden- papier (hand- geschöpft) | 3,68 | 4,93 | 74 : 100 | 4,6 | 3,8 | 121 : 100 | 
|  2 | 3,81 | 4,97 | 77 : 100 | 4,2 | 3,5 | 120 : 100 | ||
|  3 | 4,20 | 5,30 | 79 : 100 | 4,4 | 3,9 | 113 : 100 | ||
|  4 | 4,28 | 5,45 | 79 : 100 | 5,9 | 4,7 | 125 : 100 | ||
|  5 | 3,89 | 4,64 | 84 : 100 | 4,4 | 4,2 | (105 : 100) | ||
|  6 | 3,26 | 3,63 |   (90:100)[4] | 4,3 | 3,4 | 126 : 100 | ||
|  7 |   | Akten- deckel (hand- geschöpft) | 2,82 | 4,12 | 68 : 100 | 4,6 | 4,2 | (110 : 100) | 
|  8 | 2,62 | 3,84 | 70 : 100 | 4,0 | 3,7 | (108 : 100) | ||
|  9 | 2,16 | 2,98 | 72 : 100 | 4,8 | 4,1 | 117 : 100 | ||
| 10 | 2,61 | 3,53 | 74 : 100 | 3,9 | 3,4 | 114 : 100 | ||
| 11 | 2,74 | 3,04 | (90 : 100) | 3,7 | 3,6 | (101 : 100) | ||
| 12 | 2,56 | 2,84 | (90 : 100) | 4,0 | 3,0 | 133 : 100 | ||
| Laufende Nr. | Art des Papiers | Reißlänge | Verhältnis der schwachen Richtung zur starken | ||
| Schwache Richtung km | Starke Richtung km | ||||
|  1 |   | Urkunden- papier (hand- geschöpft) | 3,68 | 4,93 | 74 : 100 | 
|  2 | 3,81 | 4,97 | 77 : 100 | ||
|  3 | 4,20 | 5,30 | 79 : 100 | ||
|  4 | 4,28 | 5,45 | 79 : 100 | ||
|  5 | 3,89 | 4,64 | 84 : 100 | ||
|  6 | 3,26 | 3,63 |   (90:100)[4] | ||
|  7 |   | Akten- deckel (hand- geschöpft) | 2,82 | 4,12 | 68 : 100 | 
|  8 | 2,62 | 3,84 | 70 : 100 | ||
|  9 | 2,16 | 2,98 | 72 : 100 | ||
| 10 | 2,61 | 3,53 | 74 : 100 | ||
| 11 | 2,74 | 3,04 | (90 : 100) | ||
| 12 | 2,56 | 2,84 | (90 : 100) | ||
| Laufende Nr. | Art des Papiers | Bruchdehnung | Verhältnis der schwachen Richtung zur starken | ||
| Schwache Richtung % | Starke Richtung % | ||||
|  1 |   | Urkunden- papier (hand- geschöpft) | 4,6 | 3,8 | 121 : 100 | 
|  2 | 4,2 | 3,5 | 120 : 100 | ||
|  3 | 4,4 | 3,9 | 113 : 100 | ||
|  4 | 5,9 | 4,7 | 125 : 100 | ||
|  5 | 4,4 | 4,2 | (105 : 100) | ||
|  6 | 4,3 | 3,4 | 126 : 100 | ||
|  7 |   | Akten- deckel (hand- geschöpft) | 4,6 | 4,2 | (110 : 100) | 
|  8 | 4,0 | 3,7 | (108 : 100) | ||
|  9 | 4,8 | 4,1 | 117 : 100 | ||
| 10 | 3,9 | 3,4 | 114 : 100 | ||
| 11 | 3,7 | 3,6 | (101 : 100) | ||
| 12 | 4,0 | 3,0 | 133 : 100 | ||
Da die Maschinenpapiere im allgemeinen parallel und senkrecht zur Maschinenrichtung geschnitten werden, so entnimmt man die Probestreifen in der später zu besprechenden Anzahl und Art zunächst parallel zu einer beliebigen Kante des Bogens und darauf parallel zu der hierauf senkrecht stehenden.
Beim Handpapier verfährt man in derselben Weise.
Hat man Veranlassung, die Maschinenrichtung vorher zu bestimmen, entweder weil man nur diese prüfen will, oder weil die beiden Richtungen nicht mit Sicherheit zu erkennen sind, so verfährt man in folgender Weise:
Man schneidet aus dem in Frage kommenden Material ein kreisförmiges Stück von ungefähr 10 cm Durchmesser heraus und läßt dies wenige Sekunden auf Wasser schwimmen; nimmt man es dann heraus und legt es vorsichtig auf die flache Hand, wobei man zu verhindern hat, daß es sich fest an die Handfläche schmiegt, so krümmen sich die Ränder nach oben (Fig. 1a) und zwar schließlich so stark, daß sie übereinandergreifen, wie es Fig. 1b darstellt.
Der nicht gekrümmte Durchmesser ab liegt in der Maschinenrichtung.
Hat man denselben Versuch mit ungeleimtem oder schwach geleimtem Papier vorzunehmen, so ist dies zunächst gegen das Durchdringen von Wasser zu schützen; man löst zu diesem Zweck entweder Harz in Alkohol oder tierischen Leim in Wasser, zieht das zu prüfende Papier durch eine dieser Lösungen und läßt es trocknen. Das Papier hat nunmehr seine Saugfähigkeit verloren und kann ohne Schwierigkeit dem angeführten Versuch unterworfen werden. Zur Erklärung des Krümmens diene folgendes.
Die untere Seite des Papiers saugt, während sie mit dem Wasser in Berührung ist, Feuchtigkeit auf und die Fasern quellen; nun legen sich die Fasern, wie schon erwähnt, auf dem Siebe vorzugsweise parallel zur Richtung des Maschinenlaufes, und da die einzelne Faser quer zu ihrer Längsachse die größte Quellungsfähigkeit besitzt, so wird das Bestreben der unteren Faserschicht sich auszudehnen, quer zur Maschinenrichtung größer sein als in der Längsrichtung, und dies dürfte die Ursache des Aufrollens der Ränder sein.
Die vorzugsweise Lagerung der Fasern in der Richtung des Maschinenlaufes ist übrigens bei vielen Papieren mit bloßem Auge zu erkennen, wenn man den Bogen schräg gegen das Licht hält, und ein geübter Beobachter kann oft schon auf diese Weise erkennen, wie das Papier auf der Maschine gelaufen ist.
Eine noch einfachere Methode zur Bestimmung der Maschinenrichtung ist von Nickel vorgeschlagen worden und besteht darin, daß[S. 5] man zwei Streifen von gleichen Abmessungen aus den beiden in Frage kommenden Richtungen so aufeinanderlegt, daß sie sich decken. Faßt man sie nun an dem einen Ende mit Daumen und Zeigefinger und läßt das andere Ende frei herunterhängen, so werden sie entweder aufeinanderliegen (Fig. 2a), oder auseinanderklaffen (Fig. 2b). Im ersten Fall ist der untere, im zweiten der obere Streifen der aus der Maschinenrichtung.
Die Erklärung dieser Erscheinung dürfte auch hier durch die Lagerung der Fasern gegeben sein; bei dem aus der Maschinenrichtung herrührenden Streifen liegen mehr Fasern mit ihrer Längsachse parallel zum Streifen als bei dem Streifen aus der Querrichtung; die Folge davon wird sein, daß sich ersterer beim Überhängen weniger durchbiegt als der letztere.
Die Frage der bequemen Bestimmung der Maschinenrichtung kann außer in den oben erwähnten Fällen noch verschiedentlich von praktischer Bedeutung sein. Beim Kniffen von Aktendeckeln, Kartons u. s. w. wird es nicht gleichgiltig sein, ob der Kniff in der Maschinenrichtung oder Querrichtung liegt; bei der Herstellung von Büchern, besonders von großen und dicken Geschäftsbüchern, ist es von Wert zu wissen, ob alle Lagen in gleicher Weise gefalzt sind, weil sich sonst infolge verschiedener Dehnung unscharfe Ränder zeigen. Diesen Umständen hat man, wie es scheint, bisher nicht die nötige Beachtung geschenkt.
Nachdem man so auf die eine oder andere Weise die beiden Hauptrichtungen im Papier, nach welchen die Entnahme der Probe[S. 6]streifen zu erfolgen hat, bestimmt hat, fragt es sich, wie lang und wie breit diese zu wählen sind.
Martens hat sich mit dieser Frage eingehend beschäftigt und nachgewiesen, daß die Breite des Probestreifens auf das Ergebnis für Reißlänge und Bruchdehnung keinen Einfluß ausübt; die Bequemlichkeit und Sicherheit des Arbeitens indessen, sowie der mit zunehmender Breite wachsende Widerstand beim Zerreißen legt bei der Wahl der Streifen einige Beschränkung auf. Die Breite von 15 mm hat sich als sehr praktisch erwiesen, und sie wird in der Versuchsanstalt ausschließlich angewendet, wenn nicht etwa das zu prüfende Material, wie es beispielsweise bei den in der Telegraphie benutzten Papierstreifen der Fall ist, schon an und für sich schmäler ist als 15 mm.
In der Praxis wird man auch in den Fällen schmälere Streifen verwenden müssen, in denen die gewöhnlichen Festigkeitsprüfer zum Zerreißen eines 15 mm breiten Streifens nicht ausreichen, wie es z. B. beim Prüfen von Quittungskarten-Kartons, Preßspänen, Aktendeckeln, Pappen u. s. w. vorkommen kann.
Bei der Länge der Probestreifen liegen die Verhältnisse, soweit es sich um die Dehnung ausgedrückt in Prozenten der ursprünglichen Länge handelt, anders; die Dehnungsprozente sind nahezu dieselben bei Streifenlängen von 180 mm an aufwärts; mit abnehmender Länge aber wächst die Dehnung. Deshalb ist aus praktischen Gründen die Länge von 180 mm als Normallänge angenommen worden; dies geschah namentlich auch deshalb, weil diese Länge in beiden Richtungen aus dem einmal geknifften Bogen des Reichsformates (33 × 42 cm) bequem entnommen werden kann, und in diesem Zustand dürften wohl die meisten Papiere zur Untersuchung gelangen. Es kann im Interesse der Einheitlichkeit und der Vergleichbarkeit der Versuchsergebnisse nur geraten werden, diese Länge allgemein zu Grunde zu legen. Soweit bekannt geworden ist, ist dies auch an allen Stellen, welche sich in größerem Maßstabe mit Papieruntersuchungen befassen, geschehen.
Stehen nun von dem zu prüfenden Material nur kleine Bogen zur Verfügung, aus denen diese Normalstreifen nicht entnommen werden können, so darf man nicht außer acht lassen, daß die Dehnungsprozente etwas höher ausfallen als bei Verwendung eines Streifens von 180 mm Länge; auf die Festigkeit ist die Länge der Probestreifen ohne Einfluß, wenn nicht gar zu kurze Streifen angewendet werden, die schwer gerade einzuspannen sind.
Das Ergebnis der Prüfung wird nun im allgemeinen um so wertvoller sein, je mehr Streifen beim Versuch Verwendung ge[S. 7]funden haben; nimmt man fünf Streifen aus jeder Richtung, so kann man sicher sein, gute Durchschnittswerte zu erhalten, wenn man bei der Probenentnahme zweckmäßig zu Werke geht.
Bei Prüfung eines größeren Postens Papier tut man gut, aus fünf verschiedenen Paketen je einen Bogen zu entnehmen und dann aus jedem Bogen je einen Längs- und Querstreifen.
Steht auch nur wenig Material zur Verfügung, so verfolge man doch immer den Grundsatz, die Streifen an verschiedenen Stellen zu entnehmen und unmittelbar nebeneinander nur dann, wenn es anders nicht möglich ist.
Die Entnahme der Streifen geschieht bei den Prüfungen in der Versuchsanstalt in folgender Weise. Von den zehn meist in einmal geknifftem Zustand eingeschickten Probebogen werden zunächst fünf für die Festigkeitsprüfung ausgewählt, welche äußerlich keine fehlerhaften Stellen zeigen. Aus jedem dieser fünf Bogen wird je ein Streifen aus der Längs- und Querrichtung entnommen, wie es Fig. 3 veranschaulicht.
Zerreißt nun beim Versuch ein Streifen an der Einspannstelle, oder ist er von vornherein infolge eines erkennbaren Fehlers zu verwerfen, oder liefert ein Streifen Werte, die von denen der anderen in auffälliger Weise abweichen, so daß ein Irrtum vermutet werden kann, so kann man unmittelbar neben dem ersten Streifen immer noch einige Ersatzstreifen zur weiteren Prüfung herausnehmen.
Auf das Schneiden der Streifen ist große Sorgfalt zu verwenden, da die geringste Beschädigung, namentlich an den Rändern, den Versuch ungünstig beeinflussen kann. Hat man nur hin und wieder Festigkeitsversuche vorzunehmen, so wird man davon absehen können, sich eine besondere Schneidevorrichtung zu beschaffen, wenn nicht dem Festigkeitsapparat, wie es jetzt vielfach geschieht, schon eine solche beigegeben ist. In Ermangelung einer besonderen Vorrichtung schneidet man mit Hilfe eines eisernen Lineals und eines scharfen Messers, wobei man auf eine möglichst parallele Führung des letzteren bedacht sein muß. Als Unterlage bedient man sich beim[S. 8] Schneiden zweckmäßig eines Zinkbleches oder einer Glasplatte, weil weichere Materialien, wie Holz, Pappe etc., Eindrücken des Papiers beim Schneiden zulassen und auf diese Weise die Ränder des Streifens nach unten umgebogen werden. Hat man indessen täglich Festigkeitsprüfungen vorzunehmen, so ist diese Art der Probeentnahme zu umständlich und zeitraubend und man wird sich dann zweckmäßig eine Vorrichtung beschaffen, die schneller arbeitet.[5] — Fig. 4 zeigt die in der Versuchsanstalt in Gebrauch befindliche Scheere zum Schneiden der Streifen.
An der Holzplatte P ist ein Messer S2 fest angeschraubt, während ein zweites S1, welches in Verbindung mit S2 den Schnitt des Papiers bewirkt, mit Hilfe des Handgriffes H auf- und niedergeführt werden kann. Eine Holzleiste Lst ist so angebracht, daß sie parallel der Schneide S2 liegt und von dieser in einem Abstand von 15 mm festgestellt werden kann. Unter der Leiste Lst befindet sich ein Kasten K, in welchen die abgeschnittenen Streifen fallen. Auf dem Brett P ist noch eine scharf gezeichnete Linie L angebracht, die senkrecht zu S2 verläuft. Sie dient als Anlegezeichen, um zunächst den ersten Schnitt genau senkrecht zu einer Bogenkante zu führen; die Streifen werden dann beim Anlegen der ersten Schnittkante gegen die Leiste Lst ohne weiteres parallel und von 15 mm Breite geschnitten. Die in den Handel gebrachten Schneidevorrichtungen mit doppeltem Messer haben sich nicht bewährt, weil beim Schneiden in den meisten Fällen eins der Messer versagt.
Bevor man die Streifen in Gebrauch nimmt, überzeugt man sich, ob ihre Ränder glatt sind und genau parallel verlaufen. Das letztere sieht man am besten, wenn man die beiden Enden eines jeden Streifens aufeinanderlegt; die zwei Hälften der Streifen müssen sich dann decken.
Beim Zerreißen der Streifen ist auf die Feuchtigkeit der Luft im Versuchsraum besonders zu achten, da sie auf die Festigkeits- und Dehnungswerte von großem Einfluß ist.
Der Einfluß der Feuchtigkeit äußert sich in zweierlei Weise. Einmal nimmt das Papier, je nach dem Feuchtigkeitsgehalt der Luft, verschiedene Mengen Wasser in sich auf und ändert hierdurch sein Gewicht; zweitens ändert das aufgenommene Wasser die Festigkeit und Dehnbarkeit der im Papier vorhandenen Fasern.
Zur Erläuterung mögen nachfolgend die Versuchsergebnisse, welche bei Prüfung eines aus Lumpen hergestellten, mit Harzleim geleimten, guten Schreibpapiers bei verschiedener Luftfeuchtigkeit gewonnen wurden, wiedergegeben werden.
| Relative Feuchtig- keit % | Feuchtigkeits- gehalt der zerrissenen Streifen % | Bruchbelastung | Bruchdehnung | Reißlänge | ||||||
| Maschinen- Richtung kg | Quer- Richtung kg | Mittel kg | Maschinen- Richtung % | Quer- Richtung % | Mittel % | Maschinen- Richtung km | Quer- Richtung km | Mittel km | ||
| 100 | 15,2 | 2,34 | 1,75 | 2,05 | 3,2 | 6,3 | 4,8 | 1,68 | 1,23 | 1,46 | 
|  90 | 11,3 | 3,41 | 2,30 | 2,86 | 2,8 | 5,8 | 4,3 | 2,40 | 1,64 | 2,02 | 
|  80 |  6,5 | 5,57 | 4,03 | 4,30 | 2,5 | 4,7 | 3,6 | 4,06 | 3,00 | 3,53 | 
|  70 |  6,2 | 5,74 | 4,14 | 4,94 | 2,1 | 4,3 | 3,2 | 4,25 | 3,09 | 3,67 | 
|  60 |  5,5 | 6,15 | 4,49 | 5,32 | 1,9 | 3,9 | 2,9 | 4,50 | 3,33 | 3,92 | 
|  50 |  4,6 | 6,59 | 4,71 | 5,65 | 1,7 | 3,4 | 2,6 | 4,76 | 3,43 | 4,20 | 
|  40 |  3,8 | 6,74 | 4,93 | 5,84 | 1,6 | 3,3 | 2,5 | 4,91 | 3,61 | 4,26 | 
|  30 |  2,3 | 7,21 | 5,05 | 6,13 | 1,5 | 2,6 | 2,1 | 5,39 | 3,80 | 4,60 | 
| Relative Feuchtig- keit % | Feuchtigkeits- gehalt der zerrissenen Streifen % | Bruchbelastung | ||
| Maschinen- Richtung kg | Quer- Richtung kg | Mittel kg | ||
| 100 | 15,2 | 2,34 | 1,75 | 2,05 | 
|  90 | 11,3 | 3,41 | 2,30 | 2,86 | 
|  80 |  6,5 | 5,57 | 4,03 | 4,30 | 
|  70 |  6,2 | 5,74 | 4,14 | 4,94 | 
|  60 |  5,5 | 6,15 | 4,49 | 5,32 | 
|  50 |  4,6 | 6,59 | 4,71 | 5,65 | 
|  40 |  3,8 | 6,74 | 4,93 | 5,84 | 
|  30 |  2,3 | 7,21 | 5,05 | 6,13 | 
| Relative Feuchtig- keit % | Feuchtigkeits- gehalt der zerrissenen Streifen % | Bruchdehnung | ||
| Maschinen- Richtung % | Quer- Richtung % | Mittel % | ||
| 100 | 15,2 | 3,2 | 6,3 | 4,8 | 
|  90 | 11,3 | 2,8 | 5,8 | 4,3 | 
|  80 |  6,5 | 2,5 | 4,7 | 3,6 | 
|  70 |  6,2 | 2,1 | 4,3 | 3,2 | 
|  60 |  5,5 | 1,9 | 3,9 | 2,9 | 
|  50 |  4,6 | 1,7 | 3,4 | 2,6 | 
|  40 |  3,8 | 1,6 | 3,3 | 2,5 | 
|  30 |  2,3 | 1,5 | 2,6 | 2,1 | 
| Relative Feuchtig- keit % | Feuchtigkeits- gehalt der zerrissenen Streifen % | Reißlänge | ||
| Maschinen- Richtung km | Quer- Richtung km | Mittel km | ||
| 100 | 15,2 | 1,68 | 1,23 | 1,46 | 
|  90 | 11,3 | 2,40 | 1,64 | 2,02 | 
|  80 |  6,5 | 4,06 | 3,00 | 3,53 | 
|  70 |  6,2 | 4,25 | 3,09 | 3,67 | 
|  60 |  5,5 | 4,50 | 3,33 | 3,92 | 
|  50 |  4,6 | 4,76 | 3,43 | 4,20 | 
|  40 |  3,8 | 4,91 | 3,61 | 4,26 | 
|  30 |  2,3 | 5,39 | 3,80 | 4,60 | 
Wie die Zusammenstellung zeigt, nimmt die Dehnung mit abnehmender Feuchtigkeit ab, während die Festigkeit wächst. Es leuchtet somit ohne weiteres ein, daß Ergebnisse von Festigkeitsprüfungen mit Papier nur dann unmittelbar vergleichbar sind, wenn sie bei derselben relativen Luftfeuchtigkeit ermittelt wurden.
Die Versuchsanstalt hat denn auch bereits seit Jahren Vorkehrungen getroffen, um die Festigkeitsprüfungen bei stets gleichem Feuchtigkeitsgehalt ausführen zu können, und zwar ist hierfür eine relative Luftfeuchtigkeit von 65% gewählt worden.[6] Da die Luftfeuchtigkeit nun während des größten Teils des Jahres namentlich im Winter geringer ist als 65%, so sind in dem Versuchsraum Wasserzerstäuber aufgestellt, welche es ermöglichen, bei trockener[S. 10] Luft den Feuchtigkeitsgehalt in kurzer Zeit auf die gewünschte Höhe zu bringen.
Den mit geringeren Hilfsmitteln ausgestatteten Versuchsräumen der Praxis kann die fehlende Feuchtigkeit am einfachsten durch Sprengen des Fußbodens, Aufhängen nasser Tücher, Kochen von Wasser u. s. w. zugeführt werden.
Zur Messung der Feuchtigkeit der Luft werden Koppe-Saussuresche Prozenthaarhygrometer mit Einstellvorrichtung benutzt, welche wöchentlich zweimal mit einem Aßmannschen Psychrometer kontrolliert werden.
Dieses Hygrometer besteht aus einem gut entfetteten Haar,[S. 11] welches am oberen Ende befestigt und am unteren um eine kleine Rolle geschlungen ist, deren Achse einen Zeiger trägt (Fig. 5). Es wird durch ein angehängtes Gewichtchen von 0,5 g gespannt. Bei trockener Luft verkürzt sich das Haar und dreht den Zeiger nach links, beim Feuchtwerden verlängert es sich, und das Gewicht bewirkt eine Bewegung des Zeigers nach rechts. Bei vollkommener Sättigung der Luft mit Wasserdampf muß der Zeiger auf den Punkt 100 rücken und dort stehen bleiben.
Ein besonderer Vorzug dieses Feuchtigkeitsmessers gegenüber anderen Haarhygrometern ist der, daß er zu jeder Zeit leicht auf die Richtigkeit seiner Angaben geprüft werden kann; zu diesem Zweck wird das dem Apparat beigegebene, mit Mousselin überzogene Rähmchen in Wasser getaucht und auf der Rückseite des Instrumentes in eine hierfür angebrachte Nute geschoben. Hierauf wird der Apparat vorn durch eine Glasscheibe, hinten durch den Schieber geschlossen. Der abgeschlossene Raum füllt sich nun in verhältnismäßig kurzer Zeit mit Feuchtigkeit, das Haar sättigt sich, und der Zeiger rückt auf 100 vor.
Sollte infolge von Veränderungen des Instrumentes durch äußere Einflüsse dies nicht der Fall sein, so hat man nur den Schlüssel durch das oben in der Glasscheibe befindliche Loch auf den Vierkant aufzusetzen und durch Drehen den Zeiger genau auf 100 einzustellen. Dabei ist es zweckmäßig, etwas auf das Kästchen zu klopfen, um die Reibung des Zeigers zu überwinden.
Nun ist das Instrument eingestellt und wird, nachdem Schieber, Rähmchen und Glas entfernt sind, etwa 24 Stunden später die relative Feuchtigkeit des Versuchsraumes richtig angeben. Unmittelbar nach der Prüfung darf es nicht benutzt werden, da dann die Feuchtigkeit der Luft zu gering angegeben wird.
Man begegnet vielfach der irrigen Auffassung, daß das Haarhygrometer zur Bestimmung der Luftfeuchtigkeit für wissenschaftliche Versuche nicht geeignet sei. Prof. Dr. Galle, welcher über diesen Gegenstand eine große Reihe eingehender Versuche angestellt hat, bemerkt hierzu (Ergebnisse der meteorologischen Beobachtungen im Jahre 1882. Veröffentlicht vom königlichen meteorologischen Institut Berlin 1883): „Unterzieht man sich bei den Haarhygrometern alle 8–14 Tage der geringen Mühe einer Bestimmung des Sättigungspunktes und sorgfältiger Reinigung des Instrumentes, soweit dies nötig erscheint, so wird man mit diesem Instrument die relative Feuchtigkeit mit mindestens ebenso großer Genauigkeit und meist (namentlich im Winter) wohl noch genauer ablesen können, und zwar ohne alle Rechnung, als mit dem Psychrometer.“
Es sei noch besonders bemerkt, daß das Hygrometer am besten neben dem Zerreißapparat aufzustellen ist und daß die Versuchsstreifen neben dem Hygrometer zur Aufnahme der nötigen Feuchtigkeit auszulegen sind, da die Feuchtigkeit an verschiedenen Stellen des Versuchsraumes, namentlich in verschiedenen Höhenlagen, verschieden ist.
In der Praxis ist es nun nicht immer möglich, die Prüfungen bei 65% relativer Luftfeuchtigkeit vorzunehmen; man ist zuweilen gezwungen, die Versuche bei einer anderen Feuchtigkeit auszuführen, wodurch die Ergebnisse mehr oder weniger von den maßgebenden (bei 65% gewonnenen) abweichen.
Durch eingehende Versuche hat Dalén[7] für Reißlänge und Dehnung Faktoren ermittelt, mit Hilfe deren man in der Lage ist, die bei zu hoher oder zu niedriger Feuchtigkeit ermittelten Werte umzurechnen. Die Fehler, die man hierbei zu befürchten hat, sind um so größer, je mehr die Luftfeuchtigkeit von 65% abweicht. Aus diesem Grunde dürfte es, damit die berechneten Werte einigermaßen zuverlässig werden, angebracht sein, die Umrechnungen auf den zwischen 40% und 80% relativer Luftfeuchtigkeit liegenden Spielraum zu beschränken.
In nachstehender Tabelle sind innerhalb dieser Grenzen die Faktoren zusammengestellt, mit denen man die gefundenen Werte für Reißlänge und Dehnung multiplizieren muß, um annähernd Werte zu erhalten, die einer Luftfeuchtigkeit von 65% entsprechen.
| Relative Luftfeuchtigkeit beim Zerreißen in % | Faktor für | |
| Reißlänge | Dehnung | |
| 80 | 1,18 | 0,80 | 
| 75 | 1,11 | 0,87 | 
| 70 | 1,04 | 0,93 | 
| 60 | 0,97 | 1,08 | 
| 55 | 0,94 | 1,16 | 
| 50 | 0,92 | 1,25 | 
| 45 | 0,90 | 1,36 | 
| 40 | 0,88 | 1,47 | 
Mit Recht bemerkt aber Dalén am Schluß seiner Abhandlung, daß man diese Umrechnung nur als Notbehelf ansehen soll, wenn es ganz unmöglich ist, die Versuche bei 65% auszuführen.
Die Versuchsstreifen brauchen, um sich dem Feuchtigkeits[S. 13]zustand von 65% anzupassen, mindestens eine halbe Stunde. Damit sie der Luft möglichst viel Oberfläche darbieten, bedient man sich zweckmäßig eines Rahmens, wie ihn Fig. 6 darstellt. In diesem Rahmen stehen die Streifen schwach gekrümmt auf der hohen Kante, gestatten somit der Luft ungehinderten Zutritt und sind außerdem durch ihre geringe Anspannung gegen das Fortwehen durch Zugluft geschützt.
Zum Zerreißen der Streifen bedient man sich verschiedener Zerreißmaschinen, von denen hier die vier wichtigsten, die von Schopper, Wendler, Hartig-Reusch und Leuner beschrieben werden sollen.[8]
[1] Vergl. S. 28.
[2] Hoyer hat schon in seinem 1882 erschienenen Werk „Das Papier“ hierauf hingewiesen.
[3] Siehe Anhang.
[4] Da die Ungleichmäßigkeiten des Papierblattes an sich Abweichungen in den Werten für Reißlänge und Bruchdehnung bedingen, so sind die Fälle, in denen der Unterschied zwischen den beiden Richtungen 10% und weniger beträgt, in Klammer gesetzt, weil Unterschiede, die kleiner als 10% sind, sehr wohl Zufall sein können.
[5] Solche Schneidevorrichtungen, sowie alle übrigen Apparate, Instrumente, Fasern, Lösungen u. s. w. für die Zwecke der Papierprüfung können von der Firma Louis Schopper in Leipzig, Arndtstr. 27, bezogen werden.
[6] Dr. R. von Lenz prüft bei beliebiger Luftfeuchtigkeit, bestimmt den Feuchtigkeitsgehalt des Papiers und berechnet nach einer von ihm ermittelten Formel die Festigkeitswerte auf trockenes Papier. (Papier-Zeitung 1891, No. 35.)
[7] Der Einfluß der Luftfeuchtigkeit auf die Festigkeitseigenschaften des Papiers. (Mitteilungen aus den technischen Versuchsanstalten 1900, S. 133.)
[8] Auf das Horacksche Dasymeter, das früher vielfach benutzt wurde und stellenweise auch heute noch zu Festigkeitsversuchen verwendet wird, soll nicht näher eingegangen werden, wegen der völlig unzuverlässigen Ergebnisse, welche es liefert. Eine Beschreibung und Abbildung dieses Apparates findet man in: „Hoyer. Das Papier, seine Beschaffenheit und deren Prüfung,“ München 1882.
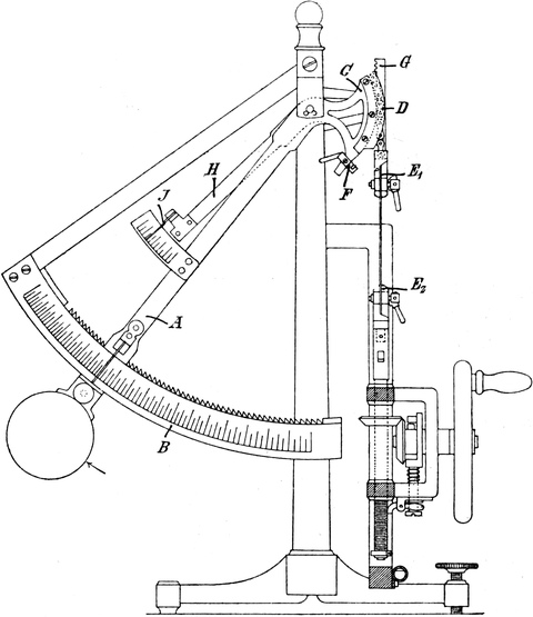
Die Kraftmessung erfolgt bei dem Schopperschen Festigkeitsprüfer durch eine Neigungswage. Die Wirkungsweise des Apparates ist aus Fig. 7 ersichtlich.
Der Belastungshebel A bewegt sich zwischen zwei Kreissegmenten, von denen das vordere B mit einer Teilung versehen ist, deren Bezifferung die Kraftleistung in kg angibt. Das hintere Segment ist gezahnt und dient zur Aufnahme der Sperrklinken, die nach dem Bruch des Streifens das Zurückfallen des Hebels A verhindern.
Statt des zweiten Armes des Krafthebels ist ein Bogensegment C angebracht, über welches eine Kette D läuft, die am unteren Ende die eine Einspannklemme E1 trägt. Um die Einspannung des Streifens zu erleichtern, kann diese Klemme während des Ein[S. 14]spannens durch einen Haken F (oder einen Stift) an dem Segment C festgelegt werden.
Durch die Kette D wird erreicht, daß sich die obere Klemme immer senkrecht über der unteren E2 befindet und so eine zwanglose Beweglichkeit während des Versuches behält.
Die Messung der Dehnung erfolgt durch die Feststellung der gegenseitigen Verschiebung der beiden Einspannklemmen E1 und E2. Um diese Verschiebung zu bestimmen, wird die Bewegung der unteren Klemme mittels der Zahnstange G auf den Dehnungshebel H übertragen, der statt des oberen Armes ein Zahnsegment trägt. An diesem Hebel H, welcher sich um den Zapfen des Gewichtshebels A drehen kann, ist ein Zeiger J angebracht, welcher sich über zwei am Krafthebel befindliche Bogenteilungen bewegt. Die eine dieser Teilungen gibt die Verlängerung des Streifens, welche mit der Verschiebung der Klemmen gegeneinander gleichbedeutend ist, in mm, die andere, bei einer Streifenlänge von 180 mm, direkt in Prozenten an.
Das untere Ende der Zahnstange G ist an einer Hülse befestigt, welche sich auf einer mit der Antriebspindel parallelen Gleitstange bewegen kann und während des Versuches von einem an der Antriebspindel befestigten Mitnehmer bewegt wird.
Diese Zahnstange, welche sich in einer festen Führung bewegt, wird durch eine Bremsfeder fest gegen das gezahnte Segment des Dehnungshebels gedrückt, so daß toter Gang ausgeschlossen ist. Die hierdurch entstehende Zahnreibung wird vom Antrieb aufgenommen, ist daher auf die Kraftmessung ohne Einfluß.
An den Einspannklemmen sind Exzenterhebel zum Zusammendrücken der Backen angebracht, wodurch eine einfache, bequeme und sichere Einspannung des Streifens ermöglicht wird.
An der Antriebsvorrichtung befindet sich eine Sperrvorrichtung, welche für eine bestimmte Streifenlänge das richtige Einstellen der unteren Klemme in der Nulllage sichert.
Die Versuchsausführung geht nun in folgender Weise vor sich.
Nachdem man den Belastungshebel mit Hilfe des hierfür bestimmten Stiftes in der Nulllage festgestellt hat, legt man die obere Einspannklemme mit Hilfe des hierzu angebrachten Hakens fest; dann wird die Antriebspindel durch Drehen des Handrades in die Höchstlage gebracht, die untere Klemme angehoben und mit der unter dem Nasenhebel befindlichen Schraube festgestellt. Durch völliges Hochschieben der Zugstangenhülse bringt man den Dehnungshebel in seine Nullstellung.
Nunmehr wird der Streifen eingespannt.
Nach erfolgter Einspannung befreit man die obere Klemme aus dem Haken, löst den Gewichtshebel durch Entfernung des Haltestiftes aus, legt die Sperrklinken ein und setzt den Apparat durch Drehen des Handrades in Tätigkeit.
Sobald der Streifen mit etwa ½ kg belastet ist, löst man, ohne mit dem Drehen aufzuhören, die Schraube, welche die untere Klemme hochhält, damit letztere beim Reißen des Streifens herunterfallen und den Dehnungshebel auslösen kann.
Nach dem Reißen des Streifens stehen, auch bei fortgesetztem Drehen des Handrades, die Hebel für Belastung und Dehnung still und gestatten so eine ruhige und sichere Ablesung.
Fig. 8 zeigt den Apparat nach der Beendigung des Zerreißversuches.
Je nach dem Verwendungszweck werden die Schopperschen Prüfer mehr oder weniger stark gebaut und mit einem mehr oder minder schweren Belastungsgewicht versehen. Der für Papierprüfungen meist verwendete Apparat ist für 30 kg höchste Kraft[S. 16]leistung bestimmt (Fig. 8). Für schwache Papiere bedient man sich zweckmäßiger eines Apparates von 10 kg Höchstleistung, weil in diesen Fällen der Ausschlag bei dem 30 kg Apparat zu klein sein würde. Handelt es sich um die Prüfung von Papieren mit sehr geringer Festigkeit, wie Seiden-, Kopier-, Zigarettenpapier u. s. w., so entfernt man das Belastungsgewicht vom Krafthebel; hierdurch wird die Empfindlichkeit des Prüfers erhöht und der Ausschlag des Hebels größer. Natürlich muß man für solche Fälle den Wert der Teilung des Kraftmaßstabes besonders feststellen.
Für noch genauere Messungen der Festigkeit schwacher Körper hat die Firma kürzlich einen Apparat gebaut (Fig. 9), bei dem der Krafthebel und die obere Klemme auf Schneiden gelagert sind; hierdurch ist eine sehr große Empfindlichkeit gewährleistet, und der[S. 17] Apparat kann zum Prüfen von Woll- und Baumwollhaaren, Bastbündeln u. s. w. benützt werden.[9]
 
Fig. 9.
  Schoppers Festigkeitsprüfer für Pflanzen- und Tierhaare,
  Elementarfasern, Bastbündel u. s. w.
Zur Prüfung von Pappe, starken Aktendeckeln u. s. w. dient ein Apparat bis zu 100 kg Kraftleistung[10] (Fig. 10). Bei diesem[S. 19] Apparat sind für die Kraftmessung 2 Teilungen vorgesehen, eine für das Arbeiten mit dem Hebel ohne Gewicht (Kraftleistung bis 50 kg) und eine zweite für den mit dem Gewicht belasteten Hebel (Kraftleistung bis 100 kg). Die Klemmen sind 50 mm breit. Im Übrigen ist dieser Prüfer so gebaut wie der oben beschriebene.
Der Antrieb der Apparate erfolgt mit der Hand; zur Erzielung größerer Gleichmäßigkeit bei der Versuchsausführung können sie aber auch für Wasserantrieb eingerichtet werden. Erforderlich hierfür ist ein Wasserleitungsdruck von 3–4 Atm.
Beim Aufstellen der Schopperschen Prüfer ist darauf zu achten, daß der Zeiger des unbelasteten Krafthebels auf Null und die Luftblase der am Gestell angebrachten Wasserwage in der Mitte einspielt. Die Reibung des Krafthebels in der Nähe des Nullpunktes ist nur unbedeutend, das Einspielen auf Null daher sehr befriedigend.
Die Gesamtreibung im Apparat ist sehr gering. In der Versuchsanstalt ist bereits eine ganze Anzahl geprüft worden, der Reibungsfehler war selbst im ungünstigsten Falle kleiner als 1% der Gesamtbelastung. Der Fehler verschwindet aber noch zum größten Teil, weil sich der Apparat während des Versuches niemals in absoluter Ruhe befindet, er ist daher für praktische Versuche ohne wesentliche Bedeutung.
Die Vorteile, die der Schoppersche Apparat gegenüber anderen hat, liegen, abgesehen von der soliden und kräftigen Ausführung, in dem Vermeiden von Spiralfedern, in der besseren Ablesung von Bruchlast und Bruchdehnung infolge der großen Maßstäbe und in der senkrechten Anordnung.
Durch das Vermeiden von Spiralfedern ist eine wiederholte Prüfung des Apparates auf die Zuverlässigkeit seiner Angaben nicht erforderlich; ist er vor der Benutzung geprüft und dann gut aufgestellt, so hat man nur darauf zu achten, daß er nicht durch Stoß oder Schlag beschädigt und daß er stets in sauberem Zustande gehalten wird.
Diese Umstände machen den Apparat für praktische Bedürfnisse besonders geeignet.
[9] Eine genaue Beschreibung des Apparates und die Ergebnisse seiner Prüfung hat Dalén in den Mitt. a. d. techn. Vers. Anst. 1901, S. 183 veröffentlicht.
[10] Zur Prüfung von Materialien, die noch größere Kräfte erfordern (starke Gewebe, Leder u. s. w.), werden nach denselben Grundsätzen noch stärkere Maschinen (bis zu 1000 kg Kraftleistung) gebaut.
Unter Hinweis auf Fig. 11–12 sei über den Bau und die Wirkungsweise des Prüfers folgendes gesagt:
Der Antrieb erfolgt durch ein Handrad a, welches bei vielen Apparaten auf Wunsch durch Schneckenrad und Schraube s ersetzt[S. 20] worden ist. Der Zapfen dieses Rades dreht sich in dem Lager l, welches mit dem Bett d aus einem Stück hergestellt ist. In diesem Zapfen, welcher ausgebohrt ist, wird die Schraube b, welche mit dem Schlitten c fest verbunden ist und mit deren Hilfe die Fortbewegung des Schlittens ermöglicht wird, geführt. Am Handrade befindet sich eine Mutter, bestehend aus der Hülse p und zwei Gewindebacken, welche durch einen Kurvenschub geöffnet beziehungsweise geschlossen werden können, je nachdem die Bewegung des Schlittens direkt mit der Hand oder mit Hilfe des Handrades bewirkt werden soll.
Bei einer Rechtsdrehung der Hülse wird die Verbindung geschlossen, d. h. das Gewinde der Backen greift in die Vertiefungen der Schraube; umgekehrt wird bei einer Linksdrehung die Verbindung geöffnet.
Die Einspannvorrichtung besteht aus 2 Klemmen k und k1, von denen die erstere am Wagen w, die letztere am Schlitten c befestigt ist. Zwischen den Backen dieser Klemmen wird der zu untersuchende Papierstreifen eingespannt. Die Backen sind senkrecht zur Zugachse wellenförmig ausgearbeitet, um ein Rutschen des Streifens in den Klemmen zu verhindern. Die Backen selbst werden durch Schrauben s1 und s2 zusammengepreßt.[12]
Die Kraftmessung geschieht mittels Schraubenfedern, deren der Apparat zwei von 9 und 20 kg Höchstkraftleistung besitzt. Die Feder wird an einem Ende durch die Hülse i gehalten, welche mit dem Bett d fest verbunden ist, am anderen durch den[S. 21] Wagen w. Die Zahnstange f ist mit dem Wagen w verbunden und wird durch die Hülse i geführt. Mit dem Bett durch Schrauben verbunden sind die Sperrklinken g, welche in die Zähne der Zahnstange greifen und, sobald das Papier gerissen, die Feder am Zurückschnellen hindern.
Der Wagen schiebt mit Hilfe des Hebels h den Schleppzeiger z vor sich her über den Kraftmaßstab r. Der Schleppzeiger besitzt eine Nullmarke, unter welcher man nach dem Zerreißen des Papiers auf dem Maßstab die Bruchbelastung in Kilogramm abliest.
Die Dehnung wird bestimmt durch die gegenseitige Verschiebung des Schleppzeigers, auf welchem der Dehnungsmaßstab O, geteilt nach den Prozenten einer normalen Streifenlänge von 180 mm, angebracht ist, und der Nullmarke des Schlittens. Man liest nach dem Zerreißen des zu untersuchenden Streifens die Dehnung direkt in Prozenten ab.
Um ein Papier mit diesem Apparate zu prüfen, hebt man zunächst die Sperrklinken auf, versetzt die Feder in Schwingungen und schiebt dann den Schleppzeiger behutsam an den Hebel heran; man sieht nun zu, ob die Nullmarke des Zeigers mit der des Maßstabes übereinstimmt; ist dies nicht der Fall, so verschiebt man letzteren so lange, bis die Marken sich decken. Man stellt jetzt die Feder vermittelst der Schraube t fest und verschiebt den Schlitten c, bis die beiden Nullmarken des Dehnungsmaßstabes und des Schlittens übereinstimmen. Jetzt nimmt man einen Streifen von dem zu untersuchenden Papier in den früher für die Normalstreifen angegebenen Größenverhältnissen, klemmt denselben ein, löst die Schraube t, legt die Sperrklinken ein und kann jetzt mit der Unter[S. 22]suchung beginnen, indem man das Rad in möglichst gleichmäßige und langsame Umdrehungen versetzt.
Nach dem Zerreißen des Streifens liest man Belastung sowie Dehnung ab, entlastet dann die Feder, indem man den Wagen mit der Hand festhält, die Sperrklinken auslöst und nun den Wagen mit der Feder langsam zurückgleiten läßt.
Um eine andere Feder einzusetzen, nimmt man den Wagen, drückt die Feder etwas zusammen, dreht sie um 90° und zieht den Wagen mit der Zahnstange heraus.
In der Versuchsanstalt werden vier dieser Wendlerschen Apparate elektrisch angetrieben; auf diese Weise wird ein sehr gleichmäßiger Gang erzielt.
Die von Martens entworfene Ausrückvorrichtung[13] setzt die Apparate im Augenblick des Streifenbruches außer Tätigkeit.
Fig. 12 zeigt den Apparat nach dem Bruch eines Streifens.
[11] Bezugsquelle H. Bollmann, Berlin S, Hasenhaide 63.
[12] Bei den Apparaten der Versuchsanstalt sind die Schraubenklemmen durch die besser wirkenden Exzenterklemmen mit ebenen Backen ersetzt worden (vergl. Fig. 7). Die jetzt in den Handel kommenden Wendlerschen Prüfer werden auf Wunsch ebenfalls mit diesen Klemmen versehen.
[13] Beschrieben und abgebildet im Sonderheft III der Mitt. a. d. t. Versuchsanstalten 1887.
Unter Hinweis auf Fig. 13–14 sei hier das zum Verständnis des Apparates Nötige gesagt.
Der zu untersuchende Streifen wird durch die Klemmen a und b festgelegt, deren wellenförmig eingeschnittene Backen das Herausziehen des Streifens während des Versuchs verhindern sollen. Die eine der Klemmen b ist mit der Vorrichtung der Kraftübertragung verbunden, während die andere sich an einem beweglichen Bock A befindet, der an jeder Stelle durch eine Schraube fest mit dem Grundbett verbunden werden kann. Der Bock trägt ferner eine mit einer Marke versehene Messingscheibe, welche auf einer im Bett eingelegten Meterteilung in jeder Stellung die Entfernung der Vorderkanten der beiden Klemmen a und b voneinander angibt.
Die zweite Klemme b ist durch den Wagen B mit der Schraubenfeder F, welche zum Zerreißen des Probestreifens dient, verbunden. F muß sich also beim Versuch soweit elastisch ausdehnen, als dem Widerstande, welchen der Papierstreifen dem Zerreißen entgegensetzt, entspricht. Gleichzeitig folgt jedoch der Wagen dem Zuge der Feder um soviel, als das Papier sich bis zum Bruche dehnt. Diese beiden Bewegungen, die Ausdehnung der Feder und die Verschiebung des Wagens, werden auf den Zeichenstift G übertragen, welcher die Versuchslinien auf dem hierfür angebrachten Papier verzeichnet.
Die senkrechten Ordinaten entsprechen den Federausdehnungen und somit den zum Zerreißen erforderlich gewesenen Zugkräften und die wagerechten Ordinaten den diesen Zugkräften entsprechenden Dehnungen der Probestreifen.
Die Tafel (Fig. 14), welche das Papier für die Schaulinien trägt, läßt sich wagerecht verschieben, so daß es auf diese Weise möglich ist, mehrere Kurven nebeneinander zu zeichnen.
Zu jedem Apparat gehören 3 verschiedene Federn, je eine von 4, 9 und 18 kg Zugkraft; zu jeder derselben gehört ein Maßstab, welcher bei jeder Ausdehnung der Feder die hierfür aufzuwendende Kraft in kg angibt. Man halte bei allen Versuchen den Grundsatz fest, die schwächste Feder anzuwenden und nicht etwa ein Papier mit der 18 kg Feder zu prüfen, welches schon bei einer Belastung von 7 kg zerreißt, denn je stärker die Feder ist, um so größer sind die Ablesungsfehler am Maßstab. Es kann sogar vorkommen, daß man bei Prüfung einer Papiersorte mit Vorteil zwei verschiedene Federn anwendet, wenn zum Zerreißen der Querrichtung eine schwächere Feder genügt als für die Maschinenrichtung.
Nachdem so kurz das Wichtigste über den Bau des Apparates auseinandergesetzt ist, mag zur Beschreibung der Ausführung des Versuchs selbst übergegangen werden.
Der Bock A wird so festgelegt, daß die vorhin erwähnte Marke mit dem Teilstrich 0,18 m der Meterteilung zusammenfällt; der Wagen B wird durch einen Stift O festgehalten. Der Streifen wird so zwischen die Klemmen a und b gelegt, daß er keine Durchbiegung zeigt, und nun werden die Schrauben mit Hilfe des hierfür gefertigten Schlüssels schwach angezogen. Man löst alsdann den Bock A wieder, verschiebt ihn ein wenig in der Richtung nach B zu und zieht die Klemmschrauben fest an; würde man das stärkere Anziehen bei straff gespanntem Streifen vornehmen, so liefe man Gefahr, ihn einzureißen.
Man bringt nunmehr den Zeichenstift G aus seiner Ruhelage, so daß er sich gegen das auf der Schreibtafel aufgespannte Papier legt, und zieht die Feder an; dadurch wird auf dem Papier die senkrechte Nulllinie aufgezeichnet, die für die spätere Auszeichnung der einzelnen Schaulinien von Wichtigkeit ist. Eine wagerechte Nulllinie zu zeichnen, ist nicht ratsam, da der Stift nicht in allen Stellungen des Wagens B sich in gleicher Höhe befindet. Aus diesem Grunde muß man darauf achten, daß sich der Streifen bei Beginn eines jeden Versuchs nicht in gespanntem Zustand befindet, damit der Zeichenstift erst eine kurze Strecke horizontal vorgehen kann, ehe er durch die Spannung der Feder nach unten getrieben wird. So befindet sich an jedem einzelnen Diagramm die für die Bestimmung nötige horizontale Nulllinie.
Nachdem man den Bock A nun ungefähr auf eine Entfernung von 0,17 m festgeschraubt hat, so daß der Streifen schlaff zwischen[S. 25] den Klemmen hängt, entfernt man den Stift O, legt die Sperrhaken ein, welche beim Bruch des Streifens das Zusammenschnellen der Feder verhindern, und schließt die Schraubenmutter E, welche mit dem Handrad D verbunden ist. Durch langsames und gleichmäßiges Drehen des Rades, bei welchem man jede Unterbrechung und jedes stoßweise Vorgehen sorgfältig zu vermeiden hat, wird nunmehr der Apparat in Tätigkeit gesetzt. Je langsamer und gleichmäßiger die Versuche ausgeführt werden, um so besser werden die einzelnen Resultate untereinander übereinstimmen.
Ist die Spannung der Feder so groß geworden, daß sie gleich dem Widerstand ist, welchen der Papierstreifen leistet, so zerreißt der letztere, und der Versuch ist als beendigt anzusehen; der Stift wird vom Diagramm abgehoben, die Schraubenmutter E geöffnet, der Wagen verschoben, bis der Stift O eingesetzt werden kann und dann die Feder ausgelöst.
Der Streifen wird darauf unmittelbar an den Klemmen abgerissen und der Apparat kann nun zum Zerreißen des zweiten Streifens benutzt werden. Erfolgt der Bruch des Streifens nicht mindestens 1 cm von der Einspannvorrichtung entfernt, so ist es geraten, den Versuch als ungiltig zu betrachten, weil die Vermutung nahe liegt, daß der Streifen schief eingespannt war.
Sind auf oben angegebene Weise aus der Maschinenrichtung und Querrichtung je 5 Streifen zerrissen worden, so wird deren Gewicht, jede Richtung für sich, bestimmt, und es kann nunmehr an die Auszeichnung und Ausmessung des Schaubildes gegangen werden.
Fig. 15 zeigt 10 Schaulinien, wie sie bei Prüfung eines Konzeptpapiers erhalten wurden. Die Querrichtung konnte mit Hilfe der 4 kg Feder zerrissen werden, während für die Maschinenrichtung die nächst stärkere Feder angewendet werden mußte. Bei der Ausmessung ist zu empfehlen, die Anfangs- und Endpunkte a und e durch feine Nadelstiche hervorzuheben und dann erst die Anfangspunkte horizontal und die Endpunkte vertikal zu projizieren. Die Entfernung vom Schnittpunkt dieser beiden Linien bis zum Punkt a gibt die Dehnung des Streifens an, die Entfernung des[S. 26]selben Punktes vom Punkte e die Ausdehnung der Feder und somit das Maß für die zum Zerreißen des Streifens notwendig gewesene Kraft. Beide Längen werden mit den für sie bestimmten Maßstäben ausgemessen, wobei es genügt, wenn die Bruchdehnung auf eine und die Bruchbelastung auf zwei Dezimalstellen bestimmt wird.
Die Ergebnisse, die der Apparat liefert, sind bei richtiger und gewissenhafter Handhabung recht zuverlässig.
Von Wert ist, daß das Schaubild als Versuchsurkunde aufbewahrt und jederzeit zur Kontrolle der Prüfung herangezogen werden kann.
Anders liegen die Verhältnisse, wenn man den Apparat vom Standpunkte des Praktikers aus beurteilt; für diesen, dem es darauf ankommt, möglichst schnell über die Festigkeit eines Papiers Aufschluß zu erhalten, ist das Auszeichnen und Ausmessen der Schaulinie eine zeitraubende Arbeit; deshalb ist der Apparat für die Praxis weniger geeignet als die vorstehend beschriebenen, die direkte Ablesung von Bruchbelastung und Bruchdehnung gestatten.
Der Hartig-Reuschsche Apparat wird in der oben beschriebenen Ausführung nicht mehr angefertigt.[14] Der Erbauer, Mechaniker Leuner in Dresden, hat ihm, unter Beibehaltung des Grundgedankens, eine etwas andere Gestalt gegeben (Fig. 16). Der wesentlichste Unterschied gegenüber dem alten Apparat liegt in der Änderung der Schreibvorrichtung und in dem kräftigeren Ausbau der einzelnen Teile.
Die Vorrichtung zum Aufzeichnen der Bruchlast und Dehnung besteht aus dem Zeichenstift C und der Zeichenwalze B. Letztere ist auf die Zugstange des Wagens A drehbar aufgesteckt und durch zwei Kegelräder und Stahlbändchen mit dem Gestell derart verbunden, daß jede Verschiebung des Wagens A eine Drehung der Zeichenwalze B herbeiführt.
Zum Antrieb dient ein im Gestell gelagertes Handrad, welches beim Drehen unter Vermittelung einer Schraube eine Schraubenfeder spannt. Die Federspannung wird durch die Achse der Zeichenwalze B auf den Wagen A und somit auf den eingespannten Probestreifen übertragen. Der Zeichenstift C wird dabei, der Federspannung entsprechend, in der Richtung der Achse der Zeichenwalze verschoben; gleichzeitig folgt der Wagen A dem Zuge der Feder um soviel, als der Probestreifen sich bis zum Bruche dehnt. Diese Verschiebung des Wagens A hat eine Drehung der Zeichenwalze B zur Folge, so daß eine Kurve aufgezeichnet wird, deren Ordinate der Festigkeit und deren Abscisse der Dehnung des Probestreifens entspricht.
Die Zeichenwalze B ist verstellbar eingerichtet, so daß es möglich ist, mehrere Schaulinien nebeneinander zu zeichnen.
Nach dem Bruch des Probestreifens hindern zwei Sperrklinken das Zurückschnellen der Feder. Bei geringer Spannung kann die Auslösung der Feder mit der Hand geschehen, indem man den Wagen A soweit nach rechts zieht, daß die Sperrklinken aufgehoben und nach links umgelegt werden können; hierauf läßt man den Wagen nach links gleiten, bis die Feder in ihre Ruhelage gekommen ist. Bei größerer Spannung dagegen muß die[S. 28] Auslösung mit Hilfe der Schraubenmutter und des Handrades vollführt werden. Der Wagen wird mittels der angebrachten Haken mit dem Gestell verbunden, dann werden die Sperrklinken nach dem Drehen des Handrades nach links gelegt, und die Feder wird durch Rückwärtsdrehen des Handrades in ihre Ruhelage gebracht.
Das Ausmessen der gezeichneten Linien geschieht in folgender Weise. Auf einer Glasplatte (Fig. 17) befinden sich zwei parallele Linien d und e und eine hierzu senkrechte oc; der Kraftmaßstab ist entlang dieser Senkrechten und der Dehnungsmaßstab entlang der unteren Linie e angebracht; beide Maßstäbe haben den Nullpunkt gemeinschaftlich bei o. Man legt die Glasplatte mit der geteilten Seite derart auf die Schaulinien, daß sich die Abscisse AA1 (Nulllinie) zwischen den Linien de befindet. Nunmehr bringt man ein Lineal F an die untere Kante dieser Glasplatte, hält das Lineal fest und verschiebt die Platte an letzterem soweit, bis die Senkrechte oc die Bruchstelle bei B schneidet. In dieser Stellung der Glasplatte liest man die Bruchlast bei B und die Dehnung am Prozentmaßstab ab. Da alle Schaulinien eine gemeinschaftliche Nulllinie haben, so kann man die Glasplatte, indem man sie ohne weiteres dem Lineal entlang verschiebt, über jede einzelne Schaulinie bringen und die Werte ablesen. (Die Teilungen sind auf der unteren, dem Papier zugekehrten Seite der Glasplatte eingraviert, man liest deshalb die Werte ohne parallaktischen Fehler ab.)
Jedem Prüfer werden zwei Schraubenfedern von 10 und 20 kg höchster Kraftleistung beigegeben.
[14] Er wurde indessen eingehend beschrieben, weil er wohl noch an manchen Stellen, namentlich zur Ausführung wissenschaftlicher Prüfungen, in Gebrauch ist; ferner hat er geschichtliche Bedeutung, denn Hartig und Hoyer haben ihn bei ihren grundlegenden Arbeiten über die Einteilung der Papiere nach Reißlänge und Dehnung benützt.
Während die beim Zerreißen von Papier gefundene Bruchdehnung unmittelbar zur Beurteilung herangezogen werden kann, ist dies bei der Bruchlast ausgeschlossen, da sie mit der Breite und Dicke des Probestreifens wechselt. Eine Verteilung der Bruchlast auf den Querschnitt würde mit großen Fehlern behaftet sein.
Man hat deshalb, um von dem Einfluß der Breite und Dicke des Streifens unabhängig zu werden, nach Hartigs Vorschlag den von Reuleaux geschaffenen Begriff der Reißlänge eingeführt. Man versteht unter Reißlänge diejenige Länge eines Papierstreifens von beliebiger (aber gleichbleibender) Breite und Dicke, bei welcher er, an einem Ende aufgehängt gedacht, infolge seines eigenen Gewichtes am Aufhängepunkt abreißen würde. Diese Länge kann aus der ermittelten Bruchlast abgeleitet werden. Ist z. B. G das Gewicht eines 0,18 m langen Streifens in g, welcher bei einer Belastung von K kg zer[S. 29]reißt, so muß berechnet werden, wie lang der Streifen sein muß, um K kg schwer zu sein; d. h. wenn man diese gesuchte Länge mit x bezeichnet:
Die schließliche Angabe der Reißlänge erfolgt dann meist in m, während die Berechnung der kleineren Zahlen wegen in km erfolgt.
Aus dieser Hartigschen Formel ist ohne weiteres ersichtlich, daß die Breite des Streifens keinen Einfluß auf die Reißlänge ausüben kann; bei Verdoppelung der Breite würde z. B. zwar eine Verdoppelung von K eintreten, aber auch gleichzeitig eine solche von G, so daß das Verhältnis wieder dasselbe wäre.
Die Hoyersche Formel zur Berechnung der Reißlänge lautet:
(R = Reißlänge in Metern, p = Bruchlast in Grammen, b = Breite des zerrissenen Streifens in Millimetern, g = Gewicht eines Quadratmeters des untersuchten Papiers). Diese Formel zu benützen, wird sich besonders in Fabriken empfehlen, da hier das Quadratmetergewicht bekannt ist; man kann dann das Auswiegen der Streifen sparen.
Der weiteren Besprechung über die Berechnung der Reißlänge mögen die bei Prüfung eines Normalpapiers 3a ermittelten Werte zu Grunde gelegt werden.
Versuchs-Ergebnisse.
| Maschinenrichtung | Querrichtung | ||||||||
| Streifen aus dem Bogen Nr. | Bruch- be- lastung kg | Bruch- dehnung % | Gewicht der fünf Streifen | Streifen aus dem Bogen Nr. | Bruch- be- lastung kg | Bruch- dehnung % | Gewicht der fünf Streifen | ||
| luft- trocken g | bei 100° C getrocknet g | luft- trocken g | bei 100° C getrocknet g | ||||||
| 1 |  7,46 |  2,4 |  |  | 1 |  3,85 |  5,4 |  |  | 
| 2 |  6,84 |  2,3 |  |  | 2 |  3,80 |  5,3 |  |  | 
| 3 |  7,38 |  2,4 |  |  | 3 |  4,04 |  4,5 |  |  | 
| 4 |  6,49 |  2,4 |  |  | 4 |  4,20 |  5,0 |  |  | 
| 5 |  6,31 |  2,5 |  |  | 5 |  3,97 |  5,1 |  |  | 
| Summe | 34,48 | 12,0 | 1,220 | 1,128 | Summe | 19,86 | 25,3 | 1,233 | 1,140 | 
| Mittel |  6,90 |  2,4 |  | 0,226 | Mittel |  3,97 |  5,1 |  | 0,228 | 
| Maschinenrichtung | ||||
| Streifen aus dem Bogen Nr. | Bruch- be- lastung kg | Bruch- dehnung % | Gewicht der fünf Streifen | |
| luft- trocken g | bei 100° C getrocknet g | |||
| 1 |  7,46 |  2,4 |  |  | 
| 2 |  6,84 |  2,3 |  |  | 
| 3 |  7,38 |  2,4 |  |  | 
| 4 |  6,49 |  2,4 |  |  | 
| 5 |  6,31 |  2,5 |  |  | 
| Summe | 34,48 | 12,0 | 1,220 | 1,128 | 
| Mittel |  6,90 |  2,4 |  | 0,226 | 
| Querrichtung | ||||
| Streifen aus dem Bogen Nr. | Bruch- be- lastung kg | Bruch- dehnung % | Gewicht der fünf Streifen | |
| luft- trocken g | bei 100° C getrocknet g | |||
| 1 |  3,85 |  5,4 |  |  | 
| 2 |  3,80 |  5,3 |  |  | 
| 3 |  4,04 |  4,5 |  |  | 
| 4 |  4,20 |  5,0 |  |  | 
| 5 |  3,97 |  5,1 |  |  | 
| Summe | 19,86 | 25,3 | 1,233 | 1,140 | 
| Mittel |  3,97 |  5,1 |  | 0,228 | 
Aus dem Unterschied in dem Gewicht der Streifen bei Zimmerwärme und bei 100° C. getrocknet ergibt sich zunächst für das Papier ein mittlerer Feuchtigkeitsgehalt von 7,5%.
Nach der oben angeführten Formel für die Reißlänge ergibt sich ferner für die Maschinenrichtung eine Reißlänge von rund 5,5 km = 5500 m, für die Querrichtung eine solche von 3,15 km = 3150 m, im Mittel also 4325 m.
Als mittlere Bruchdehnung ergibt sich ohne weiteres 3,8%.
Auf Grund dieser Mittelwerte[15] würde die Einreihung des Papiers in eine der sechs Festigkeitsklassen erfolgen.
Den Bruch: Länge durch Gewicht des Streifens, mit welchem man, wie oben gezeigt, die durch den Versuch gefundene Bruchbelastung multiplizieren muß, um die Reißlänge zu erhalten, nennt man die Feinheitsnummer des Papiers. Da sich diese bei gleicher Länge der Probestreifen für unsere gewöhnlichen Schreib- und Druckpapiere innerhalb gewisser Grenzen bewegt, so ist eine Tabelle aufgestellt worden, welche bei einer Streifenlänge von 0,18 m für die am meisten vorkommenden Gewichte (0,100 bis 0,419 g) die direkte Ablesung der Feinheitsnummer gestattet.
Mit Hilfe der Tabelle vereinfacht sich die Berechnung der Reißlänge bedeutend, indem man nur die unter dem Werte für das mittlere Trockengewicht der geprüften fünf Streifen stehende Zahl mit der mittleren Bruchbelastung in kg und mit 1000 zu multiplizieren hat, um die Reißlänge in Metern zu erhalten.
Auf die Berechnung des Arbeitsmoduls, der den Begriff der Reißlänge und Dehnung in sich vereinigt, indem er den Arbeitsaufwand und zwar in Meterkilogramm darstellt, bezogen auf einen Streifen von 1 m Länge und 1 g Gewicht, soll nicht eingegangen werden, da von der Einreihung des Arbeitsmoduls in die für die Normalpapiere aufgestellten Tabellen Abstand genommen ist.[16] Wer sich eingehender hierüber unterrichten will, findet nähere Angaben in der Originalarbeit von Prof. Hartig in Dresden (Papier-Zeitung 1881).
[15] Die von verschiedenen Seiten aufgestellte Forderung, für die Einteilung der Papiere nicht nur die Mittelwerte vorzuschreiben, sondern auch für das Verhältnis der Querfestigkeit zur Längsfestigkeit Bestimmungen zu treffen, wird man auf die Dauer nicht von der Hand weisen können.
[16] Vergl. a. Hoyer, Entstehung und Bedeutung der Papiernormalien. 1888. S. 13.
Dieser Papierprüfer unterscheidet sich von den bisher besprochenen
zunächst dadurch, daß beim Prüfen nicht Streifen,[S. 31]
[S. 32] sondern
Blättchen von Papier zur Verwendung kommen. Die Kraft wird bei
diesem Apparat durch eine Feder ausgeübt, welche auf einen Stempel
drückt, der das fest gespannte Papier durchlochen soll (Fig. 18).
In einer Hülse a, auf welcher eine Millimeterteilung angebracht ist, befindet sich eine Feder b, welche auf der einen Seite auf eine Scheibe c drückt, an welcher ein kleiner Stempel d befestigt ist.
Von der anderen Seite der Scheibe c geht ein Stift e durch das Innere der Feder b und berührt mit seinem Ende den Stift f, welcher ebenfalls eine Millimeterteilung trägt und in einer Führung g, an welcher ein Nonius angebracht ist, verschoben werden kann. Diese Führung g, die als Fortsetzung eine Schraubenspindel h besitzt, welche in die an der Hülse a befestigte Schraubenmutter i hineingeschraubt werden kann, ist an einer Hülse k angebracht; diese Hülse k, deren Umfang in 100 Teile geteilt ist, gleitet über Hülse a weg.
Der Handgriff l an der Scheibe c, welcher in einen Schlitz vorgeschoben werden kann, dient dazu, den Stempel d während des Einspannens niederzudrücken. Das Einspannen des Papiers erfolgt bei n, indem der Deckel o, welchen Fig. 18 auch im Durchschnitt darstellt, durch die Schraube p gegen das Ende der Hülse a gedrückt wird, und zwar paßt eine Erhöhung des Deckels o in eine Vertiefung der Hülsenwand, so daß das Papier ganz gleichmäßig eingespannt wird. Die Prüfung geschieht in folgender Weise.
Nachdem das Papier, welches man am besten in Blättchen von[S. 33] 3 qcm schneidet, bei n eingespannt ist und beide Millimeterteilungen auf Null eingestellt sind, wird durch Hülse k die Schraubenspindel h vorwärts geschraubt, wodurch auf die Feder b ein Druck ausgeübt wird. Um diesen Druck gleichmäßig auf die Feder b zu verteilen, ist zwischen der Feder und der Schraubenspindel ein loses dünnes Scheibchen q angebracht, welches im Mittelpunkt durchlocht ist und welchem der Stift e als Führung dient. Der Druck der Feder überträgt sich nun auf die mit dem Stempel d versehene Scheibe c, und der Stempel dehnt das Papier, bis die Federspannung der Kraft, welche zum Durchlochen des Papiers erforderlich ist, entspricht. Der Stift f wird von der Führung g mitgenommen; er ist an der Drehung in der Hülse durch die Nute und Feder r verhindert und gibt, da er mit e in steter Berührung bleibt, in seiner Verschiebung gegen g die Bruchbelastung an, während die Ablesung an der Hülse a die Summe von Bruchbelastung und Dehnung anzeigt.
Zieht man also von der an der Hülse a abgelesenen Größe die an dem Stift g abgelesene ab, so ergibt sich eine Größe, welche der Durchbiegung des Papiers entspricht.
Im Papierlager zur schnellen Vergleichung verschiedener Papiersorten kann dieser kleine Apparat vielleicht oft mit Vorteil verwendet werden. Zur Ermittelung von Reißlänge und Dehnung ist er nicht geeignet.
[17] A. Martens gibt im Ergänzungsheft III der „Mitteilungen aus den technischen Versuchsanstalten 1887“ eine ausführliche Beschreibung des Apparates unter Mitteilung von Versuchsergebnissen.
Die starkgedruckten Zahlen beziehen sich auf das Gewicht eines Streifens von 0,18 m Länge, die darunter stehenden schwachgedruckten geben die zugehörigen Feinheitsnummern an.
| 0,100 | 0,120 | 0,140 | 0,160 | 0,180 | 0,200 | 0,220 | 0,240 | 0,260 | 0,280 | 0,300 | 0,320 | 0,340 | 0,360 | 0,380 | 0,400 | 
| 1,800 | 1,500 | 1,286 | 1,125 | 1,000 | 0,900 | 0,818 | 0,750 | 0,692 | 0,643 | 0,600 | 0,563 | 0,529 | 0,500 | 0,474 | 0,450 | 
| 0,101 | 0,121 | 0,141 | 0,161 | 0,181 | 0,201 | 0,221 | 0,241 | 0,261 | 0,281 | 0,301 | 0,321 | 0,341 | 0,361 | 0,381 | 0,401 | 
| 1,782 | 1,488 | 1,277 | 1,118 | 0,994 | 0,896 | 0,814 | 0,747 | 0,690 | 0,641 | 0,598 | 0,561 | 0,528 | 0,499 | 0,472 | 0,449 | 
| 0,102 | 0,122 | 0,142 | 0,162 | 0,182 | 0,202 | 0,222 | 0,242 | 0,262 | 0,282 | 0,302 | 0,322 | 0,342 | 0,362 | 0,382 | 0,402 | 
| 1,765 | 1,475 | 1,268 | 1,111 | 0,989 | 0,891 | 0,811 | 0,744 | 0,687 | 0,638 | 0,596 | 0,559 | 0,526 | 0,497 | 0,471 | 0,448 | 
| 0,103 | 0,123 | 0,143 | 0,163 | 0,183 | 0,203 | 0,223 | 0,243 | 0,263 | 0,283 | 0,303 | 0,323 | 0,343 | 0,363 | 0,383 | 0,403 | 
| 1,748 | 1,463 | 1,259 | 1,104 | 0,984 | 0,887 | 0,807 | 0,741 | 0,684 | 0,636 | 0,594 | 0,557 | 0,525 | 0,496 | 0,470 | 0,447 | 
| 0,104 | 0,124 | 0,144 | 0,164 | 0,184 | 0,204 | 0,224 | 0,244 | 0,264 | 0,284 | 0,304 | 0,324 | 0,344 | 0,364 | 0,384 | 0,404 | 
| 1,731 | 1,452 | 1,250 | 1,098 | 0,978 | 0,882 | 0,804 | 0,738 | 0,682 | 0,634 | 0,592 | 0,556 | 0,523 | 0,495 | 0,469 | 0,446 | 
| 0,105 | 0,125 | 0,145 | 0,165 | 0,185 | 0,205 | 0,225 | 0,245 | 0,265 | 0,285 | 0,305 | 0,325 | 0,345 | 0,365 | 0,385 | 0,405 | 
| 1,714 | 1,440 | 1,241 | 1,091 | 0,973 | 0,878 | 0,800 | 0,735 | 0,679 | 0,632 | 0,590 | 0,554 | 0,522 | 0,493 | 0,468 | 0,444 | 
| 0,106 | 0,126 | 0,146 | 0,166 | 0,186 | 0,206 | 0,226 | 0,246 | 0,266 | 0,286 | 0,306 | 0,326 | 0,346 | 0,366 | 0,386 | 0,406 | 
| 1,698 | 1,429 | 1,233 | 1,084 | 0,968 | 0,874 | 0,796 | 0,732 | 0,677 | 0,629 | 0,588 | 0,552 | 0,520 | 0,492 | 0,466 | 0,443 | 
| 0,107 | 0,127 | 0,147 | 0,167 | 0,187 | 0,207 | 0,227 | 0,247 | 0,267 | 0,287 | 0,307 | 0,327 | 0,347 | 0,367 | 0,387 | 0,407 | 
| 1,682 | 1,417 | 1,224 | 1,078 | 0,963 | 0,870 | 0,793 | 0,729 | 0,674 | 0,627 | 0,586 | 0,550 | 0,519 | 0,490 | 0,465 | 0,442 | 
| 0,108 | 0,128 | 0,148 | 0,168 | 0,188 | 0,208 | 0,228 | 0,248 | 0,268 | 0,288 | 0,308 | 0,328 | 0,348 | 0,368 | 0,388 | 0,408 | 
| 1,667 | 1,406 | 1,216 | 1,071 | 0,957 | 0,863 | 0,789 | 0,726 | 0,672 | 0,625 | 0,584 | 0,549 | 0,517 | 0,489 | 0,464 | 0,441 | 
| 0,109 | 0,129 | 0,149 | 0,169 | 0,189 | 0,209 | 0,229 | 0,249 | 0,269 | 0,289 | 0,309 | 0,329 | 0,349 | 0,369 | 0,389 | 0,409 | 
| 1,651 | 1,395 | 1,208 | 1,065 | 0,952 | 0,861 | 0,786 | 0,723 | 0,669 | 0,623 | 0,583 | 0,547 | 0,516 | 0,488 | 0,463 | 0,440 | 
| 0,110 | 0,130 | 0,150 | 0,170 | 0,190 | 0,210 | 0,230 | 0,250 | 0,270 | 0,290 | 0,310 | 0,330 | 0,350 | 0,370 | 0,390 | 0,410 | 
| 1,636 | 1,385 | 1,200 | 1,059 | 0,947 | 0,857 | 0,783 | 0,720 | 0,667 | 0,621 | 0,581 | 0,545 | 0,514 | 0,486 | 0,462 | 0,439 | 
| 0,111 | 0,131 | 0,151 | 0,171 | 0,191 | 0,211 | 0,231 | 0,251 | 0,271 | 0,291 | 0,311 | 0,331 | 0,351 | 0,371 | 0,391 | 0,411 | 
| 1,622 | 1,374 | 1,192 | 1,053 | 0,942 | 0,853 | 0,779 | 0,717 | 0,664 | 0,619 | 0,579 | 0,544 | 0,513 | 0,485 | 0,460 | 0,438 | 
| 0,112 | 0,132 | 0,152 | 0,172 | 0,192 | 0,212 | 0,232 | 0,252 | 0,272 | 0,292 | 0,312 | 0,332 | 0,352 | 0,372 | 0,392 | 0,412 | 
| 1,607 | 1,364 | 1,184 | 1,047 | 0,937 | 0,849 | 0,776 | 0,714 | 0,662 | 0,616 | 0,577 | 0,542 | 0,511 | 0,484 | 0,459 | 0,437 | 
| 0,113 | 0,133 | 0,153 | 0,173 | 0,193 | 0,213 | 0,233 | 0,253 | 0,273 | 0,293 | 0,313 | 0,333 | 0,353 | 0,373 | 0,393 | 0,413 | 
| 1,593 | 1,353 | 1,176 | 1,040 | 0,933 | 0,845 | 0,773 | 0,711 | 0,659 | 0,614 | 0,575 | 0,541 | 0,510 | 0,483 | 0,458 | 0,436 | 
| 0,114 | 0,134 | 0,154 | 0,174 | 0,194 | 0,214 | 0,234 | 0,254 | 0,274 | 0,294 | 0,314 | 0,334 | 0,354 | 0,374 | 0,394 | 0,414 | 
| 1,579 | 1,343 | 1,169 | 1,034 | 0,928 | 0,841 | 0,769 | 0,709 | 0,657 | 0,612 | 0,573 | 0,539 | 0,508 | 0,481 | 0,457 | 0,435 | 
| 0,115 | 0,135 | 0,155 | 0,175 | 0,195 | 0,215 | 0,235 | 0,255 | 0,275 | 0,295 | 0,315 | 0,335 | 0,355 | 0,375 | 0,395 | 0,415 | 
| 1,565 | 1,333 | 1,161 | 1,029 | 0,923 | 0,837 | 0,766 | 0,706 | 0,655 | 0,610 | 0,571 | 0,537 | 0,507 | 0,480 | 0,456 | 0,434 | 
| 0,116 | 0,136 | 0,156 | 0,176 | 0,196 | 0,216 | 0,236 | 0,256 | 0,276 | 0,296 | 0,316 | 0,336 | 0,356 | 0,376 | 0,396 | 0,416 | 
| 1,552 | 1,324 | 1,154 | 1,023 | 0,918 | 0,833 | 0,763 | 0,703 | 0,652 | 0,608 | 0,570 | 0,536 | 0,506 | 0,479 | 0,455 | 0,433 | 
| 0,117 | 0,137 | 0,157 | 0,177 | 0,197 | 0,217 | 0,237 | 0,257 | 0,277 | 0,297 | 0,317 | 0,337 | 0,357 | 0,377 | 0,397 | 0,417 | 
| 1,538 | 1,314 | 1,146 | 1,017 | 0,914 | 0,829 | 0,759 | 0,700 | 0,650 | 0,606 | 0,568 | 0,534 | 0,504 | 0,477 | 0,453 | 0,432 | 
| 0,118 | 0,138 | 0,158 | 0,178 | 0,198 | 0,218 | 0,238 | 0,258 | 0,278 | 0,298 | 0,318 | 0,338 | 0,358 | 0,378 | 0,398 | 0,418 | 
| 1,525 | 1,304 | 1,139 | 1,011 | 0,909 | 0,826 | 0,756 | 0,698 | 0,647 | 0,604 | 0,566 | 0,533 | 0,503 | 0,476 | 0,452 | 0,431 | 
| 0,119 | 0,139 | 0,159 | 0,179 | 0,199 | 0,219 | 0,239 | 0,259 | 0,279 | 0,299 | 0,319 | 0,339 | 0,359 | 0,379 | 0,399 | 0,419 | 
| 1,513 | 1,295 | 1,132 | 1,006 | 0,905 | 0,822 | 0,753 | 0,695 | 0,645 | 0,602 | 0,564 | 0,531 | 0,501 | 0,475 | 0,451 | 0,430 | 
| 0,100 | 0,101 | 0,102 | 0,103 | 0,104 | 0,105 | 0,106 | 0,107 | 0,108 | 0,109 | 
| 1,800 | 1,782 | 1,765 | 1,748 | 1,731 | 1,714 | 1,698 | 1,682 | 1,667 | 1,651 | 
| 0,110 | 0,111 | 0,112 | 0,113 | 0,114 | 0,115 | 0,116 | 0,117 | 0,118 | 0,119 | 
| 1,636 | 1,622 | 1,607 | 1,593 | 1,579 | 1,565 | 1,552 | 1,538 | 1,525 | 1,513 | 
| 0,120 | 0,121 | 0,122 | 0,123 | 0,124 | 0,125 | 0,126 | 0,127 | 0,128 | 0,129 | 
| 1,500 | 1,488 | 1,475 | 1,463 | 1,452 | 1,440 | 1,429 | 1,417 | 1,406 | 1,395 | 
| 0,130 | 0,131 | 0,132 | 0,133 | 0,134 | 0,135 | 0,136 | 0,137 | 0,138 | 0,139 | 
| 1,385 | 1,374 | 1,364 | 1,353 | 1,343 | 1,333 | 1,324 | 1,314 | 1,304 | 1,295 | 
| 0,140 | 0,141 | 0,142 | 0,143 | 0,144 | 0,145 | 0,146 | 0,147 | 0,148 | 0,149 | 
| 1,286 | 1,277 | 1,268 | 1,259 | 1,250 | 1,241 | 1,233 | 1,224 | 1,216 | 1,208 | 
| 0,150 | 0,151 | 0,152 | 0,153 | 0,154 | 0,155 | 0,156 | 0,157 | 0,158 | 0,159 | 
| 1,200 | 1,192 | 1,184 | 1,176 | 1,169 | 1,161 | 1,154 | 1,146 | 1,139 | 1,132 | 
| 0,160 | 0,161 | 0,162 | 0,163 | 0,164 | 0,165 | 0,166 | 0,167 | 0,168 | 0,169 | 
| 1,125 | 1,118 | 1,111 | 1,104 | 1,098 | 1,091 | 1,084 | 1,078 | 1,071 | 1,065 | 
| 0,170 | 0,171 | 0,172 | 0,173 | 0,174 | 0,175 | 0,176 | 0,177 | 0,178 | 0,179 | 
| 1,059 | 1,053 | 1,047 | 1,040 | 1,034 | 1,029 | 1,023 | 1,017 | 1,011 | 1,006 | 
| 0,180 | 0,181 | 0,182 | 0,183 | 0,184 | 0,185 | 0,186 | 0,187 | 0,188 | 0,189 | 
| 1,000 | 0,994 | 0,989 | 0,984 | 0,978 | 0,973 | 0,968 | 0,963 | 0,957 | 0,952 | 
| 0,190 | 0,191 | 0,192 | 0,193 | 0,194 | 0,195 | 0,196 | 0,197 | 0,198 | 0,199 | 
| 0,947 | 0,942 | 0,937 | 0,933 | 0,928 | 0,923 | 0,918 | 0,914 | 0,909 | 0,905 | 
| 0,200 | 0,201 | 0,202 | 0,203 | 0,204 | 0,205 | 0,206 | 0,207 | 0,208 | 0,209 | 
| 0,900 | 0,896 | 0,891 | 0,887 | 0,882 | 0,878 | 0,874 | 0,870 | 0,865 | 0,861 | 
| 0,210 | 0,211 | 0,212 | 0,213 | 0,214 | 0,215 | 0,216 | 0,217 | 0,218 | 0,219 | 
| 0,857 | 0,853 | 0,849 | 0,845 | 0,841 | 0,837 | 0,833 | 0,829 | 0,826 | 0,822 | 
| 0,220 | 0,221 | 0,222 | 0,223 | 0,224 | 0,225 | 0,226 | 0,227 | 0,228 | 0,229 | 
| 0,818 | 0,814 | 0,811 | 0,807 | 0,804 | 0,800 | 0,796 | 0,793 | 0,789 | 0,786 | 
| 0,230 | 0,231 | 0,232 | 0,233 | 0,234 | 0,235 | 0,236 | 0,237 | 0,238 | 0,239 | 
| 0,783 | 0,779 | 0,776 | 0,773 | 0,769 | 0,766 | 0,763 | 0,759 | 0,756 | 0,753 | 
| 0,240 | 0,241 | 0,242 | 0,243 | 0,244 | 0,245 | 0,246 | 0,247 | 0,248 | 0,249 | 
| 0,750 | 0,747 | 0,744 | 0,741 | 0,738 | 0,735 | 0,732 | 0,729 | 0,726 | 0,723 | 
| 0,250 | 0,251 | 0,252 | 0,253 | 0,254 | 0,255 | 0,256 | 0,257 | 0,258 | 0,259 | 
| 0,720 | 0,717 | 0,714 | 0,711 | 0,709 | 0,706 | 0,703 | 0,700 | 0,698 | 0,695 | 
| 0,260 | 0,261 | 0,262 | 0,263 | 0,264 | 0,265 | 0,266 | 0,267 | 0,268 | 0,269 | 
| 0,692 | 0,690 | 0,687 | 0,684 | 0,682 | 0,679 | 0,677 | 0,674 | 0,672 | 0,669 | 
| 0,270 | 0,271 | 0,272 | 0,273 | 0,274 | 0,275 | 0,276 | 0,277 | 0,278 | 0,279 | 
| 0,667 | 0,664 | 0,662 | 0,659 | 0,657 | 0,655 | 0,652 | 0,650 | 0,647 | 0,645 | 
| 0,280 | 0,281 | 0,282 | 0,283 | 0,284 | 0,285 | 0,286 | 0,287 | 0,288 | 0,289 | 
| 0,643 | 0,641 | 0,638 | 0,636 | 0,634 | 0,632 | 0,629 | 0,627 | 0,625 | 0,623 | 
| 0,290 | 0,291 | 0,292 | 0,293 | 0,294 | 0,295 | 0,296 | 0,297 | 0,298 | 0,299 | 
| 0,621 | 0,619 | 0,616 | 0,614 | 0,612 | 0,610 | 0,608 | 0,606 | 0,604 | 0,602 | 
| 0,300 | 0,301 | 0,302 | 0,303 | 0,304 | 0,305 | 0,306 | 0,307 | 0,308 | 0,309 | 
| 0,600 | 0,598 | 0,596 | 0,594 | 0,592 | 0,590 | 0,588 | 0,586 | 0,584 | 0,583 | 
| 0,310 | 0,311 | 0,312 | 0,313 | 0,314 | 0,315 | 0,316 | 0,317 | 0,318 | 0,319 | 
| 0,581 | 0,579 | 0,577 | 0,575 | 0,573 | 0,571 | 0,570 | 0,568 | 0,566 | 0,564 | 
| 0,320 | 0,321 | 0,322 | 0,323 | 0,324 | 0,325 | 0,326 | 0,327 | 0,328 | 0,329 | 
| 0,563 | 0,561 | 0,559 | 0,557 | 0,556 | 0,554 | 0,552 | 0,550 | 0,549 | 0,547 | 
| 0,330 | 0,331 | 0,332 | 0,333 | 0,334 | 0,335 | 0,336 | 0,337 | 0,338 | 0,339 | 
| 0,545 | 0,544 | 0,542 | 0,541 | 0,539 | 0,537 | 0,536 | 0,534 | 0,533 | 0,531 | 
| 0,340 | 0,341 | 0,342 | 0,343 | 0,344 | 0,345 | 0,346 | 0,347 | 0,348 | 0,349 | 
| 0,529 | 0,528 | 0,526 | 0,525 | 0,523 | 0,522 | 0,520 | 0,519 | 0,517 | 0,516 | 
| 0,350 | 0,351 | 0,352 | 0,353 | 0,354 | 0,355 | 0,356 | 0,357 | 0,358 | 0,359 | 
| 0,514 | 0,513 | 0,511 | 0,510 | 0,508 | 0,507 | 0,506 | 0,504 | 0,506 | 0,501 | 
| 0,360 | 0,361 | 0,362 | 0,363 | 0,364 | 0,365 | 0,366 | 0,367 | 0,368 | 0,369 | 
| 0,500 | 0,499 | 0,497 | 0,496 | 0,495 | 0,493 | 0,492 | 0,490 | 0,489 | 0,488 | 
| 0,370 | 0,371 | 0,372 | 0,373 | 0,374 | 0,375 | 0,376 | 0,377 | 0,378 | 0,379 | 
| 0,486 | 0,485 | 0,484 | 0,483 | 0,481 | 0,480 | 0,479 | 0,477 | 0,476 | 0,475 | 
| 0,380 | 0,381 | 0,382 | 0,383 | 0,384 | 0,385 | 0,386 | 0,387 | 0,388 | 0,389 | 
| 0,474 | 0,472 | 0,471 | 0,470 | 0,469 | 0,468 | 0,466 | 0,465 | 0,464 | 0,463 | 
| 0,390 | 0,391 | 0,392 | 0,393 | 0,394 | 0,395 | 0,396 | 0,397 | 0,398 | 0,399 | 
| 0,462 | 0,460 | 0,459 | 0,458 | 0,457 | 0,456 | 0,455 | 0,453 | 0,452 | 0,451 | 
| 0,400 | 0,401 | 0,402 | 0,403 | 0,404 | 0,405 | 0,406 | 0,407 | 0,408 | 0,409 | 
| 0,450 | 0,449 | 0,448 | 0,447 | 0,446 | 0,444 | 0,443 | 0,442 | 0,441 | 0,440 | 
| 0,410 | 0,411 | 0,412 | 0,413 | 0,414 | 0,415 | 0,416 | 0,417 | 0,418 | 0,419 | 
| 0,439 | 0,438 | 0,437 | 0,436 | 0,435 | 0,434 | 0,433 | 0,432 | 0,431 | 0,430 | 
Reißlänge und Dehnung geben uns bis zu einem gewissen Grade einen Anhalt zur Beurteilung der Festigkeitseigenschaften eines Papiers; sie reichen aber nicht aus zur Gewinnung eines abschließenden Bildes über das voraussichtliche Verhalten des Papiers gegenüber mechanischen Einwirkungen, denen es während seiner Verwendung ausgesetzt ist. Hierbei werden noch andere Eigenschaften des Papierblattes in Anspruch genommen, für welche Reißlänge und Dehnung nicht immer einen Maßstab abgeben, nämlich der Widerstand, den das Blatt dem Biegen, Falzen, Zusammendrücken, Knittern, Abnützen und ähnlichen Einwirkungen entgegensetzt; dieser Widerstand spielt bei der praktischen Verwendung des Papiers vielfach eine große Rolle.
Nun verläuft der Knitterwiderstand im großen und ganzen parallel mit den durch Reißlänge und Dehnung zum Ausdruck gebrachten Eigenschaften, d. h. bei hohen Werten für Reißlänge und Dehnung zeigt das Papier meist auch einen hohen Widerstandsgrad gegen Reiben und Knittern.
Dies trifft aber nicht immer zu; es gibt auch Papiere, die bei hohen Werten für Reißlänge und Dehnung mechanischen Einwirkungen obengenannter Art nur wenig Widerstand entgegensetzen und daher für die praktische Verwendbarkeit, namentlich zu viel gebrauchten Schriftstücken, Karten, Druckwerken u. s. w. nicht geeignet sind. Dieser Umstand gab Veranlassung zur Einführung des Knitterversuches in die amtliche Papierprüfung.
In der Praxis wurde dieser Versuch lange ausgeführt, bevor es eine amtliche Papierprüfung gab, wohl der beste Beweis dafür, daß ein Bedürfnis hierfür vorlag; man hat ihn in Fachkreisen sehr treffend als „Waschversuch“ bezeichnet, weil das Papier bei der Versuchsausführung, natürlich im trockenen Zustand, ähnlich behandelt wird wie die Wäsche beim Waschen mit der Hand. Der Versuch ist demnach subjektiv, von der Person des Prüfenden abhängig; verschiedene Bemühungen, mechanisch wirkende Vorrichtungen zu schaffen, die das Papier in gleicher Weise beanspruchen, sind gescheitert, und man dürfte ihnen auch wohl für die Zukunft Aussicht auf Erfolg absprechen müssen.
Daß einem solchen Handversuch Mängel anhaften, muß ohne weiteres zugegeben werden. Diese Mängel muß man aber mit in den Kauf nehmen, bis man an Stelle der Knitterung ein anderes Prüfungsverfahren setzen kann, das in gleicher Weise Aufschluß über die Verwendbarkeit von Papier in oben angeführter Richtung gibt. Denn darüber ist man sich wohl heute allgemein einig, daß man auf Grund der Reißlänge und Dehnung allein kein abgegrenztes Urteil über die Festigkeitseigenschaften eines Papiers abgeben kann. Ist ein zuverlässiges mechanisches Verfahren zum Ersatz der Handknitterung gefunden, so wird wohl niemand zögern, es an Stelle der letzteren, welche immer nur als Notbehelf anzusehen ist, zu setzen. Bis dahin dürfte es aber im Interesse der Fachkreise liegen, sich mit dem Handverfahren so viel wie möglich vertraut zu machen, um auch ein eigenes Urteil abgeben zu können. Daß in dieser Beziehung vieles besser sein könnte, soll nicht unerwähnt bleiben.
Die Ausführung des Versuches geschieht in folgender Weise.
Ein Stück des zu prüfenden Papiers, etwa 21 × 21 cm groß, wird zunächst fest zusammengeballt, dann wieder aufgewickelt, wieder zusammengedrückt und so weiter behandelt, bis der Bogen seine Steifheit verloren hat und durch das wiederholte Zusammendrücken weich und lappig geworden ist.
Das so vorbehandelte Blatt wird dann an zwei gegenüberliegenden Seiten gefaßt und zwischen den Handballen in der Richtung senkrecht zu den Seiten hin- und hergerieben. Dann faßt[S. 35] man es an den beiden anderen Seiten und reibt in gleicher Weise.
So stets die Richtungen wechselnd fährt man fort, bis das Blatt durchgerieben ist. Man gewöhne sich von vornherein daran, beim Reiben in jeder Richtung stets die gleiche Anzahl von Hin- und Herreibungen auszuführen, da man auf diese Weise bis zu einem gewissen Grade einen zahlenmäßigen Anhalt zur Beurteilung erhält. Man zählt hierbei nicht die einzelnen Hin- und Herreibungen bis zum Bruch, sondern wie oft man in den beiden Richtungen zusammen die Reibungsreihe, die sich der Beobachter angeeignet hat, wiederholen kann, ehe das Blatt zu Bruch geht.
Ob die Reibungsreihe aus beispielsweise fünf, oder weniger oder mehr Hin- und Herreibungen besteht, ist Sache eines jeden Prüfenden und wird mehr oder weniger von Zufälligkeiten abhängen. Hat man sich aber an eine bestimmte Anzahl gewöhnt, und dahin strebe man wie gesagt von vornherein, dann behalte man sie auch stets bei.
Papiere von sehr geringer Festigkeit, wie z. B. viele Sorten Zeitungsdruck, zeigen schon nach der geschilderten Vorbehandlung Bruchstellen in Gestalt mehr oder weniger großer Löcher. Die Bindung der Fasern untereinander ist so schwach, daß sie schon durch das bloße Zusammenballen ihren Zusammenhang teilweise verlieren; mit solchem Material kann man den eigentlichen Reibversuch kaum ausführen, da das Blatt schon zu Anfang sofort durchgerieben wird.
Für solche Erzeugnisse kommt der niedrigste Grad der Beurteilung „außerordentlich gering“ in Anwendung.
Von den Papieren nun, die schon beim Zusammenballen ihren Zusammenhang verlieren, herauf bis zu den festesten und zähesten Sorten, welche erst nach einer großen Anzahl von Hin- und Herreibungen durchgerieben werden, sind verschiedene Abstufungen hinsichtlich der Widerstandsfähigkeit gegen das Reiben vorhanden. Um diese zu kennzeichnen, sind die folgenden Beurteilungsgrade eingeführt worden:
außerordentlich gering
sehr gering
gering
mittelmäßig
ziemlich groß
groß
sehr groß
außerordentlich groß.
Dem Laien wird es zunächst unwahrscheinlich erscheinen, daß man Papiere durch ein Handverfahren in so weitgehender Weise soll abstufen können; eine kurze Zeit eigener Versuche aber wird ihn von der Möglichkeit überzeugen.
Die Ausführung des Versuches muß auch hier, wie bei der Bestimmung von Reißlänge und Dehnung, bei stets gleicher Luftfeuchtigkeit, also zweckmäßig bei 65% erfolgen; bei trockner Luft fällt das Ergebnis der Prüfung anders aus als bei feuchter.
Hat das Papier unter anderen Verhältnissen gelagert oder wird es z. B. in der Fabrik von der Maschine weg entnommen, so muß man ihm durch Auslegen oder Aushängen Zeit lassen, sich dem Feuchtigkeitszustand des Versuchsraumes anzupassen.
Um den vorher erwähnten Einfluß der Person des Versuchsausführenden auf das Ergebnis nach Möglichkeit abzuschwächen, lasse man den Versuch, wenn irgend möglich, von mehreren Personen gleichzeitig ausführen. Ergeben sich hierbei Unterschiede, so werden Kontrollversuche ausgeführt. Je mehr Versuche ausgeführt werden, ein um so zutreffenderes Bild wird man von dem Widerstandsgrad des betreffenden Papiers gewinnen.
Ist man bei der Prüfung auf seine Person allein angewiesen, so begnüge man sich wenigstens nicht mit einem Versuch, sondern führe deren zwei bis drei aus.
Bei dem Hinweis auf die Notwendigkeit der Einführung des Knitterversuches wurde erwähnt, daß die Werte für Reißlänge, Dehnung und Widerstand gegen Reiben nicht immer parallel verlaufen. Hierfür mögen, nachdem nunmehr die Art und Ausführung des Versuches geschildert ist, nachstehend einige Beispiele gegeben werden:
| Normalpapiere
      3b: | ||
| Mittlere Reißlänge: | Mittlere Dehnung: | Widerstand gegen Zerknittern: | 
| 3275 m | 2,6% | gering | 
| 3350 „ | 2,4 „ | gering | 
| 3475 „ | 2,3 „ | sehr gering | 
| 3525 „ | 2,2 „ | gering | 
| 3550 „ | 3,0 „ | gering | 
| 3575 „ | 2,3 „ | gering | 
| 3650 „ | 2,4 „ | gering | 
| 3750 „ | 2,5 „ | gering | 
| 3975 „ | 2,6 „ | gering | 
| [S. 37] Normalpapiere
      4a: | ||
| 3750 „ | 2,6% | sehr gering | 
| 4200 „ | 2,7 „ | gering | 
| 4675 „ | 2,7 „ | gering | 
| 4675 „ | 2,8 „ | sehr gering | 
| Normalpapiere
      4b: | ||
| 3850 „ | 2,0% | sehr gering | 
| 3875 „ | 3,3 „ | gering | 
| 4200 „ | 2,4 „ | gering | 
| 4875 „ | 2,5 „ |  mittelmäßig | 
| Normalpapier
      8a: | ||
| 3000 „ | 2,9% | gering | 
| Normalpapier
      8b: | ||
| 3175 „ | 2,5% | sehr gering | 
| Pergamynpapiere | ||
| 5925 „ | 2,1% | gering | 
| 6175 „ | 2,1 „ | gering | 
| 6200 „ | 2,0 „ | gering | 
Dies sind Beispiele dafür, daß es bei der Beurteilung der Verwendungsfähigkeit eines Papiers unumgänglich notwendig ist, den Widerstand gegen Zerknittern und Reiben mit heranzuziehen.
Es erscheint im Interesse der Fachkreise angebracht, hierauf immer wieder hinzuweisen, da die Ansicht, daß bei genügender Reißlänge und Dehnung auch der Widerstand gegen Zerknittern genügend sein müsse, immer wieder zum Ausdruck gebracht wird.
Es bleibt nun noch die Frage zu erörtern, in welcher Weise man sich mit dem Maßstab vertraut macht, der in der Versuchsanstalt bei der Beurteilung der Papiere im Knitterwiderstand zur Anwendung gelangt. Da ist zunächst zu bemerken, daß man sich, wenn irgend möglich, persönlich über die Ausführung der Prüfung unterrichte, da auch die weitgehendste Schilderung des Versuches die praktische Vorführung und Erklärung nicht ersetzen kann. Die Unterweisung kann gelegentlich eines Besuches in der Versuchsanstalt zu jeder Zeit erfolgen und jedem wird Gelegenheit gegeben, sich eingehend über die Ausführung des Versuches zu unterrichten.
Als Material zur Aneignung des Maßstabes können für diejenigen, die häufiger Papiere in der Versuchsanstalt prüfen lassen,[S. 38] diese Papiere selbst dienen; es empfiehlt sich, einen genügenden Vorrat von der zur Prüfung eingeschickten Sorte zurückzulegen und nach Empfang des Urteils eine Reihe von Reibversuchen auszuführen. Durch die zurückgelegten Muster, die sich natürlich auf die verschiedenen Widerstandsstufen verteilen müssen, ist man dann auch in der Lage, seinen Maßstab von Zeit zu Zeit zu prüfen.
Wer nicht auf die geschilderte Weise in den Besitz des erforderlichen Prüfungsmaterials gelangt, beschaffe sich Muster verschiedener Festigkeit und lasse diese einmal in der Versuchsanstalt auf Widerstand gegen Zerknittern prüfen. Ferner sei noch darauf hingewiesen, daß die Firma L. Schopper-Leipzig Papiere der verschiedenen Widerstandsstufen, welche in der Versuchsanstalt geprüft worden sind, zum Verkauf hält.
Daß auch der Praktiker bei einiger Übung und einigem Interesse für die Sache sehr wohl in der Lage ist, ein Urteil über die Widerstandsfähigkeit gegen Reiben und Knittern abzugeben und sich wenigstens bis zu einem gewissen Grade versichern kann, ob sein Papier Aussicht hat, bei der amtlichen Prüfung durchzukommen, zeigen die Erfahrungen der Versuchsanstalt mit den Volontären; letztere kommen zumeist in die Anstalt, ohne mit dem erwähnten Prüfungsverfahren vertraut zu sein, und doch erlangen sie bald eine ziemliche Sicherheit in der Bestimmung des Widerstandsgrades.
Jeder Papiererzeuger und Verbraucher sollte sich auf alle Fälle, selbst wenn ein mechanisches Verfahren als Ersatz für die Handknitterung gefunden worden ist, mit letzterer vertraut machen und vertraut erhalten, da sie ihm ein Mittel an die Hand gibt, an jeder Stelle und ohne besondere Hilfsmittel sich ein Bild über die Festigkeitseigenschaften eines Papiers zu verschaffen. Daß sich eine solche Möglichkeit in vielen Fällen als wertvoll erweisen wird, bedarf nicht erst weiterer Begründung.
Wie schon erwähnt, sind alle bisher gemachten Versuche, die Beanspruchung, die das Papier bei der Handknitterung erfährt, auf mechanischem Wege zu erzielen, gescheitert. Bei der Eigenart des Versuches, bei dem subjektives Empfinden eine gewisse Rolle spielt, konnte man den Bestrebungen genannter Art einen Erfolg auch kaum in Aussicht stellen. Aussichtsvoller erschien der Weg, neue Prüfungsverfahren zu suchen, deren Ergebnisse eine ähnliche Abstufung der Papiere gestatteten wie die verschiedenen Widerstandsstufen.
In dieser Hinsicht sind drei Vorschläge zu erwähnen, nämlich die von Kirchner, Pfuhl und Schopper.
Winkler hat in seinem 1887 herausgegebenen „Papierkenner“ zuerst den Vorschlag gemacht, gefalzte Papierstreifen zu prüfen und den Unterschied festzustellen, den sie in der Festigkeit und Dehnbarkeit gegenüber den ungefalzten Streifen zeigen. Dieser Unterschied, von Winkler „Falzverlust“ genannt, sollte zur Beurteilung der „Biegsamkeit“ des Papiers dienen.
Das Falzen wird von Winkler durch eine besondere Vorrichtung bewirkt, indem er die Streifen zwischen zwei aufeinander geschliffene Stahlplatten, welche durch ein Scharnier verbunden sind, legt und mit einem durch Hebeldruck bewegbaren 100 kg schweren Gewicht belastet.
Kirchner schlug vor,[18] statt des Gewichtes eine Rolle zur Erzeugung des Falzes zu benutzen, weil hierdurch nach seiner Ansicht eine größere Gleichmäßigkeit bei der Erzeugung der Falze gesichert sei; er schlug dann weiter vor, die Beurteilung des Papiers durch die Handknitterung fallen zu lassen und an Stelle dessen die Beurteilung auf Grund des Falzverlustes zu setzen, von der Annahme ausgehend, daß bei spröden und brüchigen Papieren der Falzverlust groß, bei festen und widerstandsfähigen indessen klein sei; er hat eine Reihe von Papieren im gefalzten und ungefalzten Zustande geprüft und den Falzverlust ermittelt.
Der Kirchnersche Kniffapparat besteht aus einer eisernen Rolle, welche auf ihrem äußersten 19 mm breiten Umfange zylindrisch abgedreht ist, und aus einer ebenen, wagerecht ausgerichteten, mit erhabenen Rändern versehenen eisernen Bahn, in welcher die Rolle hin und her bewegt werden kann (Fig. 19).
Das Kniffen der Papierstreifen wird in folgender Weise ausgeführt: Die Enden der 15 mm breiten Probestreifen werden so[S. 40] aufeinander gelegt, daß sich beim Zusammendrücken die zwei Streifenhälften deckend aufeinander legen. Dieser leicht zusammengefaltete Streifen wird so in die Rinne der Bahn gelegt, daß die Längskanten des Streifens parallel zu den Führungsrändern der Rinne verlaufen. Hierauf wird die Rolle von den freien Streifenenden her durch leisen seitlichen Druck über den Probestreifen geführt und dieser auf diese Weise einmal stark geknifft. Der Streifen wird dann aus der Rinne genommen, in dem Falz in der entgegengesetzten Richtung umgelegt und zum zweiten Male geknifft. Beim zweiten Kniffen läßt man jedoch das Gewicht nicht von den freien Streifenenden gegen den Falz rollen, sondern gegen diesen direkt.
Nachdem man auf diese Weise je 5 Streifen aus der Maschinenrichtung und Querrichtung geknifft hat, ermittelt man ihre Festigkeit und Dehnung in gleicher Weise, wie man zuvor die Festigkeit des betreffenden Papiers an ungeknifften Streifen bestimmt hat. Die Einbuße, welche die Papiere durch das Falzen in ihrer Festigkeit erleiden, der sogenannte „Kniffverlust“ oder „Falzverlust“, wird in Prozenten der ursprünglichen Bruchbelastung und Dehnung ausgedrückt.
Nach diesen Vorbemerkungen soll auf die in der Versuchsanstalt zur Beurteilung des Kirchnerschen Vorschlages gemachten Versuche eingegangen werden.
Der Prüfung wurden insgesamt 87 Normalpapiere, aus 27 verschiedenen Fabriken herrührend, zu Grunde gelegt und zwar zunächst Proben jeder Verwendungsklasse von 1–4b, welche die Bedingungen für ihre jeweilige Klasse erfüllten; es waren dies
| 8 |  Papiere  | der |  Klasse  | 1 |  aus  | 5 |  verschiedenen  | Fabriken | 
| 10 |  „  | „ |  „  | 2a |  „  | 6 |  „  | „ | 
| 10 |  „  | „ |  „  | 2b |  „  | 7 |  „  | „ | 
| 10 |  „  | „ |  „  | 3a |  „  | 5 |  „  | „ | 
| 10 |  „  | „ |  „  | 3b |  „  | 8 |  „  | „ | 
| 10 |  „  | „ |  „  | 4a |  „  | 8 |  „  | „ | 
| 10 |  „  | „ |  „  | 4b |  „  | 8 |  „  | „ | 
Außerdem wurden noch 19 Papiere der Klassen 3a–4b, herrührend aus 10 verschiedenen Fabriken, zum Vergleich herangezogen, welche im Widerstand gegen Zerknittern hinter den für die jeweiligen Klassen verlangten Werten um 1–2 Stufen zurückbleiben.
Das Kniffen der Streifen wurde mit einer 7500 g schweren Rolle von 150 mm Durchmesser in der vorher geschilderten Weise ausgeführt. (Kniffen und Gegenkniffen durch je einmaliges Überführen der Rolle.)
Die Länge betrug bei allen Streifen 180 mm, die Breite 15 mm. Sämtliche Versuche wurden bei Zimmerwärme und einer Luftfeuchtigkeit von 65% ausgeführt.
Die bei der Prüfung erhaltenen Werte[19] zeigten zunächst folgendes:
Die aus der Maschinenrichtung entnommenen Streifen erleiden also durch das Falzen eine größere Einbuße in ihrer Festigkeit als die Querstreifen; diese Tatsache findet wohl in der Lagerung der Fasern ihre Erklärung. Die Anzahl der Fasern, welche mehr oder weniger parallel zur Maschinenrichtung liegen, ist größer als die der quer hierzu liegenden; demgemäß werden beim Falzen der Streifen aus der Maschinenrichtung mehr Fasern geknickt (und hierdurch geschwächt) als bei den Querstreifen.
Bildet man unter Zugrundelegung der mittleren Falzverluste Gruppen von 5 zu 5% und stellt diesen gegenüber die bei den verschiedenen Papieren durch Handknitterung ermittelten Widerstandsstufen, so ergibt sich nachstehende Übersicht:
I. Festigkeits-Falzverluste.
| Falzverlust in % | Anzahl der Papiere mit dem Widerstandsgrad: | |||||
| gering | mittel- mäßig | ziemlich groß | groß | sehr groß | außer- ordentlich groß | |
|  0– 5,9 | – | – | – | – | 1 | 1 | 
|  6–10,9 | – | – | 4 | – | 2 | 2 | 
| 11–15,9 | – | 1 | 3 | 1 | 3 | – | 
| 16–20,9 | – | 3 | 9 | 5 | 3 | 2 | 
| 21–25,9 | – | – | 5 | 5 | 4 | – | 
| 26–30,9 | 2 | 1 | 3 | 8 | 3 | – | 
| 31–35,9 | – | 2 | 2 | – | 1 | – | 
| 36–40,9 | – | 2 | – | – | – | – | 
| 41–45,9 | 2 | 2 | 1 | – | – | – | 
| 46–50,9 | 1 | – | 1 | – | – | – | 
II. Dehnungs-Falzverluste.
| Falzverlust in % | Anzahl der Papiere mit dem Widerstandsgrad: | |||||
| gering | mittel- mäßig | ziemlich groß | groß | sehr groß | außer- ordentlich groß | |
|  0– 5,9 | – | – | – | – | – | – | 
|  6–10,9 | – | – | – | – | – | – | 
| 11–15,9 | – | – | – | – | 1 | – | 
| 16–20,9 | – | – | 1 | – | 3 | 2 | 
| 21–25,9 | – | – | 1 | – | 2 | – | 
| 26–30,9 | – | – | 2 | 1 | 2 | 1 | 
| 31–35,9 | – | 1 | 1 | 1 | 3 | 1 | 
| 36–40,9 | – | – | 2 | 4 | 2 | 1 | 
| 41–45,9 | – | – | 4 | 5 | 1 | – | 
| 46–50,9 | 2 | 1 | 5 | 3 | 2 | – | 
| 51–55,9 | – | 2 | 3 | 1 | 2 | – | 
| 56–60,9 | 1 | – | 3 | 2 | – | – | 
| 61–65,9 | – | 1 | 4 | 1 | 1 | – | 
| 66–70,9 | 1 | 5 | – | – | – | – | 
| 71–75,9 | 1 | 1 | – | 1 | – | – | 
| 76–80,9 | – | – | 2 | – | – | – | 
Die Zusammenstellung zeigt, daß zwar im allgemeinen mit wachsendem Widerstand gegen Zerknittern der Falzverlust abnimmt, daß aber anderseits bei demselben Knittergrad die Falzverluste beträchtlich schwanken, und ferner, daß bei annähernd gleichem Falzverlust ganz erhebliche Unterschiede im Widerstand gegen Zerknittern vorkommen.
Unterschiede in der Handknitterung von mittelmäßig bis zu außerordentlich groß oder von gering bis zu sehr groß kommen im vorliegenden Falle durch den Falzverlust nicht zum Ausdruck. Diese Unterschiede sind aber so groß, daß sie auch ohne ein ausgebildetes Prüfungsverfahren (z. B. schon durch Einreißen, Umbiegen, o. a.) erkannt werden können; wenn der Falzverlust für derartig verschiedene Papiere nahezu gleiche Werte ergibt, so kann er als Ersatz für die Handknitterung nicht in Frage kommen.
[18] Wochenblatt für Papierfabrikation. 1894, Nr. 8–9.
[19] Veröffentlicht in den Mitteilungen a. d. techn. Vers.-Anst. 1899 S. 269.
Bei dem Pfuhlschen Knitterer wird ein Papierstreifen zwischen eine Walze und eine gegen diese zu pressende Gummiplatte gebracht, ein Ende festgelegt und dann der Streifen über sich selbst unter Andruck der Gummiplatte einmal hin und her geführt. Die Wirkungsweise ist aus Fig. 20 zu ersehen.
Der Papierstreifen PP1 wird bei a festgelegt und dann die Walze in der Richtung des Pfeiles gedreht; dadurch wird der Streifen umgelegt und ein Teil reibend über den anderen geführt. Durch Einpumpen von Luft von unten her wird die Gummiplatte G gegen Papier und Walze gepreßt und der an einem Manometer abzulesende Druck so bemessen, daß der Streifen durch einmaliges Hin- und Zurückführen zerstört wird. Diesen Druck bezeichnet Pfuhl als Reißdruck.[20] Auf Grund seiner Versuche hat Pfuhl folgende Beziehungen zwischen den Ergebnissen der Handknitterung und dem Reißdruck festgestellt:
| Handknitterung | sehr gering | gering | mittel- mäßig | ziemlich groß | groß | sehr groß | außerordentlich groß | 
| Reißdruck in cm Queck- silbersäule. | 0–3 | 3–6 | 6–16 | 16–26 | 26–48 | muß bei 50 cm 2–3maliges Knittern aus- halten. | muß bei 50 cm Druck mehr als 3maliges Knittern aushalten. | 
Der Pfuhlsche Knitterer ist im Technologischen Gewerbemuseum zu Wien durch Prof. Lauboeck einer eingehenden Prüfung unterzogen worden, die zu dem Ergebnis führte,[21] daß der Apparat, so wie er jetzt vorliegt, zur Einführung in die Papierprüfung noch[S. 44] nicht geeignet ist. Pfuhl hat den Apparat dann in einigen Punkten geändert.[22] Prüfungsergebnisse, mit diesem abgeänderten Knitterer ermittelt, sind bisher nicht bekannt geworden.
[20] Eine eingehende Beschreibung des Knitterers findet sich in der Papierzeitung 1896, Nr. 66–87 und 1898, Nr. 30, 58 und 59.
[21] Mitteilungen des Technologischen Gewerbemuseums zu Wien 1897, S. 1.
[22] Papierzeitung 1898, Nr. 30, 58, 59 und Rigaer Industriezeitung 1898, Nr. 21–23.
Bei dem Schopperschen Falzer wird ein Papierstreifen in ein geschlitztes, hin und her zu bewegendes Blech gelegt und an beiden Enden festgeklemmt; dann ermittelt man die Anzahl Falzungen, die der Streifen bei bestimmter Zugspannung bis zum Bruch aushält.
Der Falzer, von dem Fig. 21a Vorderansicht und Fig. 21b Grundriß zeigt, hat ein dünnes, zur Aufnahme des Probestreifens mit einem Schlitz versehenes Stahlblech (Schieber), das sich zwischen zwei Paaren leicht drehbarer Rollen bewegt. Die Rollenpaare sind in den Lagerstücken (12) angebracht und werden durch Klemmschrauben in bestimmter Entfernung von dem Schieberblech festgehalten; die an den Lagerstücken befindlichen Spiralfedern haben nur den Zweck, das genaue Einstellen der Rollenpaare zu erleichtern. Senkrecht zu dem Stahlblech befinden sich die Einspannklemmen (7), die mit ihren pyramidenförmig zugespitzten Verlängerungen in die entsprechend geformten Öffnungen der Hülsen (3) hineinragen. In diesen Hülsen befinden sich die zum Spannen des Probestreifens dienenden Spiralfedern. Durch Anziehen der Schrauben (4) kann die Spannung der Spiralfedern erhöht werden. Die jeweilige Spannung wird durch den Stand eines kleinen Stiftes über einer auf der Hülse (3) vorhandenen Teilung angegeben.
Die Hülsen (3) sind in den Haltern (2) beweglich und werden, wenn die Stifte (5) gehoben sind, mittels der Spiralfedern (6) so weit gegeneinander geführt, daß die Einspannlänge richtig wird. Nach dem Einspannen des Probestreifens wird durch Herausziehen der Hülsen (3) bis zum Einschnappen der Stifte (5) dem Probestreifen eine kleine Spannung erteilt und die freie Beweglichkeit der Klemmen bewirkt. Um während des Versuches das Heruntersinken der Klemmen zu verhindern, werden letztere durch Rollen (8) gestützt.
Die Anzahl der Hin- und Herfalzungen wird vom Zählrad (18) angezeigt. Das Zählrad ist durch den Hebel (21) mit dem Drücker (20) verbunden und wird beim Reißen des Streifens durch das Zurückprallen der rechten Klemme selbsttätig ausgelöst.
Die Nulllage des Schiebers für das Einspannen des Streifens[S. 45]
[S. 46] wird beim
Umlegen des Hebels (22) durch das Einschnappen des Hebelstiftes in ein
auf dem Antriebrad befindliches Loch gegeben.
Die Versuche werden in folgender Weise ausgeführt:
In der Versuchsanstalt sind 3 Schoppersche Falzer unter Benutzung eines Versuchsmaterials von fast 1000 Papieren einer sehr eingehenden Prüfung unterzogen worden.[23]
Es hat sich gezeigt, daß man die Papiere mit Hilfe des Falzers im großen und ganzen in ähnlicher Weise abstufen kann, wie mit der Handknitterung; man könnte somit der Frage näher treten, ob es angebracht erscheint, die Handknitterung fallen zu lassen und an ihre Stelle die Bestimmung des Falzwiderstandes mit Hilfe des Schopperschen Falzers zu setzen.
Als Falzklassen könnten natürlich zunächst nur die in Frage kommen, die sich als Mittel aus sämtlichen Versuchen ergeben haben, nämlich der Widerstandsstufe
| außerordentlich gering | 
      entspr., | 
      die | 
      Falzklasse | 0 | 
      mit | 
        0–   2 | 
      Doppelfalzungen | 
| sehr gering | 
      „ | 
      „ | 
      „ | 1 | 
      „ | 
        3–   6 | 
      „ | 
| gering | 
      „ | 
      „ | 
      „ | 2 | 
      „ | 
        7–  20 | 
      „ | 
| mittelmäßig | 
      „ | 
      „ | 
      „ | 3 | 
      „ | 
       21–  40 | 
      „ | 
| ziemlich groß | 
      „ | 
      „ | 
      „ | 4 | 
      „ | 
       41–  80 | 
      „ | 
| groß | 
      „ | 
      „ | 
      „ | 5 | 
      „ | 
       81– 190 | 
      „ | 
| sehr groß | 
      „ | 
      „ | 
      „ | 6 | 
      „ | 
      191–1000 | 
      „ | 
| außerordentlich groß | 
      „ | 
      „ | 
      „ | 7 | 
      „ | mehr als 1000 „ | |
[23] Der umfangreiche Bericht hierüber ist in den „Mitt. a. d. techn. Vers.-Anst.“ 1901, S. 161ff. veröffentlicht worden.
Zur Bestimmung des Quadratmetergewichtes ermittelt man zunächst das Gewicht einer Anzahl Bogen und berechnet hieraus unter Berücksichtigung der Bogengröße das Quadratmetergewicht. Wägt man 10 Bogen Reichsformat (33×42 cm), so multipliziert man das in g ermittelte Gewicht mit 1000 und dividiert die erhaltene Zahl durch 1386.
Zur bequemeren Bestimmung sind besondere Wagen gebaut worden, welche direkte Ablesung des Quadratmetergewichtes gestatten, wenn man an dem einen Arm ein mit Hilfe eines beigegebenen Bleches ausgeschnittenes Stück Papier aufhängt.
Für die Messung der Dicke des Papiers stehen verschiedene Dickenmesser zur Verfügung. Bequeme Handhabung und genaue Ablesung gestattet der Schoppersche Dickenmesser, dessen Wirkungsweise aus Fig. 22 zu ersehen ist.
Durch einen Druck auf den Hebel H wird das Gestänge G mit der am unteren Ende befindlichen Platte P angehoben, wobei[S. 48] gleichzeitig der Zeiger Z aus seiner Nullstellung nach rechts bewegt wird. Man legt dann das Papier Pa auf die untere mit dem Gestell festverbundene Meßplatte P1 und läßt G durch langsames Freigeben des Hebels H nach unten gehen. Der Zeiger zeigt dann die Dicke des Papiers an; mit Hilfe des am Zeiger befestigten Nonius kann man sie auf 1⁄1000 mm ablesen. Zum Einstellen des Zeigers auf 0 dient nötigenfalls die Scheibe S.
Ein anderer Dickenmesser ist der von Rehse (Fig. 23).
Er besteht im wesentlichen aus der Mikrometerschraube B1, mit welcher die Trommel T fest verbunden ist, und der Gabel mit der Stellschraube B. Die Kreisflächen der Enden beider Schrauben B und B1, zwischen denen die Dicke des Papiers gemessen werden soll, können je nach Drehung der Mikrometerschraube näher aneinander gebracht oder voneinander entfernt werden. Das Gewinde der Mikrometerschraube besitzt eine Steigung von 0,5 mm, d. h. bei einer Umdrehung der Schraube verschiebt sich diese in der Längsachse um 0,5 mm; der Umfang der Trommel T ist in 100 gleiche Teile geteilt, folglich wird bei 0,01 Umdrehung der Schraube und somit der Trommel diese um
0,01 · 0,5 mm = 0,005 mm
gegen die Fläche der festen Stellschraube verschoben; man hat also die direkte Ablesung auf der Trommel mit 0,005 zu multiplizieren, um die Dicke des Papiers in mm zu erhalten.
Um gleichmäßiges Anlegen der Kreisflächen an das Papier zu ermöglichen, ist mit der Mikrometerschraube eine sogenannte Reibungskuppelung, an deren Ende sich der Kopf H zum leichteren[S. 49] Handhaben des Dickenmessers befindet, verbunden. Sobald das Papier genügend angepreßt ist, gleitet bei Weiterdrehung des Kopfes H die Kuppelung an der Mikrometerschraube und verhindert, daß diese weiter bewegt wird.
Die Stellschraube B ermöglicht bei nicht mehr genauem Zusammenfallen der Nulllinien ein Nachstellen.
Der Dickenmesser ist zugleich so eingerichtet, daß er als Taschenapparat benutzt werden kann, indem die Gabel nicht fest mit dem Holzgestell verbunden, sondern nur durch ein federndes Blech festgeklemmt ist.
Die eigentliche Meßvorrichtung kann daher leicht aus dem Gestell entfernt werden.
Diejenigen Bestandteile des Papiers, welche beim Verbrennen und darauf folgenden Glühen als unverbrennlich zurückbleiben, nennt man die Asche; sie enthält die unorganischen Verbindungen im Gegensatz zu den organischen (Cellulose, Leim, Stärke u. s. w.), welche beim Verbrennen zum größten Teil als Kohlensäure entweichen.
Die unorganischen Rückstände können aus drei verschiedenen Quellen stammen; zunächst aus dem zur Herstellung des Papiers verwendeten Rohmaterial (Lumpen, Zellstoffe, Holzschliff), sodann aus den zum Leimen verwendeten Materialien, und schließlich können sie dem Papier direkt als Füllstoffe zugesetzt sein.
Die Pflanzenzellen enthalten auch im reinsten Zustand (Baumwolle) stets geringe Mengen unorganischer Verbindungen, und zwar sind Kalk und Kieselerde die am meisten vorkommenden; der Kalk in Verbindung mit Oxalsäure und Kohlensäure, die Kieselsäure als solche.
Der Anschaulichkeit wegen mögen hier einige Angaben über den Aschengehalt verschiedener in der Papierfabrikation verwendeter Rohstoffe gemacht werden.
Selbstverständlich können die mitgeteilten Werte nicht als absolute aufgefaßt werden; sie sind beständigen Schwankungen unterworfen, wie auch schon bei einzelnen Rohstoffen, mit denen mehrere Bestimmungen ausgeführt wurden, zu bemerken ist. Schon die Pflanze selbst wird bei einer größeren Anzahl von Bestimmungen der mineralischen Rückstände abweichende Werte ergeben, die man wohl auf klimatische Unterschiede und wechselnde Bodenbeschaffenheit zurückführen kann; hierzu kommen die verschiedenartigsten stets schwankenden Einflüsse der Fabrikation.
Der teilweise sehr hohe Aschengehalt der Lumpen (Tabelle A) dürfte seine Ursache wohl in ihrer mechanischen Verunreinigung durch Sand, Erde etc. finden, falls nicht künstliche Beschwerungen[S. 51] vorgenommen worden sind. Beide gehen im Laufe des Fabrikationsprozesses zum größten Teil verloren, wie die Tabelle C ergibt; die dort aufgeführten Halbzeuge sind meist aus den Lumpen der Tabelle A erzeugt worden.
| A. Lumpen. | |||||
| Lfd. Nr. | Bezeichnung der Lumpen | Lfd. Nr. | Bezeichnung der Lumpen | Aschen gehalt % | |
|  1 | Hell Baumwolle | 1,20 | 17 | Weiß Leinen 4 | 4,45 | 
|  2 | Reine weiße Baumwolle | 2,60 | 18 | f. leinene Flicken | 0,55 | 
|  3 | Reine weiße Baumwolle | 3,50 | 19 | Halbweiß Leinen | 3,30 | 
|  4 | Rot Kattun | 3,50 | 20 | Halbweiß Leinen 5 | 1,70 | 
|  5 | Blaue Strümpfe | 4,90 | 21 | Halbweiß Leinen 3 | 0,32 | 
|  6 | Weiße Strümpfe | 1,03 | 22 | Halbweiß Leinen 3 | 3,90 | 
|  7 | Kattun | 0,75 | 23 | Halbweiß (Nähte) Leinen 4 | 3,30 | 
|  8 | Kattun 2A | 3,00 | 24 | Halbweiß Leinen 1 | 0,60 | 
|  9 | Kattun 2C | 5,00 | 25 | Halbweiß Leinen 2 | 1,20 | 
| 10 | Schmutzig Parchend | 3,70 | 26 | Sack 1 | 7,00 | 
| 11 | Weiß Parchend | 1,85 | 27 | Sack 2 | 3,55 | 
| 12 | Hellrot Halbleinen | 1,50 | 28 | Sack 3 | 6,40 | 
| 13 | Braun Halbleinen | 3,24 | 29 | Sack 4 | 2,55 | 
| 14 | Gute Halbwolle | 9,70 | 30 | Sack 5 | 4,12 | 
| 15 | Hellblau Leinen | 1,10 | 31 | Leinen V3 | 3,33 | 
| 16 | Weiß Leinen 1 | 1,20 |  |  |  | 
| Mittlerer Aschengehalt = 3,06%. | |||||
| B. Anderweitige
      Rohstoffe. | |||||
| Lfd. Nr. | Bezeichnung des Rohstoffes | Aschen gehalt % | Lfd. Nr. | Bezeichnung des Rohstoffes | Aschen gehalt % | 
| 1 | Ungebleichtes Flachsgarn (Naßgespinnst) | 1,25 | 6 | Jute (roh) | 0,56 | 
| 2 | Hanfgarn (ungebleicht) | 1,35 | 7 | Jute (zu Pappe verarbeitet | 0,85 | 
| 3 | Russischer Hanf | 1,41 | 8 | Baumwolle (Louisiana) ungebleicht | 0,53–0,85 | 
| 4 | Italienischer Hanf | 1,03 | 9 | Espartogras | 1,91–2,00 | 
| 5 | Badischer Hanf | 0,69 |  |  |  | 
| Mittlerer Aschengehalt = 1,11%. | |||||
| [S. 52] C. Halbzeuge. | |||||
| Lfd. Nr. | Bezeichnung des Halbzeuges | Aschen gehalt % | Lfd. Nr. | Bezeichnung des Halbzeuges | Aschen gehalt % | 
|  1 | Leinen, gebleicht, Probe A | 1,10 | 13 | Leinen, ungebleicht, Nr. 4 | 0,68 | 
|  2 | Leinen, gebleicht, Probe B | 0,36 | 14 | Leinen, ungebleicht, Nr. 5 | 1,58 | 
|  3 | Leinen, gebleicht, Probe C | 1,40 | 15 | Baumwolle, gebleicht, A | 0,79 | 
|  4 | Leinen, gebleicht, Probe D | 1,86 | 16 | Baumwolle, gebleicht, B | 0,25 | 
|  5 | Weiß Leinen, mittlere Qualität, gebleicht | 0,23–0,29 | 17 | Weiße Baumwolle, gebleicht | 0,24 | 
|  6 | Blau Leinen, gebleicht | 0,12–0,34 | 18 | Bunte Baumwolle, gebleicht | 0,30–0,46 | 
|  7 | Sack, Probe A | 0,80 | |||
|  8 | Sack, Probe B | 0,70 | 19 | Baumwolle, ungebleicht, 1 | 1,12 | 
|  9 | Sack, Probe C | 0,92 | 20 | Baumwolle, ungebleicht, 2 | 0,90 | 
| 10 | Leinen, ungebleicht, Nr. 1 | 0,66 | 21 | Baumwolle, ungebleicht, 3 | 0,24 | 
| 11 | Leinen, ungebleicht, Nr. 2 | 0,40 | 22 | Hanfstricke, gebleicht | 0,30 | 
| 12 | Leinen, ungebleicht, Nr. 3 | 1,03 | |||
| Mittlerer Aschengehalt = 0,74%. | |||||
| D. Zellstoffe und
      Holzschliff. | |||||
| Lfd. Nr. | Art des Materials | Aschen gehalt % | Lfd. Nr. | Art des Materials | Aschen gehalt % | 
|  1 | Sulfitzellstoff, ungebl., 1 | 0,48 |  8 | Strohzellstoff, gebleicht | 0,86–1,22 | 
|  2 | Sulfitzellstoff, ungebl., 2 | 0,51 |  9 | Birkenzsllstoff, ungebleicht | 0,65 | 
|  3 | Sulfitzellstoff, gebleicht | 0,42 | |||
|  4 | Mitscherlich-Zellstoff, ungebleicht | 0,48 | 10 | Birkenzsllstoff, gebleicht | 1,57 | 
| 11 | Fichten-Holzschliff | 0,43 | |||
|  5 | Natronzellstoff, ungebleicht | 1,40 | 12 | Kiefern-Holzschliff | 0,70 | 
| 13 | Espen-Holzschliff | 0,36–0,44 | |||
|  6 | Natronzellstoff, gebleicht | 1,34 | 14 | Linden-Holzschliff | 0,40 | 
|  7 | Strohzellstoff, ungebleicht | 2,30 |  |  |  | 
| Mittlerer Aschengehalt = 0,94%. | |||||
| A. Lumpen. | ||
| Lfd. Nr. | Bezeichnung der Lumpen | |
|  1 | Hell Baumwolle | 1,20 | 
|  2 | Reine weiße Baumwolle | 2,60 | 
|  3 | Reine weiße Baumwolle | 3,50 | 
|  4 | Rot Kattun | 3,50 | 
|  5 | Blaue Strümpfe | 4,90 | 
|  6 | Weiße Strümpfe | 1,03 | 
|  7 | Kattun | 0,75 | 
|  8 | Kattun 2A | 3,00 | 
|  9 | Kattun 2C | 5,00 | 
| 10 | Schmutzig Parchend | 3,70 | 
| 11 | Weiß Parchend | 1,85 | 
| 12 | Hellrot Halbleinen | 1,50 | 
| 13 | Braun Halbleinen | 3,24 | 
| 14 | Gute Halbwolle | 9,70 | 
| 15 | Hellblau Leinen | 1,10 | 
| 16 | Weiß Leinen 1 | 1,20 | 
| 17 | Weiß Leinen 4 | 4,45 | 
| 18 | f. leinene Flicken | 0,55 | 
| 19 | Halbweiß Leinen | 3,30 | 
| 20 | Halbweiß Leinen 5 | 1,70 | 
| 21 | Halbweiß Leinen 3 | 0,32 | 
| 22 | Halbweiß Leinen 3 | 3,90 | 
| 23 | Halbweiß (Nähte) Leinen 4 | 3,30 | 
| 24 | Halbweiß Leinen 1 | 0,60 | 
| 25 | Halbweiß Leinen 2 | 1,20 | 
| 26 | Sack 1 | 7,00 | 
| 27 | Sack 2 | 3,55 | 
| 28 | Sack 3 | 6,40 | 
| 29 | Sack 4 | 2,55 | 
| 30 | Sack 5 | 4,12 | 
| 31 | Leinen V3 | 3,33 | 
| Mittlerer Aschengehalt = 3,06%. | ||
| B. Anderweitige
      Rohstoffe. | ||
| Lfd. Nr. | Bezeichnung des Rohstoffes | Aschen gehalt % | 
| 1 | Ungebleichtes Flachsgarn (Naßgespinnst) | 1,25 | 
| 2 | Hanfgarn (ungebleicht) | 1,35 | 
| 3 | Russischer Hanf | 1,41 | 
| 4 | Italienischer Hanf | 1,03 | 
| 5 | Badischer Hanf | 0,69 | 
| 6 | Jute (roh) | 0,56 | 
| 7 | Jute (zu Pappe verarbeitet | 0,85 | 
| 8 | Baumwolle (Louisiana) ungebleicht | 0,53–0,85 | 
| 9 | Espartogras | 1,91–2,00 | 
| Mittlerer Aschengehalt = 1,11%. | ||
| C. Halbzeuge. | ||
| Lfd. Nr. | Bezeichnung des Halbzeuges | Aschen gehalt % | 
|  1 | Leinen, gebleicht, Probe A | 1,10 | 
|  2 | Leinen, gebleicht, Probe B | 0,36 | 
|  3 | Leinen, gebleicht, Probe C | 1,40 | 
|  4 | Leinen, gebleicht, Probe D | 1,86 | 
|  5 | Weiß Leinen, mittlere Qualität, gebleicht | 0,23–0,29 | 
|  6 | Blau Leinen, gebleicht | 0,12–0,34 | 
|  7 | Sack, Probe A | 0,80 | 
|  8 | Sack, Probe B | 0,70 | 
|  9 | Sack, Probe C | 0,92 | 
| 10 | Leinen, ungebleicht, Nr. 1 | 0,66 | 
| 11 | Leinen, ungebleicht, Nr. 2 | 0,40 | 
| 12 | Leinen, ungebleicht, Nr. 3 | 1,03 | 
| 13 | Leinen, ungebleicht, Nr. 4 | 0,68 | 
| 14 | Leinen, ungebleicht, Nr. 5 | 1,58 | 
| 15 | Baumwolle, gebleicht, A | 0,79 | 
| 16 | Baumwolle, gebleicht, B | 0,25 | 
| 17 | Weiße Baumwolle, gebleicht | 0,24 | 
| 18 | Bunte Baumwolle, gebleicht | 0,30–0,46 | 
| 19 | Baumwolle, ungebleicht, 1 | 1,12 | 
| 20 | Baumwolle, ungebleicht, 2 | 0,90 | 
| 21 | Baumwolle, ungebleicht, 3 | 0,24 | 
| 22 | Hanfstricke, gebleicht | 0,30 | 
| Mittlerer Aschengehalt = 0,74%. | ||
| D. Zellstoffe und
      Holzschliff. | ||
| Lfd. Nr. | Art des Materials | Aschen gehalt % | 
|  1 | Sulfitzellstoff, ungebl., 1 | 0,48 | 
|  2 | Sulfitzellstoff, ungebl., 2 | 0,51 | 
|  3 | Sulfitzellstoff, gebleicht | 0,42 | 
|  4 | Mitscherlich-Zellstoff, ungebleicht | 0,48 | 
|  5 | Natronzellstoff, ungebleicht | 1,40 | 
|  6 | Natronzellstoff, gebleicht | 1,34 | 
|  7 | Strohzellstoff, ungebleicht | 2,30 | 
|  8 | Strohzellstoff, gebleicht | 0,86–1,22 | 
|  9 | Birkenzsllstoff, ungebleicht | 0,65 | 
| 10 | Birkenzsllstoff, gebleicht | 1,57 | 
| 11 | Fichten-Holzschliff | 0,43 | 
| 12 | Kiefern-Holzschliff | 0,70 | 
| 13 | Espen-Holzschliff | 0,36–0,44 | 
| 14 | Linden-Holzschliff | 0,40 | 
| Mittlerer Aschengehalt = 0,94%. | ||
Wie aus den Tabellen B-D weiter ersichtlich ist, nähert sich der mittlere Aschengehalt der reinen Rohstoffe, Halbzeuge, Zellstoffe und des Holzschliffes dem Werte 1,0.
Man sieht hieraus, daß die unverbrennlichen Rückstände der Rohmaterialien einen verschwindend geringen Bruchteil ausmachen, und wenn man für sie rund 1% in Anrechnung bringt, so wird dieses in allen Fällen genügen.
Ganz anders verhalten sich beispielsweise einige ausländische[S. 53] Fasersorten, welche zur Herstellung von Papier benutzt werden. So weisen die gebleichte Adansoniafaser (die Bastfasern der in Afrika heimischen Adansonia digitata, Affenbrotbaum) einen Aschengehalt von 5,70–7,19%, die Fasern, welche in Japan zur Herstellung von Papier dienen, im Durchschnitt einen solchen von 2,5% auf.
Da diese Rohstoffe aber bis jetzt für die deutsche Papierfabrikation von geringer Bedeutung sind, so können sie hier außer acht gelassen werden.
Die zweite der oben angeführten Quellen für die Asche, der der Papiermasse zugesetzte Leim, liefert bisweilen schon einen größeren Prozentsatz an unverbrennlichen Bestandteilen. Bekanntlich wird der größte Teil der bei uns erzeugten Papiere nicht wie früher durch tierischen Leim, sondern durch den billigeren Harzleim beschreibbar gemacht.
Ohne hier auf die Frage einzugehen, was der leimende Faktor im Harzleim ist, sei nur bemerkt, daß bei dem Leimen des Papiers stets mit einem Überschuß von Alaun gearbeitet wird und auf diese Weise eine gewisse Menge überschüssiger Tonerdeverbindungen in das Papier gelangt. Dieselben bleiben in der Asche als Tonerde (Al2O3) zurück und können unter Umständen wohl bis 2% des Papiers ausmachen. Ein geleimtes Papier kann demnach, ohne daß ihm Füllstoffe beigemengt sind, sehr wohl einen Aschengehalt von 3,0% aufweisen.
Endlich werden dem Papier auch aus verschiedenen Gründen, deren Erörterung hier zu weit führen wurde, mineralische Füllstoffe direkt zugesetzt.
Hauptsächlich verwendet werden:
und andere.
Die Bestimmung der Aschenmenge in der Weise vorzunehmen, daß man einen Bogen des zu prüfenden Papiers von bekanntem Gewicht verbrennt und den übrig bleibenden schwarzen Rückstand dem Gewicht nach bestimmt, eine Methode, wie sie wohl hin und wieder noch angewendet wird, ist natürlich für die Erlangung einigermaßen genauer Werte unzulänglich, da das Gewicht der noch nicht verbrannten Kohle mit zur Asche gerechnet wird.
Wenn es auch für die Zwecke der technischen Papierprüfung als überflüssig erscheinen muß, eine Aschenbestimmung beispielsweise bis auf 0,001 g genau auszuführen, denn ein so genaues Arbeiten ist im Hinblick auf die Ungleichartigkeit des Rohmaterials und die ungleichmäßige Verteilung der etwa vorhandenen Füllstoffe durch die Papiermasse[25] sowie den Zweck der Prüfung nicht angebracht, so muß man doch Bedacht darauf nehmen, Verfahren und Apparate anzuwenden bei denen der Fehler 0,25% nicht übersteigt.
Zwei Wagen sind es, welche zu diesem Zwecke vorzugsweise angewendet werden und welche die geforderte Genauigkeit besitzen, nämlich die Postsche und die Reimannsche Aschenwage.
[25] Ein Kupferdruckpapier ergab an verschiedenen Stellen ein und desselben Bogens Aschenmengen von 13,65–14,71%.
Auf 2 horizontal gelagerten Stahlplatten P (Fig. 24) liegt der Hebel H mit einer Stahlschneide S auf; das eine Ende desselben bildet den Zeiger Z, an dem anderen ist eine Stahlschneide eingelassen, auf[S. 55] welche das Gehänge G aufgelegt ist; in diesem Gehänge liegt das Platindrahtnetz D, in welchem die Veraschung des Papiers vorgenommen wird; der Zeiger Z spielt über einer Teilung von 0–150; jeder Teilstrich entspricht einem Belastungszuwachs von 1 Centigramm.
Durch Niederdrücken des Hebels A kann der ganze Hebel H nebst dem daran befindlichen Gehänge von den Platten P abgehoben und so die Wage festgestellt werden; auch dient A dazu, heftige Schwingungen des Zeigers, die beim Auflegen von Papier auf das Gehänge entstehen können, zu mäßigen.
Beim Wägen muß selbstverständlich der Hebel H so liegen, daß er die Walze, in welcher die Schneide S eingelassen ist, nicht berührt.
Mit Hilfe der Schraube Sch wird die Wage so aufgestellt, daß bei eingelegtem Drahtnetz der Zeiger sich auf den Nullpunkt der Teilung einstellt.
Man stelle die Wage so, daß sie vor Erschütterungen möglichst geschützt ist, am besten auf ein Konsol, das an einer Tragewand angebracht ist; ist ein solches nicht zu haben, so vermeide man wenigstens ein häufiges Wechseln des Standortes der Wage.
Der Versuch selbst geht in folgender Weise vor sich.
Sobald der Zeiger bei eingelegtem Drahtnetz auf Null einspielt, legt man in das Gehänge einen Streifen Papier, der nicht ganz die Breite des Drahtnetzes besitzt, damit er nach dem Zusammenrollen gut in dasselbe hineingeht.
Zur Verwendung gelangt eine Papiermasse von dem Gewicht 1 g, weil dann das Gewicht der Asche, in Centigrammen abgelesen, direkt den Prozentgehalt bedeutet.
Geht der Zeiger der Wage nach dem Auflegen des Papierstreifens über den Teilstrich 100 hinaus, so reißt man so lange kleine Stückchen von dem Streifen ab, bis der Zeiger auf 100 einspielt; steht er mit dem aufgelegten Papier unter 100, so fügt man nach und nach geringe Mengen Papier hinzu, bis das Gewicht von 100 Centigramm voll ist.
Das nunmehr im Gehänge befindliche Papier wird darauf fest zusammengerollt und in das Platindrahtnetz geschoben, in welchem es verbrannt wird.
Die Verbrennung geschieht am besten durch Gas mit Hilfe eines Bunsenschen Brenners, welcher einen fächerförmigen Aufsatz trägt (Fig. 25). Durch diesen Aufsatz erzielt man eine Flamme, welche das ganze Drahtnetz gleichzeitig umspielt und zum Glühen bringt, während man bei Anwendung eines einfachen Brenners ohne Aufsatz die Flamme von Zeit zu Zeit verschieben muß, um alle Teile des Papiers in dieselbe zu bringen.
Steht Gas für diesen Versuch nicht zur Verfügung, so muß man sich mit einer kräftigen Spiritusflamme begnügen, mit der man seinen Zweck ebenso vollkommen, jedoch erst nach längerem Glühen erreicht.
Bei Anwendung von Gas ist der Versuch in längstens 10 Minuten beendigt.
Zum Auflegen des Drahtnetzes während der Veraschung bedient man sich zweckmäßig einer Vorrichtung, wie sie in Fig. 25 dargestellt ist. An einem Gestell St befinden sich zwei durch Schrauben festzulegende Gabeln G, welche in der dem Brenner entsprechenden Höhe festgeschraubt werden. Die Drahtstangen der Gabeln sind mit Porzellanröhrchen belegt, um eine Berührung des Platinnetzes mit dem Eisendraht zu verhindern. Während des Versuches drehe man das Netz häufiger, so daß die untere Seite auch nach oben zu liegen kommt, weil die Verbrennung in dem dem Brenner zugekehrten Teile des Netzes nicht so vollkommen ist wie oben.
Einen Verlust hat man während dieses Umdrehens und auch bei dem ganzen Versuch nicht zu befürchten, da die Asche auch bei den feineren Papieren in sich zusammenhält. Man kann nun allerdings der Asche nicht ohne weiteres ansehen, wann sie vollständig ausgeglüht und alles Organische verbrannt ist. Meist wird dies der Fall sein, wenn nach dem Entfernen der Flamme in dem Rückstand Glimmen nicht mehr zu bemerken ist. Sieht man noch Teile der Asche weiter glimmen, besonders wenn man mit der Hand vorsichtig etwas Luft dagegen fächelt, so ist dies ein Beweis dafür, daß noch unverbrannte Kohleteilchen vorhanden sind; das Glühen muß sodann fortgesetzt werden, bis diese Erscheinung nicht mehr auftritt.
Die Asche erscheint alsdann als eine weiße bis weißgraue Masse, vorausgesetzt, daß das verwendete Papier nicht mit einem farbigen, unorganischen Farbstoff gefärbt war, der auch in der Glühhitze seine Farbe nicht verliert.
Nach dem vollständigen Erkalten bringt man das Netz mit seinem Inhalt in das Gehänge der Wage und liest ab, über welchem Teilstrich der Zeiger spielt; die Zahl der angezeigten Centigramme gibt den Aschengehalt des Papiers in Prozenten an.
Zahlreiche Vergleichsversuche, die mit Hilfe einer chemischen Wage angestellt wurden, ergaben als größten Fehler der Postschen Aschenwage 0,23%, so daß sie für praktische Zwecke als vollkommen genügend bezeichnet werden kann. Auf zwei kleine Fehlerquellen, die sie in sich birgt, wird später noch eingegangen.
Hat man den Aschengehalt durch Ablesen an der Teilung festgestellt, so muß man sich überzeugen, ob die Veraschung vollständig durchgeführt ist; denn häufig sieht der Rückstand sehr weiß aus und glimmt auch nach dem Entfernen der Flamme nicht mehr nach, und dennoch befinden sich im Innern noch Kohleteilchen, bis zu denen keine atmosphärische Luft gedrungen ist und welche aus diesem Grunde nicht verbrennen konnten. Man drückt deshalb nach dem Ablesen die Asche auf einem Papierblatt mit Hilfe eines Glasstabes auseinander; finden sich im Innern noch schwarze, unverbrannte Teile vor, so ist der Versuch als verfehlt zu betrachten und es muß ein anderer ausgeführt werden.
Von den beiden Fehlerquellen, die oben kurz erwähnt wurden, steckt die eine in dem Platinnetz, die andere in dem an dem Netz befindlichen Griff aus Messing.
Dadurch, daß der Platindraht in der Glühhitze mit der Kohle aus dem Papier zusammenkommt, entsteht eine Verbindung des Platins mit dem Kohlenstoff, das sogenannte Kohlenstoffplatin, das sich in der Glühhitze verflüchtigt.
Das Platinnetz wird also während des Versuches leichter.
Ein Netz, welches in der Versuchsanstalt gebraucht wurde und welches ursprünglich 16,566 g schwer war, wog nach 74 Veraschungen nur noch 16,142; es hatte demnach 0,424 g oder 2,6% seines Anfangsgewichtes verloren.
Die Zerstörung des Platinnetzes geht schließlich so weit, daß die ursprünglich etwa 1 mm starken Drähte haardünn werden und das Netz durch ein neues ersetzt werden muß.
Die andere Fehlerquelle liegt, wie schon erwähnt, in dem Messinggriff des Netzes; beim Erhitzen des Papiers entstehen im Innern, wo die Luft nicht sofort zutreten kann, Produkte der trockenen Destillation; diese Kohlenwasserstoffe schlagen sich an dem[S. 58] kälteren Griff zum Teil nieder und bilden hier eine schwarze, kohlige, schwer zu entfernende Masse.
Der Metallgriff wird also während des Versuches schwerer und hebt mehr oder weniger den durch das Platinnetz verursachten Fehler wieder auf.
Diese beiden Unzuträglichkeiten sind bei der Reimannschen Aschenwage vermieden.
Der eine Arm des Wagebalkens ist mit einem Gewicht aus einem Stück gearbeitet (Fig. 26); der andere trägt zwei Wagschalen, von denen die obere zum Auflegen eines Glasröhrchens (Fig. 27), die untere für Gewichte bestimmt ist. Da die Wage ohne Glasrohr bei einer Belastung von 21 g sich im Gleichgewicht befindet, so wähle man das Röhrchen so aus, daß es dem Gewicht von etwa 19 g nahe kommt, ohne jedoch diese Grenze zu überschreiten. Auf die untere Wagschale bringt man an Gewichten 2 g und zwar ein Grammgewicht als solches und den Rest in Deci- und Centigrammstücken. Eine etwaige Differenz gleicht man auf der unteren Wagschale mit kleinen Metallstückchen sowie mittels der zu diesem Zweck angebrachten Schraube R aus.
Eine Pinselarretierung, wie sie Fig. 26 zeigt, hat sich für das Auflegen und Abnehmen der Gewichte als sehr praktisch erwiesen.
Der Gang der Aschenbestimmung ist folgender.
Nachdem die Wage mit dem aufgelegten Glasröhrchen so aufgestellt ist, daß die Zunge nach rechts und links um gleich viel Teilstriche ausschlägt, wird[S. 59] das Grammgewicht von der unteren Schale entfernt und statt dessen so viel Papier aufgelegt, daß die Wagenzunge wieder gleichmäßig um den Nullpunkt der Teilung spielt. Diese Menge Papier, 1 g schwer, wird zusammengerollt, in ein Platinnetz gesteckt, wie es Fig. 27 zeigt, und nun in derselben Weise mit Hilfe des Gestelles Fig. 25 verascht, wie es vorher auseinandergesetzt wurde.
Ist die Veraschung beendigt, so steckt man das Platinnetz in das Glasröhrchen und schüttet die Asche hinein; geringes Klopfen mit dem Netz gegen die Wände des Glases genügt, um den Rückstand ohne jeden Verlust in das Röhrchen überzuführen.
Da sich die Platinnetze beim Gebrauch häufig verbiegen und zusammendrücken und die Asche sich dann schwer aus ihnen entfernen läßt, so weitet man sie von Zeit zu Zeit dadurch wieder auf, daß man sie über einen entsprechend starken Holzstab zieht. Das Röhrchen, welches jetzt die Asche des Papiers enthält, wird nunmehr auf die obere Wagschale gelegt und das Grammgewicht, welches beim Abwägen des Papiers von der Schale fortgenommen wurde, auf diese zurückgebracht.
Die Zunge der Wage wird nun naturgemäß nach der Seite der beiden Wagschalen zu ausschlagen, und zwar um so mehr, je größer das Gewicht der Asche ist. Um dieses zu bestimmen, entfernt man von den kleinen Gewichten allmählich so viel, daß der Ausschlag der Zunge nach beiden Seiten des Nullstriches gleich groß ist. Die Summe dieser Gewichte ergibt das Gewicht der Asche; in Centigrammen ausgedrückt, bedeutet sie den Prozentgehalt des Papiers an unverbrennlichen Bestandteilen. Wären beispielsweise behufs Herstellung des Gleichgewichtes der Wage nach dem Auflegen des Röhrchens mit der Asche 11 cg heruntergenommen worden, so hätten 1 g oder 100 cg Papier 11 cg unverbrennliche Bestandteile hinterlassen, d. h. das Papier würde 11% Asche enthalten.
Es erübrigt noch zu bemerken, daß Bruchteile von Centigrammen an dem Ausschlagen auf der Teilung abgelesen werden; die Wagen sind meist so gebaut, daß ein Ausschlag von zwei Teilstrichen einer Belastung von 1 cg entspricht; auf diese Weise läßt sich also der Aschengehalt auf Viertelprozente genau ablesen.
Handelt es sich darum, genauere Angaben als diese über die im Papier enthaltenen Füllstoffe zu erhalten, so reichen die beiden[S. 60] beschriebenen Wagen für die Bestimmung nicht mehr aus und es muß eine quantitative Bestimmung mit Hilfe der chemischen Wage vorgenommen werden.
Hierbei ist dann auch die im Papier enthaltene Feuchtigkeit zu berücksichtigen, welche bei den eben erwähnten Methoden wegen des geringen Einflusses, den sie auf das Endergebnis ausübt, nicht in Betracht gezogen ist.
Um den Feuchtigkeitsgehalt im Papier zu bestimmen, werden ungefähr 1–2 g in ein Trockengläschen gebracht, wie es Fig. 28 zeigt; dieses wird dann ohne Deckel in einem Luftbad 30 Minuten lang auf ungefähr 105° C. bis zum gleichbleibenden Gewicht erhitzt.
Nach Abzug des Gewichtes der Trockenflasche erhält man das Gewicht des Papiers.
Das getrocknete Papier wird darauf, auf eine Platinnadel gespießt oder mit einem Platindraht umwickelt, verbrannt und der Rückstand in einem kleinen Porzellan- oder Platintiegel so lange geglüht, bis zwei aufeinanderfolgende Wägungen dasselbe Ergebnis liefern. Beim Glühen stellt man den Tiegel schräg und legt den Deckel schräg gegen die Tiegelöffnung, damit die Luft besser hinzutreten kann.
Aus dem Gewicht des Papiers und des Rückstandes läßt sich dann der Aschengehalt in Prozenten berechnen.
Heyse[26] hat eine Veraschungsvorrichtung vorgeschlagen unter Verwendung eines Porzellantiegels mit durchlochtem Deckel. Durch das Loch ragt ein mit einer feinen Öffnung versehenes hartgelötetes Kupferrohr mit Platinspitze, durch welches während des Veraschens mit Hilfe eines Gummiballes Luft in den Tiegel geblasen wird. Hierdurch wird der Verbrennungsprozeß wesentlich beschleunigt. Beim Einblasen der Luft muß man natürlich vorsichtig zu Werke gehen, da sonst leicht Asche aus dem Tiegel fortgeblasen werden kann.
Es folgt nunmehr die qualitative Bestimmung des in der Asche enthaltenen Füllstoffes, deren Erörterung indessen außer dem Bereich dieser Anleitung liegt; es soll hier nur der Grund kurz angegeben werden, weshalb eine qualitative Analyse zu einer genauen Aschenuntersuchung erforderlich ist.
Bei der Veraschung finden mit den im Papier vorhandenen[S. 61] mineralischen Füllstoffen infolge des Glühens mehr oder weniger weitgreifende chemische Veränderungen statt, indem teilweise Bestandteile ausgetrieben, teilweise Füllstoffe in andere Verbindungen übergeführt werden; es sei hierfür nur ein Beispiel erwähnt.
Angenommen, es wäre einem Papierstoff Gips zugesetzt, wasserhaltiger schwefelsaurer Kalk, von der Zusammensetzung CaSO4 + 2 H2O. Dieser Körper gibt beim Glühen sein Wasser ab, und in der Asche bleibt nur wasserfreier schwefelsaurer Kalk (CaSO4) zurück. Unter Zugrundelegung der angegebenen Formel ergibt sich, daß 172 Gewichtsteile Gips 136 Gewichtsteile schwefelsauren Kalk hinterlassen. Somit hat man einen Glühverlust von rund 21%, der in Rechnung zu ziehen ist durch Erhöhung des gefundenen Aschengehaltes um rund 26%.
Außerdem kann ein Teil des Gipses bei ungenügendem Luftzutritt während der Veraschung in Calciumsulfid übergeführt werden, wodurch ein weiterer Verlust entsteht.
[26] Wochenblatt für Papierfabrikation 1899, S. 239.
Die Aufgabe der mikroskopischen Papierprüfung besteht hauptsächlich darin, die Art der Fasern zu bestimmen, aus denen ein Papier hergestellt ist; in zweiter Linie soll sie Aufschluß darüber geben, in welchem Zustand sich die Fasern befinden und in welchen Mengen sie vorhanden sind, soweit sich letzteres durch Abschätzung des mikroskopischen Bildes im Vergleich mit Mischungen von bekannter Zusammensetzung beurteilen läßt.
Durch Anwendung von Jodlösungen verschiedener Art gelingt es, die Papierfasern in Gruppen zu trennen, die das Auge leicht durch ihre verschiedene Färbung unterscheiden kann. Innerhalb dieser Gruppen wiederum Unterschiede durch Färbung hervorzurufen, ist trotz aller Versuche bisher nicht gelungen. Eine sichere Kenntnis des Baues der Fasern bleibt daher ein unbedingtes Erfordernis zu ihrer Erkennung. Der Bau der Zelle gibt hierzu Anhaltspunkte, obschon diese nicht immer so sicher sind, daß Verwechselungen einzelner Fasern ausgeschlossen wären.
Das Papier als solches ist zum Mikroskopieren nicht ohne weiteres geeignet. Stellenweise wird vorgeschrieben, ein kleines Stück des zu untersuchenden Papiers auf dem Objektglase in einem Tropfen Wasser, Glycerin o. a. mit Präpariernadeln zu zerfasern und unter dem Mikroskope zu betrachten; diese Methode ist roh und unvollkommen, weil die neben den Fasern im Papier vorhandenen Körper, wie Leim, Stärke, Füllstoffe u. s. w., den Bau der Zelle verdecken und ihr Erkennen erschweren. Um diese der Untersuchung hinderlichen Bestandteile zu entfernen, ist es erforderlich, das Papier zunächst in ganz verdünnter Natron- oder Kalilauge zu kochen.
Zur Erlangung einer guten Durchschnittsprobe entnimmt man, am besten aus verschiedenen Bogen, kleine Stücke des zu[S. 63] untersuchenden Materials, übergießt sie in einer Porzellanschale mit einer geringen Menge etwa 5prozentiger Natronlauge, läßt diese einige Zeit einwirken, fügt dann Wasser hinzu und erhitzt das Ganze zum Kochen. Schon bei diesem Kochen verrät sich die Anwesenheit eines Faserstoffes, nämlich die des Holzschliffes. Holzschliffhaltiges Papier färbt sich erbsengelb, während holzschlifffreies Papier im Aussehen unverändert bleibt.
Man kocht ungefähr eine Viertelstunde und rührt dabei häufig mit einem Glasstabe um; Papiere aus geringerem Material verlieren hierbei ihren Zusammenhang ziemlich leicht und liefern eine breiige Masse, während festere Papiere sich erst nach längerem Rühren zerfasern. Ist das Kochen beendet, so bringt man das Ganze in einen unten durch ein feinmaschiges Sieb verschlossenen Spültrichter von nebenstehender Form (Fig. 29) und gießt Wasser über die darin befindliche Masse, um die den Fasern anhaftende Lauge zu entfernen.
Der Brei wird dann in eine weithalsige, mit Glasstopfen versehene Flasche gebracht, deren Boden etwa 2 cm hoch mit kleinen Granaten bedeckt und die außerdem etwa zur Hälfte mit Wasser gefüllt ist. Die weitere Zerfaserung wird nun dadurch bewirkt, daß die Flasche kräftig geschüttelt wird, bis die Stoffklumpen verschwunden sind und ein gleichmäßiger dünner Brei entstanden ist. Der so erhaltene Ganzstoff wird mittels des erwähnten Siebtrichters abfiltriert und aus dem Brei dann das Material für die mikroskopischen Präparate entnommen.
Man erhält auf diese Weise klare mikroskopische Bilder, da die Fasern durch den Kochprozeß von allen Stoffen befreit sind, die ihren Bau verdecken und die mikroskopische Untersuchung erschweren; ferner läßt sich der gewonnene Brei bequem präparieren und schließlich stellt die erhaltene breiige Masse eine gute Durchschnittsprobe dar.
Der Wasserzusatz in der Schüttelflasche hat einerseits den Zweck, die Beweglichkeit des Stoffes zu erhöhen und die Fasern der Einwirkung der Granaten leichter zugänglich zu machen, andererseits dient er dazu, eine zu starke Einwirkung zu verhindern; nimmt man zu wenig Wasser, so kann es vorkommen, daß die Fasern durch das Schütteln so stark angegriffen werden,[S. 64] daß sie im mikroskopischen Bilde entstellt erscheinen. Dieser Fall wird besonders dann eintreten, wenn man bei wenig Brei und wenig Wasser sehr lange und kräftig schüttelt. Aber auch bei hinreichendem Wasserzusatz ist das Schütteln nur so lange fortzusetzen, bis die klumpigen Massen zerteilt sind.
Bei Beobachtung dieser Vorsicht hat man keine störende Veränderung im Zustande der Fasern zu befürchten.
Sehr bequem ist, besonders bei kleinen Proben und sehr festem Papier, die Vorbereitung im Reagensglase ohne Verwendung von Granaten. Man kocht die Probe mehrere Minuten mit einer etwa 5prozentigen Lauge, kühlt etwas ab, verschließt die Mündung des Röhrchens mit dem Daumen und schüttelt so lange, bis vollständige Zerfaserung eingetreten ist. Der Inhalt des Röhrchens wird dann auf ein kleines Sieb gebracht und die zurückbleibende Fasermasse, nachdem sie mit Wasser gewaschen ist, zur Herstellung der mikroskopischen Präparate benutzt.
Die Reinigung der Schüttelflaschen, der Siebtrichter und Porzellanschalen wird am besten gleich nach dem Gebrauch vorgenommen, oder man stellt die benutzten Gegenstände (die Schüttelflaschen geöffnet) in ein großes Gefäß mit Wasser, damit die Faserreste nicht antrocknen. Die Schüttelflasche wird behufs Reinigung zur Hälfte mit Wasser gefüllt, tüchtig durchgeschüttelt, wieder entleert und so weiterbehandelt, bis in dem über den Granaten stehenden Wasser keine Fasern mehr bemerkt werden; auch ganz vereinzelte Fasern sind in dem Wasser deutlich sichtbar.
Pappen und Preßspäne, welche beim Kochen mit Lauge nur schwer erweichen, spaltet man vorher in dünne Blätter, um sie der Einwirkung der Lauge leichter zugänglich zu machen. In solchen Fällen leistet außerdem ein mechanisches Rührwerk, das sich z. B. leicht mit der kleinen Raabeschen Turbine antreiben läßt, gute Dienste.
Gefärbte Papiere werden im allgemeinen nicht anders behandelt als ungefärbte. Die Farbe wird häufig schon durch den Kochprozeß vollständig zerstört oder so umgewandelt, daß sie bei der Untersuchung nicht hindert; auch bei widerstandsfähigeren Farben pflegt die mikroskopische Untersuchung von gefärbtem Papierbrei im allgemeinen nicht größere Schwierigkeiten zu machen als das Mikroskopieren von ungefärbtem Brei. Eine besondere Behandlung des Papiers oder des Breies zur Entfernung des Farbstoffes ist nur dann erforderlich, wenn die Farbe so dunkel ist, daß sie den Bau der Faser verdeckt. Als Farbstoff lösende oder zerstörende Mittel kommen hauptsächlich Alkohol, Salzsäure, Salpetersäure und Chlorkalk in Betracht. Ein Verfahren, das in allen Fällen zum Ziel[S. 65] führt, kann nicht angegeben werden, da es in jedem Fall von der chemischen Natur des verwendeten Farbstoffes abhängig ist.
Nicht geleimte Papiere, Löschpapiere, Filtrierpapiere, Halbstoffe u. s. w. lassen sich schon mit Wasser zerkochen. Indessen tut man gut, auch in diesen Fällen etwas Lauge hinzuzufügen, da hierdurch bessere Färbungen und klarere mikroskopische Bilder erzielt werden. Nur bei wollhaltigen Papieren (Kalanderpapier, Schrenzpapier, Dachpappe u. s. w.) ist Lauge ganz zu vermeiden, da Wolle von Natronlauge aufgelöst wird.
Wie schon erwähnt, wird das Erkennen der Fasern durch Anwendung geeigneter färbender Lösungen wesentlich erleichtert; als solche kommen vorzugsweise eine Jod-Jodkaliumlösung und eine Chlorzinkjodlösung von bestimmter nachstehend angegebener Zusammensetzung in Betracht.
1. Jod-Jodkaliumlösung.
2. Chlorzinkjodlösung.
Man stelle zunächst die folgenden beiden Lösungen her:
Man vermische dann A mit B, lasse den entstehenden Niederschlag sich absetzen und gieße die überstehende klare Reaktionsflüssigkeit ab; in diese bringt man ein Blättchen Jod.
Auf genaue Innehaltung der Mengenverhältnisse der einzelnen Bestandteile ist zu achten, da schon bei geringen Abweichungen die Wirkung der Lösung beeinträchtigt wird. Beide Lösungen, die vor Licht zu schützen sind, füllt man zum Gebrauch am vorteilhaftesten in braune Pipettenflaschen.
Die Art der Färbung der für die Papierfabrikation hauptsächlich in Frage kommenden Fasern bei Anwendung der beiden Lösungen ist aus nachstehender Zusammenstellung ersichtlich.
Leider lassen sich die Färbungen der verschiedenen Fasern nicht bei jedem Papier scharf abgrenzen, da die Farbtöne, zumal bei stark zermahlenen Stoffen, zuweilen ineinander übergehen.
| Fasern | Färbung in | ||
| Gruppe I (Verholzte Fasern) | Holzschliff, rohe Jute, schlecht aufgeschlossene Zellstoffe | teils leuchtend gelb- braun, teils gelb, je nach Schichtendicke und Verholzungsgrad | zitronengelb bis dunkelgelb | 
| Strohstoff | teils gelbbraun, teils gelb, teils grau | teils gelb, teils blau teils blauviolett | |
| Gruppe II (Zellstoffe) | Holzzellstoff und Adansonia | grau bis braun | blau bis blauviolett | 
| Stroh- und Jutezellstoff | grau | blau bis blauviolett | |
| Esparto | teils grau, teils braun | teils blau, teils weinrot | |
| Manilahanf | teils grau, teils braun, teils gelbbraun | blau, blauviolett, rot- violett, schmutzig- gelb, grünlichgelb | |
| Gruppe III (Lumpenfasern) | Leinen, Hanf Baumwolle | schwach bis dunkel- braun, dünnen Lamellen fast farblos | |
Jenke[30] hat empfohlen, die Fasern in folgender Lösung zu beobachten:
| 50   | ccm  | gesättigte Chlormagnesiumlösung | 
|  2,5 | „  | Jod-Jodkaliumlösung (2 g KJ, 1,15 g J, 20 ccm H2O). | 
Hierin erscheinen:
| Lumpen | braun, | 
| Strohzellstoff | blauviolett, | 
| Holzzellstoff | ungefärbt bis schwach rötlich, | 
| Holzschliff, rohe Jute | gelb. | 
Behrens-Delft[31] hat vorgeschlagen, die verschiedene Aufnahmefähigkeit der Fasern für gewisse Anilinfarben zur Trennung zu benutzen; man erzielt auf diese Weise unterscheidende Färbungen, die in gewissen Fällen recht wertvoll sind (siehe S. 84).
v. Höhnel[32] behandelt Faserbrei mit Jod-Jodkaliumlösung (eine etwa 3 cm starke Schicht soll rubinrot sein) und nach dem Abdrücken mit Fließpapier mit Schwefelsäure von bestimmter, durch praktische Versuche mit Fasern zu ermittelnder Stärke.
Dann färben sich:
| Lumpen | rotviolett, | 
| Zellstoffe von Holz und Stroh | rein blau, | 
| Holzschliff und rohe Jute | dunkelgelb. | 
[27] Vergl. Tafel XIII.
[28] Vergl. Tafel XIV.
[29] Erscheinen die Lumpenfasern bläulich, so ist die Lösung zu stark und muß vorsichtig mit Wasser verdünnt werden, bis sich die Lumpen rot färben. Werden die Zellstofffasern nicht blau, sondern rötlich gefärbt, so ist die Lösung zu schwach; sie kann meist durch geringen Zusatz von Zinkchlorid brauchbar gemacht werden; gelingt dies nicht, so ist die Lösung neu anzufertigen.
[30] Papierzeitung 1900, No. 77.
[31] H. Behrens, Mikrochemische Analyse 1896.
[32] v. Höhnel, Über eine neue Methode der mikroskopischen Papierprüfung. Mitt. a. d. Technol. Gew. Museum. Wien 1889, S. 6–8.
Zum Zerteilen des Breies auf dem Objektglase bedient man sich zweier Präpariernadeln, am besten aus Platin, da andere Materialien, namentlich Hornnadeln, von der Jodlösung stark angegriffen werden.
Beim Arbeiten mit der Jod-Jodkaliumlösung kann man ein Klümpchen des erhaltenen Breies ohne weiteres verwenden; beim Färben mit der Chlorzinkjodlösung muß es erst von dem mechanisch anhaftenden Wasser befreit werden. Zu diesem Zwecke drückt man es auf ein Stückchen porösen Ton, Gips o. a.; fehlt es an derartigem Material, so läßt sich das Wasser auch durch sorgfältiges Ausstreichen des Breies auf der Hand entfernen. Die Beseitigung des Wassers ist bei Anwendung von Chlorzinkjodlösung erforder[S. 68]lich, weil anderenfalls die Färbung nicht mit der nötigen Schärfe eintritt.
Das ausgedrückte Breiklümpchen bringt man auf das Objektglas, fügt 1–2 Tropfen der Lösung hinzu und verteilt die Fasern möglichst gleichmäßig.
Das Objektglas legt man hierbei hohl über eine weiße Unterlage, da sich die Fasern auf diese Weise am besten vom Untergrund abheben. Fig. 30 zeigt eine Vorrichtung, wie sie zu diesem Zwecke angewendet wird. Jedes Präparat wird mit einem Deckgläschen vom Rande der Flüssigkeit aus vorsichtig bedeckt und mit einem scharf beschnittenen Stück Fließpapier, welches man gegen den Rand hält, die zuviel zugesetzte Lösung fortgenommen. Hierbei ist indessen darauf zu achten, daß man das Papier nicht zu lange saugen läßt, da sonst zwischen Objekt- und Deckglas Luftblasen entstehen, die beim Untersuchen stören.
Zur staubfreien Aufbewahrung und bequemen Entnahme der Deckgläschen hat die Firma L. Schopper-Leipzig auf Anregung der Versuchsanstalt Behälter angefertigt, die sich als sehr praktisch erwiesen haben; aus Fig. 31 ist deren Bau und Wirkungsweise ohne weiteres zu ersehen; die Füllung mit Deckgläschen erfolgt bei abgenommenem Deckel nach dem Herunterklappen der Rückwand, die Entnahme der Gläschen von unten; der zwischen der unteren Platte und der Vorderwand befindliche Schlitz kann mittels einer Schraube so eingestellt werden, daß immer nur das unterste Deckgläschen entnommen werden kann.
Für die Untersuchung der Fasern empfiehlt sich eine etwa 150fache lineare Vergrößerung; man erkennt zwar viele Fasern schon bei einer geringeren Vergrößerung, aber die Feinheiten des Faserbaues gehen hierbei verloren. In der Versuchsanstalt wird mit Zeißschen Mikroskopen, gewöhnlich mit dem Okular Nr. 2 und dem Objektiv D, gearbeitet. Diese Zusammenstellung entspricht ungefähr einer 150fachen Vergrößerung, die für die Unterscheidung der Fasern meist ausreicht und sich sehr gut bewährt hat.
Will man sich einen Überblick über die Menge der verschiedenen Faserarten verschaffen, so wählt man eine geringere, etwa 50fache Vergrößerung, damit eine größere Fläche auf einmal übersehen werden kann.
Zur Herstellung von Holzschliff werden vorzugsweise Nadelhölzer (Pinus Picea Fichte, P. sylvestris Kiefer, P. Abies Weißtanne und auch wohl P. Larix Lärche) verwendet.
Der anatomische Bau aller zu den Nadelhölzern gehörigen Arten ist sehr gleichartig und deshalb die auf geringe Verschiedenheiten in dem Bau der Markstrahlzellen gestützte Unterscheidung oft recht schwierig. Bei der Papierprüfung hat diese Unterscheidung im allgemeinen wenig Wert, und es soll daher, um den Stoff nicht unnütz zu erschweren und zu erweitern, auf die anatomischen Verschiedenheiten der einzelnen Koniferenarten nicht eingegangen werden. In Wiesners Technischer Mikroskopie und in ähnlichen Werken kann man die Unterscheidungsmerkmale finden.
Diejenigen Zellen nun, die dem Beobachter sofort auffallen und die am zahlreichsten vertreten sind, sind die sogenannten Holzzellen, teils dick- teils dünnwandige Zellen, die durch die Tüpfel oder behöften Poren sehr charakteristisch gekennzeichnet sind. Die Tüpfel erscheinen, von der Fläche[S. 70] aus gesehen, meist als zwei konzentrische Kreise, wie dies aus Fig. 32, die eine schematische Darstellung dieser Tüpfel, a) von der Fläche gesehen, b) in Seitenansicht, zeigt, deutlich zu ersehen ist. Ansicht b) wird man indessen bei Untersuchungen selten wahrnehmen. Die Tüpfel erscheinen mehr oder weniger elliptisch geformt und zur Längsachse der Zelle schief gestellt.
Wenn auch ein großer Teil der Holzzellen beim Schleifen des Holzes zertrümmert wird (Fig. 33), so kommen doch auch noch viele gut erhaltene im Papier vor, an denen man diese Tüpfel deutlich wahrnehmen kann (Fig. 34).
Neben diesen Holzzellen sind jedoch noch andere vorhanden, die sich ebenso vorzüglich zur Erkennung des Holzschliffes eignen, nämlich die Markstrahlzellen, welche im Stamme von der Mitte aus sternförmig nach außen verlaufen und durch ihr gitterförmiges Gefüge auffallen.
Fig. 35 zeigt derartige Markstrahlzellen, wie sie über darunter liegende Holzzellen fortlaufen.
Außer den Nadelhölzern werden auch in geringem Umfange Laubhölzer, wie Birke, Pappel u. a., verschliffen. Zur Erkennung dieser Laubholzschliffe wird auf das S. 73–75 bei Besprechung der Zellstoffe aus diesen Hölzern Gesagte verwiesen.
Was man unter dem Namen Jute namentlich zur Herstellung von Packpapier, Zuckerpapier, Briefumschlagpapier, sogenanntem Manilapapier u. s. w. verwendet, sind die Bastzellen mehrerer ostindischer Pflanzenarten (Corchorus olitorius, C. capsularis, C. fuscus, C. decemangulatus u. a.). Sie lassen sich schwer bleichen und finden deswegen für feine Papiere keine Verwendung.
Die charakteristische Eigentümlichkeit der Bastfasern dieser Pflanzen besteht darin, daß die Wandstärke der Zellen an verschiedenen Stellen verschieden ist und oft schon im Bereich des mikroskopischen Bildes stark wechselt. Zuweilen ist die Wand sehr dünn, dann wird sie mehr oder minder plötzlich dicker und verdickt sich oft so sehr, daß die Höhlung der Zelle nur noch als eine dünne Linie erscheint oder auf kurze Strecken vollständig verschwindet, um eine kurze Strecke weiter dieselben Wandlungen von neuem durchzumachen (Fig. 36).
Man darf indessen nicht erwarten, daß jede Zelle diese Merkmale so auffallend zeigt wie eben geschildert; an manchen sind sie schwer aufzufinden, und man muß die Zelle erst unter dem Mikroskop verfolgen, um Verschiedenheiten in der Wandstärke zu entdecken.
Stellenweise zeigen die Fasern Poren und ganz ähnliche Verdickungen (Knoten), wie wir sie später bei der Leinenfaser regelmäßig antreffen werden; diese Knoten heben sich in Jod-Jodkaliumlösung durch ihre in ein mehr oder weniger gelbes Braun übergehende Färbung deutlich gegen die anderen Teile der Zelle ab.
Häufig kommt es vor, daß man die Jutefasern noch zu ganzen Bündeln vereinigt in dem mikroskopischen Bilde erblickt (Tafel II). Zur Erkennung des anatomischen Baues sind solche Bündel wenig geeignet, weil meist eine Zelle die andere verdeckt.
Hinsichtlich der charakteristischen Merkmale von Strohstoff und schlecht aufgeschlossenem Holzzellstoff wird auf S. 76 u. 99 verwiesen.
[33] Die Angaben über die Färbung in Jod-Jodkalium- und Chlorzinkjodlösung sollen bei Besprechung der einzelnen Fasern nicht wiederholt werden; es wird hierzu auf die Tabelle S. 66 verwiesen.
[34] Den Namen „Holzstoff“ für Holzschliff sollte man vermeiden, da er als solcher angewendet ungenau und mit dem Vermerk „mechanisch zubereitet“ versehen etwas umständlich ist.
Für das Erkennen des Nadelholzzellstoffes unter dem Mikroskop gilt natürlich im allgemeinen das vorher beim Holzschliff Gesagte; man erkennt ihn an den behöften Poren oder Tüpfeln der Holzzellen. Jedoch ist zu bemerken, daß das Gefüge der Zellen infolge des voraufgegangenen Kochprozesses weniger deutlich hervortritt als beim Holzschliff. Häufig ist man nicht im stande, die beiden konzentrischen Kreise der Poren genau wahrzunehmen; die Tüpfel erscheinen dann mehr wie kreisförmige oder elliptisch geformte helle Stellen auf den Zellwänden. Ferner fehlen meist die charakteristischen Markstrahlzellen, die nur in seltenen Fällen und auch dann nur höchst undeutlich zu erkennen sind. Neben den behöften Poren zeigen die Fasern große einfache Poren (Fig. 37), die im Gegensatz zu den ersteren durch den Kochprozeß weit klarer sichtbar werden.
Bei nicht völlig aufgeschlossenem Zellstoff kommt es vielfach vor, daß die Fasern eine schwach gelbliche Färbung aufweisen. Dies beruht darauf, daß man es nicht mit vollkommen reinem Zellstoff, sondern mit Zellen zu thun hat, die noch, wenn auch in ganz geringem Maße, verholzt sind. Es kann bei einem solchen Material, wenn man es makroskopisch mit Phloroglucin behandelt,[S. 73] vorkommen, daß man infolge der auftretenden Rotfärbung glaubt, es mit Holzschliff zu tun zu haben.
Auf die Verschiedenheiten der von verschiedenen Nadelhölzern herrührenden Zellstoffe soll hier nicht näher eingegangen werden; es sei um so mehr auf das hierüber beim Holzschliff Gesagte verwiesen, als die Unterscheidungsmerkmale hier noch weniger deutlich hervortreten als beim geschliffenen Holz.
Die meisten Zellstoffe dürften wohl von der Fichte herrühren, die sich wegen ihres geringen Harzgehaltes am besten zur Fabrikation eignet.
Auf eine Eigentümlichkeit sei noch besonders hingewiesen; es treten bei manchen Holzzellstofffasern Erscheinungen auf, wie sie der Baumwolle eigen sind, nämlich spiralförmige Windungen der Zelle und gitterförmige Streifung der Zellwände (Fig. 38). Verwechselung mit Baumwolle ist indessen bei einiger Übung ausgeschlossen.
Laubholzzellstoff.
Die Fasern der Laubhölzer bieten nicht so charakteristische und leicht auffindbare Merkmale dar wie die der Nadelhölzer. Die Holzzellen sind meist dünnwandig, die breiteren sparsam mit Poren versehen, die eine scharf begrenzte mandelförmige, seltener rundliche Gestalt haben und zur Längsachse der Zelle schief gestellt sind.
Bemerkenswert sind bei den Laubhölzern die zahlreichen röhrenartigen Gefäße, die einen größeren Porenreichtum aufweisen und zur Unterscheidung der einzelnen Holzarten einen Anhalt geben.
Die Holzzellen der Birke sind oft sehr dünnwandig; die dickwandigen sind den Bastzellen des Strohes nicht unähnlich.
Die dünnwandigen Zellen tragen vielfach einfache mandelförmige Poren, deren Längsachsen teilweise parallel, teilweise schief zur Zellrichtung verlaufen (Fig. 39); zuweilen nehmen die Poren auch eine mehr oder weniger rundliche Gestalt an. Die Enden der Zellen sind sehr mannigfaltig, teilweise sehr spitz, teilweise abgestumpft bis rund.
Die Gefäße, die oft noch vollständig und sehr schön erhalten im Papier vorkommen, sind mit einer großen Anzahl einfacher schlitzförmiger Poren versehen, die senkrecht zur Längsachse des Gefäßes gestellt sind. Diese Poren sind zuweilen über das Gefäß gleichmäßig verteilt (Fig. 40).
An den Enden sieht man die gitterförmig durchbrochenen Querwände der Gefäße sehr schön. Der Gefäßreichtum ist bei der Birke sehr groß.
Der Birkenzellstoff gibt zwar ein sehr schön weißes, aber wenig festes und dehnbares Papier und wird wohl nur in Ländern hergestellt, wo es an anderen Holzarten, namentlich an Nadelhölzern, fehlt.
Zur Herstellung dürfte vorzugsweise das Holz der Zitterpappel (Populus tremula) und der Weißpappel (P. alba) Verwendung finden. Unter den Laubhölzern liefern diese beiden Hölzer den zur Bereitung von Papier geeignetsten Zellstoff.
Über die Holzzellen der Pappel läßt sich kaum etwas anderes sagen als über die der Birke; sie sind einander zum Verwechseln ähnlich; die breiteren weisen hier nicht so viele und in der Regel kleinere Poren auf als die der Birke. Schmale Zellen mit knotenförmigen Verdickungen (Fig. 41) kommen ziemlich häufig vor.
An Gefäßen ist die Pappel ärmer als die Birke. Die Poren[S. 75] sind größer als bei der Birke und von einem fünf- bis sechseckig-rundlichen Hof umgeben (Fig. 42); auch große einfache Poren sind in den Gefäßwänden vorhanden (Fig. 43). Charakteristisch für die Gefäße sind die schwanzartigen Enden, die oft eine beträchtliche Länge erreichen (Fig. 43). Die gitterförmig durchbrochenen Querwände, die bei der Birke so charakteristisch hervortreten, fehlen hier. Andere Laubhölzer, wie Linde, Erle, Ahorn u. s. w., dürften wohl auch gelegentlich zu Zellstoff verarbeitet werden, ein weiteres Eingehen hierauf erscheint indessen nicht am Platze.
Zur Herstellung von Strohzellstoff wird das Stroh aller Getreidearten verarbeitet, und es wird hauptsächlich von der Lage einer Strohstofffabrik abhängen, ob sie mehr Roggenstroh, Weizenstroh oder andere Strohsorten verwendet. Am meisten dürfte bei uns wohl Roggenstroh zur Verarbeitung kommen.
Es soll hier auf die Beschreibung der geringen anatomischen Unterschiede, welche die einzelnen Stroharten im Bau der Oberhautzellen aufweisen, aus demselben Grunde wie bei dem Holzzellstoff nicht eingegangen werden; unser Urteil über ein Papier, das Strohzellstoff enthält, wird nicht wesentlich vollkommener, wenn wir erfahren, daß letzterer z. B. dem Weizenstroh entstammt.
Aus einem mikroskopischen Bilde von Strohfasern heben sich[S. 77] sofort die sehr charakteristisch geformten Oberhautzellen, dickwandige, mehr oder weniger verkieselte Zellen, deren Ränder wellenförmig gebogen sind, deutlich ab. Mit diesen wellenförmigen Ausrandungen schließen die Zellen dicht aneinander, und in dem Strohstoff findet man noch kleine Kolonien solcher innig miteinander verbundenen Zellen; im Strohzellstoff und aus diesem hergestellten Papier sind sie selten. Diese Oberhautzellen kommen in den mannigfachsten Größen vor; das Verhältnis von Länge zu Breite wechselt von 1⁄1 bis auf mehr als 10⁄1. Auch die Ausrandungen haben verschiedene Gestalt; bald hat man tiefe Einbuchtungen, bald nur schwache Wellenlinien. Wenn nun auch diese Oberhautzellen ein leichtes Erkennen des Strohzellstoffes ermöglichen, so bilden sie doch nur einen geringen Teil aller aus dem Stroh stammenden Zellen; unter diesen herrschen die Bastzellen bei weitem vor. Diese dünnen langgestreckten Fasern, welche von sehr regelmäßigem Bau sind, werden von einem nach dem Ende zu sich verjüngenden schmalen Hohlkanal durchzogen (Fig. 44). In ziemlich regelmäßigen Abständen zeigt die Wandung knotige Verdickungen. Diese Verstärkungen erstrecken sich oft auch nach dem Innern der Zelle, so daß das Lumen an diesen Stellen eng zusammengeschnürt erscheint.
Die Bastzellen weisen zahlreiche Poren auf, die als dunkele Linien von der Höhlung aus nach außen zu verlaufen.
Neben diesen beiden Arten von Zellen, den Oberhaut- und Bastzellen, findet sich beim Stroh eine große Anzahl sehr dünnwandiger Parenchymzellen (Fig. 45); diese sind an beiden Enden abgerundet; teilweise erscheinen sie fast kreisförmig, teilweise sehr langgestreckt, mehr oder weniger mit einfachen Poren versehen. Sie sind von Wichtigkeit für die Untersuchung, weil sie, wie wir später sehen werden, ein Mittel an die Hand geben, Strohzellstoff von Alfazellstoff zu unterscheiden.
In untergeordnetem Maße treten Gefäße auf.
Vielfach unverletzt trifft man Tüpfelgefäße an, dünnwandige, röhrenförmige Zellen, deren Wände von sehr zahlreichen rundlichen oder schlitzförmigen Poren durchsetzt sind (Fig. 46).
Spiralgefäße in unversehrtem Zustande (Fig. 47a) sind sehr selten; meist sind die Spiralen durch die Bearbeitung auseinandergezogen und finden sich als wurmartige Gebilde im Präparate (Fig. 47b). Dasselbe gilt von den Ringgefäßen; die Ringe sind meist aus den Gefäßen herausgetreten und zeigen sich dem Beobachter als solche (Fig. 47c). Zu erwähnen sind ferner noch die Sklerenchymelemente, sehr stark verdickte und verkieselte Zellen (Fig. 48).
Die zu den Gramineen gehörigen Ligaeum Spartum und Stipa tenacissima, zwei in Spanien und namentlich Nordafrika in großen Mengen vorkommende Pflanzen, liefern das Rohmaterial für den Alfa- oder Espartozellstoff, der dem Strohzellstoff sehr nahe steht, bei uns indessen nur in beschränktem Maße Verwendung findet. Der Bau der Zellen ist dem der Strohzellen sehr ähnlich, und es dürfte nicht immer möglich sein, zu entscheiden, ob z. B. eine im Papier vorgefundene Oberhautzelle von Stroh oder Esparto herrührt.
Im allgemeinen ist der Bau der Alfazellen zierlicher und Länge und Breite der Zellen sind kleiner als beim Stroh; jedoch ist es nicht immer möglich, hierauf eine sichere Unterscheidung zu gründen.
Die Bastzellen sind im Gegensatz zu denen des Strohes kurz und häufig in ihrer ganzen Länge im mikroskopischen Gesichtsfelde zu beobachten. Sie sind sehr regelmäßig gebaut und haben stark verdickte Zellwände, so daß der Hohlkanal oft nur als Linie erscheint. Unregelmäßigkeiten im Verlauf der Höhlung, wie wir sie beim Stroh kennen gelernt haben, sind beim Alfa nicht zu bemerken.
Von den Oberhautzellen läßt sich im wesentlichen nichts anderes sagen als von denen des Strohes. Von verschiedenen Seiten ist auf die angeblich verschiedenartig scharfe Ausrandung der Oberhautzellen eine Unterscheidung gegründet worden, die indessen kaum stichhaltig sein dürfte; hiernach sollen diese Zellen bei Alfa tiefer ausgerandet sein als beim Stroh. Die zahlreichen Untersuchungen, die in der Versuchsanstalt ausgeführt sind, haben jedoch gezeigt, daß auch Stroh sehr tief ausgerandete Oberhautzellen aufweist.
Die Zähnchen beim Alfastoff hingegen (Fig. 49) geben ein[S. 79] recht gutes Unterscheidungsmerkmal ab. Diese finden sich in Alfapapieren in ziemlicher Menge und in mannigfachster Form vor, bald kurz und gedrungen, bald lang und spitzig, oder hakenförmig umgebogen.
Große dünnwandige Parenchymzellen fehlen beim Alfastoff vollständig, und so liefern diese beiden Elemente ein Mittel, Stroh und Alfa zu unterscheiden.
Die auch beim Alfastoff vorkommenden Sklerenchymelemente sind ähnlich wie beim Stroh.
Zellstoff aus Jute, Manila und Adansonia.
Die Bastfasern dieser drei Pflanzenarten sind zum Teil einander so ähnlich, daß sie, namentlich in Gemischen, nicht immer mit Sicherheit voneinander unterschieden werden können.[35] Ein Umstand, der das Bestimmen der Faserart erschwert, ist die oft sehr verschiedenartige Färbung bei Behandlung mit mikrochemischen Reagentien. Diese Verschiedenartigkeit wird dadurch veranlaßt, daß die Fasern, welche im Rohzustande alle mehr oder weniger verholzt sind, im Hinblick auf ihre vorzugsweise Verwendung zu Pack- und Briefumschlagpapier, selten vollständig und gleichmäßig entholzt werden. Man findet daher oft alle Übergänge von verholzten bis zu völlig aufgeschlossenen Fasern vor.
Dies erschwert die Unterscheidung, und daher erscheint bei Abgabe eines Urteils über die Stoffzusammensetzung eines Papiers, welches die genannten Fasern enthält, besondere Vorsicht am Platze.
Für den anatomischen Bau der Jutefaser gilt natürlich im allgemeinen das Seite 71 Gesagte. Hinzuzufügen ist nur, inwieweit das mikroskopische Bild sich durch den Aufschließungsprozeß geändert hat.
In Bezug auf die Färbung der Fasern in den Jodlösungen wird auf Seite 66 verwiesen.
Die Bündel von Fasern treten bei aufgeschlossener Jute seltener auf; sie sind dann geschmeidiger als bei Fasern im Rohzustand und lösen sich an den Enden meist in Einzelfasern auf.
Die Einzelfaser ähnelt in ihrem Aussehen der Strohbastfaser, mit der sie auch in ihren Abmessungen sehr übereinstimmt.
Nach den Enden zu verjüngt sich die Faser meist ganz allmählich; die Enden selbst sind gewöhnlich abgerundet.
Außer den Zellen mit wechselndem Hohlkanal findet man, wenn auch seltener, solche mit gleichmäßig verlaufendem Lumen und gleichmäßiger Wandstärke; letztere ist oft so gering, daß die Zellwände zusammenklappen und die Faser ein baumwollähnliches Aussehen erhält.
In den Jodlösungen zeigen die Fasern Querstreifungen, die zum Teil von Porengängen herrühren.
Hierher gehören die Bastfasern verschiedener Musaceen, namentlich Musa textilis, M. sapientium, M. paradisiaca. Das über das Aussehen der Jutefaser im Papier Gesagte gilt zum großen Teil auch für die Manilafaser. Auch hier kommen Faserbündel vor, wenn auch nicht so zahlreich als bei der Jute. Zuweilen fehlen die Bündel auch völlig. Man beobachtet auch hier zweierlei Bastfasern, dickwandige mit unregelmäßigem und dünnwandige, baumwollartige mit gleichmäßig verlaufendem Hohlkanal. Indessen ist der Wechsel weniger ausgeprägt als bei der Jute.
Schlitzförmige Poren durchsetzen die Wand der Bastzellen häufig in schräger Stellung. Die Manilafasern zeigen im Gegensatz zu den Jutefasern meist protoplasmatischen Inhalt, der sich in den Jodlösungen gelb bis gelbbraun färbt. Die Enden der Fasern zeigen häufig bleistiftartige Zuspitzungen; die Spitze ist teils scharf, teils abgestumpft. Die Querstreifung der Faser ist bei Manila noch ausgeprägter, die Streifen sind hier zahlreicher und kräftiger. Sehr charakteristisch für Manila sind dickwandige Parenchymzellen mit meist schrägen Wänden, die häufig die Form eines Rhombus besitzen und in einem Papier, das größere Mengen Manila enthält, selten fehlen.
Die übrigen Elemente, welche noch ab und zu in Manilapapieren vorkommen, sind verhältnismäßig selten und kommen für das Erkennen wenig in Betracht. Es gehören hierher Spiralgefäße, sowie die von Höhnel erwähnten Stegmata.
Die Adansoniafaser stammt aus dem Bast des in Afrika heimischen Affenbrodbaumes (Adansonia digitata). Der Bast kommt in etwa 80 cm langen, 8–10 mm dicken und 40–50 mm breiten Stücken zu uns, ist von brauner Farbe und zeigt große Festigkeit. Die Faser ist kräftig gebaut, walzenförmig und wie schon erwähnt[S. 81] der Manila- und Jutefaser teilweise sehr ähnlich. Charakteristisch ist die häufig vorkommende Erscheinung, daß die Fasern in der Dicke Unregelmäßigkeiten zeigen und sich nach dem Ende zu plötzlich verjüngen. Bei der Verarbeitung lösen sich die äußersten Gewebeschichten vielfach ab, und die sehr fein zerfaserten Strähnchen umgeben die Zellen an manchen Stellen wie mit einem Schleier (Fig. 50). Diese Erscheinung tritt zwar auch bei anderen Fasern auf, aber nie in solchem Umfange wie bei Adansonia. Die Höhlung verläuft sehr verschieden; sie ist oft nur als dunkele Linie erkennbar, erweitert sich dann plötzlich und nimmt mehr als die Hälfte der Zellbreite ein. Die Enden sind meist abgerundet, seltener zugespitzt. Bündel von zusammenhängenden Fasern kommen kaum vor. Sehr häufig begegnet man Gruppen stark verkalkter paren[S. 82]chymatischer Zellen (Fig. 51) sowie dünnwandigen Parenchymzellen und Bruchstücken von netzartigen Gefäßen (Fig. 52).
Hauptunterscheidungsmerkmale für Jute-, Manila- und Adansoniafasern.
| Faserart | Färbung in | Hohlkanal | Enden | Poren | Neben- bestandteile | |||
| Jod-Jod- kalium- lösung | Chlor- zinkjod- lösung | |||||||
| Jute |   | verholzt | leuchtend gelbbraun oder braun | gelb oder grüngelb | in der Weite oft wechselnd | im allge- meinen abge- rundet | parallel zur Achse ge- stellte Schlitze | keine | 
| entholzt | grau, bisweilen braun | blau bis- weilen rot- violett | in der Weite oft wechselnd | im allge- meinen abge- rundet | parallel zur Achse ge- stellte Schlitze | keine | ||
| Manila | grau, braun, gelblich | blau, rot- violett und gelb, sowie Zwischen- farben | bei den dick- wandigen Fa- sern von wechselnder Breite, bei den dünnwandi- gen gleich- mäßig | oft blei- stiftartig zugespitzt | schräg oder parallel zur Achse ge- stellte Schlitze | Gruppen oder einzelne Pa- renchym- zellen mit ziemlich dicken schrä- gen Wänden | ||
| Adansonia | schmutzig grau und braun | blau bis rotviolett | die Weite ändert sich mit der Breite der Faser | meistens ab- gerundet | schräg oder parallel zur Achse ge- stellte Schlitze | verkalkte Pa- renchym- zellen und Gefäßbruch- stücke | ||
| Faserart | Färbung in | Hohlkanal | |||
| Jod-Jod- kalium- lösung | Chlor- zinkjod- lösung | ||||
| Jute |   | verholzt | leuchtend gelbbraun oder braun | gelb oder grüngelb | in der Weite oft wechselnd | 
| entholzt | grau, bisweilen braun | blau bis- weilen rot- violett | in der Weite oft wechselnd | ||
| Manila | grau, braun, gelblich | blau, rot- violett und gelb, sowie Zwischen- farben | bei den dick- wandigen Fa- sern von wechselnder Breite, bei den dünnwandi- gen gleich- mäßig | ||
| Adansonia | schmutzig grau und braun | blau bis rotviolett | die Weite ändert sich mit der Breite der Faser | ||
| Faserart | Enden | Poren | Neben- bestandteile | ||
| Jute |   | verholzt | im allge- meinen abge- rundet | parallel zur Achse ge- stellte Schlitze | keine | 
| entholzt | im allge- meinen abge- rundet | parallel zur Achse ge- stellte Schlitze | keine | ||
| Manila | oft blei- stiftartig zugespitzt | schräg oder parallel zur Achse ge- stellte Schlitze | Gruppen oder einzelne Pa- renchym- zellen mit ziemlich dicken schrä- gen Wänden | ||
| Adansonia | meistens ab- gerundet | schräg oder parallel zur Achse ge- stellte Schlitze | verkalkte Pa- renchym- zellen und Gefäßbruch- stücke | ||
Für die Erkennung und das Auseinanderhalten der drei zuletzt beschriebenen Faserarten bietet der Gesamteindruck, welchen das mikroskopische Bild, als Ganzes betrachtet, auf den Beobachter[S. 83] macht, oft einen Anhalt. Dieser durch die Gesamtwirkung von Streifung, Abmessung, Krümmung, Starrheit u. s. w. der Fasern auf das Auge hervorgerufene Eindruck läßt sich schwer beschreiben, dagegen geben ihn die photographischen Aufnahmen (Tafel II, VIII, IX) wieder. Der Beobachter muß sich durch eingehende Betrachtung mikroskopischer Bilder der genannten drei Fasern mit dem Gesamteindruck vertraut machen.
In vorstehender Tabelle[36] sind die ausgeprägtesten Merkmale der drei Faserarten zur besseren Übersicht nochmals gegenübergestellt.
[35] Vergl. Jute, Manila, Adansonia. Von G. Dalén und Dr. Wisbar. Mitt. aus den techn. Vers.-Anst. 1902.
[36] Entnommen aus der erwähnten Dalén-Wisbarschen Arbeit.
Die in der Papierfabrikation verwendeten Zellstoffe sind teils völlig entholzt, teils enthalten sie noch geringe Mengen der Holzsubstanz; es hängt dies ab von dem Aufschließungs- und Bleichprozeß, den sie durchgemacht haben. Gebleichte Stoffe sind meist frei von Holzsubstanz, ungebleichte oder halbgebleichte zeigen noch mehr oder weniger starke Verholzung. Die Färbung der Fasern in Jodlösung läßt oft schon erkennen, mit welchem Grade der Verholzung man es zu tun hat. Deutlicher noch läßt sich dies durch Behandlung mit gewissen Farbstoffen ermitteln.
Dr. Klemm beurteilt den Grad, bis zu welchem die Holzzellen in reine Zellstofffasern übergeführt worden sind, nach dem Farbton und der Stärke der Färbung mit Malachitgrün in essigsaurer Lösung. (Der Farbstoff wird in Wasser mit 2% Essigsäure bis zur Sättigung gelöst.)
Das Reagens ist für mikroskopische Präparate und, wenn Zellstoffe als solche vorliegen, auch makroskopisch anwendbar.
Je reiner ein Zellstoff ist, um so weniger färbt er sich. Die besten gebleichten Stoffe färben sich fast gar nicht, halbgebleichte himmelblau, ungebleichte stark grün.
In Verbindung mit Malachitgrün läßt sich nach Klemm durch einen zweiten Farbstoff herausfinden, ob Natron- oder Sulfitzellstoff vorliegt.
Dies geschieht durch eine gesättigte, mit 2% Alkohol versetzte Lösung von Rosanilinsulfat in Wasser, die mit Schwefelsäure versetzt wird, bis sie einen violetten Schimmer angenommen hat.
Die Zellstoffe färben sich wie folgt:
Die bei alleiniger Anwendung der Rosanilinlösung nicht mögliche Unterscheidung von gebleichtem Sulfit- und ungebleichtem Natronzellstoff läßt sich nach Klemm bewerkstelligen, wenn außerdem noch die Prüfung mit Malachitgrün vorgenommen wird. Färbt sich der Zellstoff mit Rosanilinsulfat rot, mit Malachitgrün deutlich grün, so hat man es mit ungebleichtem Natronzellstoff zu thun; färbt er sich mit Rosanilinsulfat wohl auch rot, mit Malachitgrün dagegen schwach blau oder gar nicht, so hat man auf gebleichten Sulfitzellstoff zu schließen.
Unter Zugrundelegung der von Behrens[37] für die Unterscheidung von Gewebefasern vorgeschlagenen Doppelfärbung mit Malachitgrün und Kongorot kann man die verschiedenen Reinheitsgrade der Zellstoffe vielleicht noch deutlicher unterscheiden.
Das zu prüfende Material wird durch Kochen mit verdünnter Natronlauge aufgeschlossen.
Der Faserbrei wird hierauf mit der 15–20fachen Menge einer etwa ½prozentigen Lösung von Malachitgrün in Wasser, die mit einigen Tropfen Essigsäure angesäuert ist, einige Minuten erwärmt, dann, nachdem er gut durchgeschüttelt worden ist, auf ein Sieb gebracht und ausgewaschen, bis das Waschwasser fast farblos abläuft. Schon nach dieser Vorbehandlung kann man sich oft ein Bild von dem Verholzungsgrad der Fasern machen. Sind sie stark verholzt, so erscheinen sie stark grün gefärbt; sind sie nicht oder wenig verholzt, so zeigen sie nur eine schwache grünliche Färbung.
Zur weiteren Beurteilung wird der mit Malachitgrün behandelte Stoff in ähnlicher Weise mit einer 15–20fachen Menge wässeriger, etwa ½prozentiger Kongorotlösung, zu der man einige Körnchen Soda fügt, gefärbt und ausgewaschen, bis das Waschwasser fast farblos abläuft.
Aus dem so behandelten Stoff werden geringe Mengen entnommen und in Wasser oder Wasser und Glycerin präpariert. Stark[S. 85] verholzte Fasern erscheinen dann im mikroskopischen Bilde stark grün gefärbt, weniger verholzte bläulichgrün bis hellgrün und unverholzte Fasern rot.
[37] H. Behrens, Mikrochemische Analyse. 1896. S. 52.
Mit dem Namen Baumwolle bezeichnet man die Samenhaare einiger Gossypium-Arten (G. indicum, G. barbadense, G. herbaceum u. s. w.). Diese Haare sind bis zu 5 cm lang, kegelförmig sich nach dem Ende zu verjüngend, einzellig und ohne Querwände. Die Enden sind stumpf bis rundlich, werden aber im Papier selten angetroffen. Die Zelle ist einem Schlauche ähnlich, dessen Höhlung etwa ⅔ des ganzen Durchmessers ausmacht. Trocknen diese Samenschläuche aus, so klappen die Wände, da sie wegen ihres schwachen Baues dem Luftdruck nicht widerstehen können, aufeinander, und die gleichzeitig auftretenden Spannungen der Wandung veranlassen eine spiralförmige Drehung der Zelle, eine Erscheinung, die zum leichten Erkennen der Baumwolle wesentlich beiträgt. Fig. 53 gibt ein Bild der rohen Baumwollfaser, an welchem diese Drehung sehr deutlich zu beobachten ist.
Bei den aus dem Papier stammenden Baumwollfasern oder Faserteilchen tritt diese Erscheinung seltener und weniger deutlich auf, da man es immer nur mit verhältnismäßig kurzen Enden zu tun hat.
Indessen ist die Baumwolle, wenn sie gut erhalten ist, auch ohne diese spiralförmigen Windungen mit keiner der noch folgenden Lumpenfasern zu verwechseln. Zunächst fehlen der Faser sowohl die dem Leinen und Hanf eigentümlichen Poren, feine Kanäle, die von der Zellhöhle aus durch die Wandung nach außen ver[S. 86]laufen, als auch die zahlreichen knotenartigen Auftreibungen. Ferner zeigt die Zellwand vielfach eine höchst charakteristische Streifung, die der ganzen Zelle eine gitterförmige Zeichnung aufprägt (Fig. 54). Allerdings kommen auch bei dem Nadelholzzellstoff derartig gitterförmig gezeichnete Zellen vor, indessen ist eine Verwechselung mit diesen schon infolge der verschiedenen Färbung ausgeschlossen.
Die eigentümliche Streifung in Verbindung mit dem weiten Hohlkanal der Zelle und das Fehlen von Poren und Knötchen, wie sie den folgenden beiden Faserarten eigentümlich sind, bilden demnach sichere Anhaltspunkte zur Erkennung der Baumwolle. Zudem hat sie von den Lumpenfasern den größten Durchmesser und erscheint durch die Jodlösung meist etwas dunkeler gefärbt als die Leinen- und Hanffaser.
Es kommt zuweilen vor, daß durch Drehen oder Zusammendrücken der Faser der Hohlkanal so eng wird, daß er nur als dunkele Linie erscheint (Fig. 55); man hüte sich davor, in solchen Fällen die Faser mit der Leinenfaser zu verwechseln.
Die Bastzellen der Flachspflanze (Linum usitatissimum) sind etwa halb so dick wie die Haare der Baumwolle, sehr regelmäßig gebaut und spitz auslaufend. Im Papier allerdings wird man die natürlichen Enden der Faser sehr selten beobachten, da diese durch den Fabrikationsprozeß meist stark beschädigt werden (Fig. 56).
Charakteristisch für die Leinenfasern sind die sich oft in sehr kurzen Entfernungen wiederholenden Verschiebungen der Wand, welche bei der Verarbeitung der Faser Anlaß zu Knotenbildungen[S. 87] geben. Bei sehr starker Verdickung werden diese Knoten durch den Fabrikationsprozeß häufig breitgepreßt, eine Erscheinung, die in manchen Fällen bis zum vollständigen Bruch der Fasern an der verdickten Stelle führen kann.
Neben diesen Knoten ist der enge Hohlkanal der Zelle für deren Erkennung von Wichtigkeit. Da die Wände sehr stark sind, so ist das Lumen meist nur als dunkele Linie zu beobachten. Dabei sind Zellen, bei denen man diesen Hohlkanal von Anfang bis zu Ende verfolgen könnte, nicht sehr häufig. Bei vielen, namentlich den schwächeren Fasern, sieht man mit der früher angegebenen Vergrößerung das Lumen überhaupt nicht; bei anderen erscheint es auf einer kurzen Strecke, wird dann so eng, daß es dem Beobachter entschwindet, und kommt eine kurze Strecke weiter mit großer Deutlichkeit wieder zum Vorschein.
Zugleich ist die Wand der Zelle von zahlreichen Poren durchsetzt, die von dem Inneren aus nach dem Rande zu verlaufen und als dunkele Linien erscheinen (Fig. 57).
Die Enden der Fasern sind oft sehr fein und lang ausgefasert (Fig. 56), eine Eigentümlichkeit, die aber nicht nur, wie oft angegeben wird, dem Flachs allein eigen ist, sondern auch bei Baumwolle vorkommen kann.
Der anatomische Bau der Hanffaser ist dem des Flachses ungemein ähnlich, und nur im rohen Zustande oder in groben Garnen kann man die beiden Fasern, namentlich durch die Quellungserscheinungen in Kupferoxydammoniak und die Bruchstücke der Oberhaut, mit Sicherheit voneinander unterscheiden. Im Papier ist die Unterscheidung nicht mehr möglich; die Quellungserscheinungen lassen im Stich, und Oberhautstücke sind im Papier nicht mehr vorhanden.
Es treten bei Hanf dieselben knotenartigen Auftreibungen auf wie bei Flachs, dieselben zerquetschten Knoten und dieselben ausgefaserten Enden.
Es bleibt daher, wenn man bei einem Papier von Leinenfasern spricht, die Frage offen, ob es sich nur um Leinen oder Hanf oder um ein Gemenge beider handelt. Praktisch ist diese Lücke ohne Bedeutung, da die beiden Fasern an sich als gleichwertig für die Beurteilung des Papiers anzusehen sind.
Zur Unterscheidung von Leinen und Baumwolle empfiehlt Wiesner[38] die Behandlung der Fasern mit einer Mischung von[S. 88] verdünnter Chromsäure und Schwefelsäure. Nach kurzer Einwirkungsdauer führt leichter Druck auf das Deckglas zu einem Zerfall der Fasern. Leinen zerfällt in kurze, quer abgetrennte Teile („wie wenn man einen Baumstamm durch die Säge in Klötze zerlegt hätte“), Baumwolle in zahllose kleine Splitter.
Wollene Lumpen oder Abfälle werden in der Papierfabrikation nur zur Herstellung einiger Sondererzeugnisse wie Kalanderwalzenpapier, Schrenzpapier, geringere Sorten Löschpapier, Dachpappe u. a. verarbeitet. Auch zum Melieren finden geringe Mengen gefärbter Wollfasern Anwendung.
Die Gegenwart von Wolle in einem Papier verrät sich meist schon durch das Äußere, insbesondere durch die rauhe Oberfläche. Solche Papiere dürfen, wie schon Seite 65 erwähnt, nicht mit Natronlauge aufgekocht werden, weil diese die Wolle löst; man kocht in solchen Fällen nur mit Wasser.
Das Erkennen der Wolle unter dem Mikroskop bietet keine Schwierigkeiten; sie weicht in ihrem Bau so sehr von den bisher besprochenen Fasern ab, daß Verwechselungen ausgeschlossen sind. Besonders ins Auge fällt die schuppenförmige Zeichnung der Fasern, hervorgerufen durch die nebeneinander oder dachziegelförmig übereinander liegenden Hornschuppen; allerdings werden diese Schuppen bei der Bearbeitung der Lumpen mehr oder weniger entfernt, sie können streckenweise sogar ganz fehlen.
In der Jod-Jodkaliumlösung erscheint die Wolle leuchtend gelbbraun, wenn sie ungefärbt in das Papier gelangt ist. War sie ursprünglich gefärbt, so zeigt sich diese Farbe auch im mikroskopischen Bilde.
Sind, wie meist bei den angeführten Sondererzeugnissen, größere Mengen Wolle vorhanden, so kann man deren Menge annähernd durch Kochen mit etwa 5prozentiger Natronlauge bestimmen. Die Wolle geht hierbei in Lösung. Zu berücksichtigen sind hierbei etwa vorhandene Extraktivstoffe sowie etwaige Verluste an Füllstoffen beim Auskochen.
Außer den vorgeschilderten Fasern, die in der Papierfabrikation vorzugsweise zur Verwendung gelangen, sei noch kurz auf einige seltener vorkommende ausländische Faserstoffe hingewiesen. Teils finden Papiere aus solchen bei uns vielfach Verwendung (z. B. japanische Papiere), teils gelangen derartige Fasern bei Ver[S. 89]arbeitung von altem Papier, Abfällen u. s. w. in unsere Papiere. In erster Linie sind hier die Fasern japanischen Ursprungs zu erwähnen.
Als wichtigstes Rohmaterial zur Herstellung von Papieren dient den Japanern der Bast der drei Pflanzen
Wenn man daher von Fasern japanischen Ursprungs spricht, sind in den meisten Fällen diese drei Arten gemeint, welche in China und Japan in bedeutender Menge gebaut werden und in ihrem Bast feine, geschmeidige Fasern von großer Länge und Festigkeit besitzen.
Im mikroskopischen Bilde zeigen die Fasern teils Ähnlichkeit mit Strohbastfasern und Leinen, teils mit Baumwolle. In Jod-Jodkaliumlösung färben sie sich schwach gelblich bis braun, in Chlorzinkjodlösung blau und bläulich-rot.
Eine eingehende Schilderung dieser Fasern unter Beigabe von Abbildungen ist in den „Mitteilungen aus den technischen Versuchsanstalten“ 1888, Sonderheft IV, veröffentlicht.
Hier näher darauf einzugehen, erscheint im Hinblick auf das verhältnismäßig seltene Vorkommen der Fasern und auf den Zweck des vorliegenden Werkes nicht am Platze.
Als weitere Rohstoffe, die in den Ländern ihrer Erzeugung zur Anfertigung von Papier dienen, wären vielleicht zu erwähnen das Bambusrohr, verschiedene Schilfrohrsorten[39], mannigfache Gräser, Zuckerrohrrückstände u. a. m., deren mikroskopische Merkmale als Papierfaser zum Teil noch wenig erforscht sind.
Es ist gewiß der berechtigte Wunsch eines jeden Mikroskopikers, bei der Untersuchung gute Vergleichsproben reinen Materials zur Hand zu haben, um diese zum Vergleich benutzen zu können. Namentlich für denjenigen sind solche von Wert, der nicht dauernd mit dem Mikroskop arbeitet, dem infolgedessen einmal gewonnene Bilder bald wieder aus dem Gedächtnis entschwinden und der so geradezu gezwungen ist, aus dem Vergleich mit bekannten Objekten seine Schlüsse zu ziehen.
Leider sind bis jetzt für die mikroskopische Papierprüfung derartige Präparate, die für eine Vergleichung wirklich wertvoll[S. 90] wären, nicht geschaffen worden, und es ist fraglich, ob sie überhaupt in zufriedenstellender Weise geschaffen werden können. Die Gelatine oder andere ähnliche Einbettmassen, welche zum Präparieren der Fasern dienen, nehmen den durch die Jodlösung gefärbten Fasern diese Färbung und damit dem Beobachter einen Anhalt für ihre Unterscheidung, so daß es ratsam sein dürfte, solche Präparate, die leicht zu Irrtümern Anlaß geben können, zu vermeiden. Dauerpräparate dieser Art, die für die Papierprüfung mit Unrecht warm empfohlen werden, haben außerdem noch oft den Nachteil, daß die Fasern nicht aus Papier, sondern aus dem unverarbeiteten Rohmaterial entnommen sind. Daß aber die Fasern vor der Einwirkung der mechanischen Zerstörungsprozesse ein anderes Bild abgeben als nachher, braucht nach dem Vorgesagten wohl nicht erst erwähnt zu werden.
Um nun die besprochene Lücke einigermaßen auszufüllen, verfahre man in folgender Weise: Man koche eine geringe Menge verbürgt reinen Leinen-, Baumwoll- u. s. w. Papiers in der oben näher angegebenen Weise mit Natronlauge zu einem Brei. Diesen bringe man in eine gut verschließbare Flasche und übergieße ihn mit Alkohol; er ist dann gegen Fäulnis geschützt und unbegrenzt haltbar. Eine Sammlung derartig vorbereiteter Papierfasern ist ein für den weniger Geübten nicht zu entbehrendes Hilfsmittel für die Untersuchung, und selbst der mit dem Bau der Fasern hinlänglich Vertraute wird in schwierigen Fällen gern seine Zuflucht zu ihnen nehmen. Sie sollten daher auch stets den für Papierprüfung zusammengestellten Mikroskopen beigegeben werden.[40]
Allerdings ist nicht zu verkennen, daß es sehr große Schwierigkeiten macht, Papiere zu erhalten, die wirklich nur aus einem einzigen Rohstoff bestehen; meist finden sich auch bei der sorgfältigsten Auswahl der Rohstoffe und der saubersten Verarbeitung geringe Beimengungen anderer Stoffe, die den Beobachter leicht irreführen können. Besonders aber hüte man sich, aus der handelsüblichen Bezeichnung eines Papiers einen Schluß auf die zur Herstellung verwendeten Fasern zu ziehen und etwa zu glauben, daß Hanfpapier aus Hanf, Leinenpost aus Leinen, Manilapapier aus Manilahanf u. s. w. bestehen müsse. Derartige Bezeichnungen stehen zu dem Papierrohstoff in gar keiner Beziehung und verdanken lediglich dem geschäftlichen Verkehr ihre Entstehung.
[38] Wiesner, Die mikroskopische Untersuchung des Papiers. Wien 1887.
[39] Vergl. Ein neuer Rohstoff für die Papierindustrie (Arundo Donax, Italienisches Pfahlrohr). Mitt. 1895. S. 24.
[40] Die Firma Schopper-Leipzig bringt derartige Proben in Breiform in den Handel. Die Proben sind in der Versuchsanstalt geprüft und die Flaschen mit dem Siegel der Anstalt verschlossen.
Es ist bekannt, daß eine Reihe von Fasern, unter den Lumpen besonders die Leinenfasern, je länger sie im Holländer gemahlen werden, um so mehr in feine Fibrillen zerfallen, so daß es unter Umständen nicht mehr möglich ist, mit Sicherheit festzustellen, welchen Rohstoffen die feinsten Teilchen entstammen. Diese weitgehende Mahlung wird vorzugsweise bei festen Schreibpapieren, bei Zigarettenpapieren u. s. w. ausgeübt. Man bezeichnet den so erhaltenen Stoff als „schmierig“. Bei anderen Arten von Papier, z. B. bei Löschpapieren, will man schmierigen Stoff soviel wie möglich vermeiden, und man mahlt daher so, daß die Fasern möglichst nur verkürzt, nicht aber ausgefasert werden, d. h. mit scharfen Messern und bei dünn eingetragenem Stoff; den so erhaltenen Stoff bezeichnet man als „rösch“.
Diese verschiedenen Mahlungsarten geben naturgemäß den Fasern im mikroskopischen Bilde ein ganz verschiedenartiges Aussehen. Einige Beispiele hierfür sind in Tafel XV wiedergegeben, nämlich:
Die Aufnahmen erfolgten bei einer 25fachen Vergrößerung.
Wenn man den Zustand der Fasern von dem Papier Nr. 1 bis zu dem Nr. 10 verfolgt, so wird man die großen Unterschiede, welche sich darbieten, nicht verkennen können. Beim Papier Nr. 1 sind die Fasern derartig vermahlen, daß man kaum noch einzelne gut erhaltene Faserbruchstücke auffinden kann. Von Papier Nr. 2 gilt fast dasselbe, jedoch finden sich hier schon mehrere noch bis zu einem gewissen Grade unversehrte Fasern. Verfolgt man die Papiere weiter, so wird man im großen und ganzen eine Abnahme feinster Fibrillen und eine Zunahme besser erhaltener Fasern beobachten können, bis zu dem Papier Nr. 9 und Nr. 10, welche nur noch in äußerst geringem Grade Zerstörungserscheinungen der Fasern zeigen. Den Zustand der Fasern in jedem einzelnen Fall zu beschreiben, ist außerordentlich schwer; das Bild wirkt in diesem Falle besser und ist genügend aufklärend. Wenn daher von dem Untersuchenden verlangt wird, er soll den Mahlungs[S. 92]zustand der im Papier enthaltenen Fasern angeben, so dürfte sein Urteil erheblich an Wert gewinnen, wenn der Erklärung eine mikrophotographische Aufnahme der Fasern beigegeben würde.
Vielleicht könnte man auch durch zahlreiche Aufnahmen Gruppen von Mahlungszuständen schaffen, gewissermaßen Normalzustände, welche in geeigneter Weise den Interessenten zugänglich zu machen wären. Man könnte dann bei Untersuchung von Papier hinsichtlich des Faserzustandes auf diese Normalien hinweisen und brauchte so nicht jedesmal dem Untersuchungsbefund eine photographische Abbildung beizufügen. Aus den hier vorliegenden Beispielen könnte man vielleicht folgende Zusammenstellung schaffen (S. 93).
| Papier Nr. | Art des Papiers | Stoff- zusammensetzung | Mittlere | Widerstand gegen Zerknittern | |
| Reiß- länge m | Deh- nung % | ||||
|  2 | Holländisches Banknotenpapier | Wegen starker Zer- mahlung nicht mit Sicherheit zu er- mitteln; wahr- scheinlich Leinen | 7275 | 11,1 | außerordentlich groß | 
|  3 | Normal
      1[41] | Leinen, Zusatz Baumwolle; ein Teil der Fasern stark zermahlen | 6215 |  4,7 | sehr groß | 
|  4 | Dokumentenpapier aus ungebleichten Lumpen | Leinen, geringe Mengen Baumwolle | 8425 |  5,6 | außerordentlich groß | 
|  5 | Normal
      1[41] | Leinen, Baumwolle | 6050 |  4,2 | sehr groß | 
|  6 | Normal
      1[41] | Baumwolle, geringe Mengen Leinen | 6825 |  7,2 | außerordentlich groß | 
|  7 | Photographiepapier | Leinen, sehr geringe Mengen Baumwolle | 2600 |  3,8 | gering | 
|  8 | Photographiepapier | Leinen, sehr geringe Mengen Baumwolle | 4350 |  4,5 | gering | 
| 10 | Packpapier | Manilahanf | 6750 |  4,5 | außerordentlich groß | 
| Gruppe | I.  | Nr.  | 1–3; | 
| „ | II.  | „  | 4, 5 und 6; | 
| „ | III.  | „  | 7 und 8; | 
| „ | IV.  | „  | 9 und 10. | 
Kommt nun ein Papier auf den Zustand der Faser zur Untersuchung, so könnte man einfach auf Grund des mikroskopischen Bildes unter Hinweis auf die geschaffenen Normalgruppen erklären, daß das Papier sich im Mahlungszustand beispielsweise der Gruppe II nähert. Solche Angaben würden für den Fabrikanten in vielen Fällen von Wert sein.
Mit acht der abgebildeten zehn Papiere sind Festigkeitsversuche ausgeführt worden, und es wird interessant sein, die hierbei ermittelten Werte kennen zu lernen (vergl. S. 92).
[41] Die drei Normalpapiere 1 rühren aus drei verschiedenen Fabriken her.
Man ist hierbei, abgesehen von den verholzten Fasern (vergl. S. 100), z. Z. ausschließlich auf das mikroskopische Bild angewiesen; irgendwelche analytische Verfahren zur Trennung der Fasern sind nicht bekannt. Deshalb sind die Angaben über die prozentische Faserzusammensetzung eines Papiers immer nur als annähernd zutreffend anzusehen. Die Ermittelung kann aber doch so weit sicher gestaltet werden, daß sie einen praktischen Wert erhält.
Ein Bruchteil der Fasern ist bei den meisten Papieren infolge mechanischer Einwirkungen während des Fabrikationsprozesses und infolge von Ähnlichkeiten im anatomischen Bau überhaupt unbestimmbar, wenigstens soweit es sich um Lumpen handelt. Diese werden auf dem Wege durch die Papierfabrik von den Messern der Holländer, den Walzen u. s. w. oft bis zur Unkenntlichkeit entstellt. Der Bruchteil der auf diese Weise unkenntlich gemachten Fasern wird demnach abhängen von der Art der Bearbeitung des Rohmaterials; er wird größer sein bei Papieren, welche sehr lange gemahlen sind, und geringer bei Papieren, bei denen dies nicht der Fall war.
Wesentlich günstiger liegen die Verhältnisse bei den Zellstoffen. Die Art ihrer Herstellung bringt es mit sich, daß bei diesen die einzelnen Zellen weniger verändert werden als bei den Lumpen, und da sie auch bei der Verarbeitung zu Papier meist nur einer kurzen mechanischen Behandlung unterliegen, so finden sie sich im allgemeinen weniger verletzt im Papier vor. Da sie außerdem selten Neigung zeigen, sich wie die Lumpen, insbesondere die Leinenfasern, der Länge nach in dünne Lamellen zu[S. 94] zerfasern, sondern bei einer etwaigen Zertrümmerung meist in Querstücke zerfallen, so kann man auch den Ursprung der Bruchstücke besser feststellen als bei Lumpen.
Die Verhältnisse für die Mengenbestimmung von Fasern im Papier an der Hand des mikroskopischen Bildes liegen also bei Lumpenfasern ungünstiger als bei den Zellstoffen. Es wird erheblich schwerer sein, bei einem Lumpenpapier den annähernden Gehalt an Leinen- und Baumwollfasern festzustellen, als bei einem anderen Papier zu entscheiden, wie viel Lumpen- und Zellstofffasern es enthält.
Die Verwertung des mikroskopischen Bildes zur Ermittelung der ungefähren Mengenverhältnisse der einzelnen Fasersorten kann nun auf zweierlei Weise geschehen; entweder zählt man die Fasern jeder Gattung unter Beobachtung gewisser noch zu besprechender Punkte zusammen und vergleicht die so gewonnenen Zahlen oder man vergleicht das Präparat mit anderen von bekannter Stoffmischung lediglich nach dem Augenschein.
Mit dem Auszählen eines einzigen Bildes ist natürlich nichts getan; es ist nötig, daß eine große Anzahl von Gesichtsfeldern abgesucht wird, da man nur dann ein annähernd richtiges Durchschnittsergebnis erwarten darf. Wenn auch die Stoffmischung infolge der Vorbereitung als sehr vollkommen angesehen werden kann, so kommt es doch vielfach vor, daß beispielsweise bei einem aus gleichen Teilen Leinen und Zellstoff bestehenden Papier in einem Bilde vorwiegend Leinen-, in einem anderen vorwiegend Zellstofffasern gefunden werden. Diese Schwankungen werden dann bei Benutzung einer großen Anzahl von Bildern wieder ausgeglichen.
Beim Auszählen der Gesichtsfelder ist es zweckmäßig, den Halbmesser beziehungsweise Durchmesser des Gesichtsfeldes als Längeneinheit zu Grunde zu legen, denn einer solchen bedarf es bei der großen Verschiedenheit in den Längen der einzelnen Faserstücke. Die in einem Bilde vorhandenen Bruchstücke von Fasern, welche kürzer als die gewählte Einheit sind, müssen als Bruchteile derselben geschätzt und dann verrechnet werden.
Die durch das Auszählen gewonnenen Zahlen — nehmen wir an, es seien Durchschnittswerte aus 50 Zählungen — können zur prozentualen Berechnung der Fasern ohne weiteres nur dann verwendet werden, wenn die Annahme gerechtfertigt ist, daß gleiche Faserlängen der in Betracht kommenden Stoffe auch gleich schwer sind. Wenn diese Voraussetzung beispielsweise bei Leinen und Baumwolle zuträfe, so bestände ein aus diesen Stoffen gefertigtes Papier, wenn in dem Gesichtsfelde im Durchschnitt gefunden worden sind
ohne Berücksichtigung der unbestimmbaren Fasern und der Füllstoffe ungefähr aus
Daß diese Voraussetzung aber nicht für alle Fasern zutreffen wird, zeigt sich an dem anatomischen Bau der Fasern. Ein Beispiel soll dies noch näher erläutern.
Ein Ganzstoff wurde aus genau 50% leinenen Fasern und 50% Holzzellstoff erzeugt, und es wurden in 100 verschiedenen Gesichtsfeldern die einzelnen Fasern gezählt; im Mittel wurden gefunden 43,7% Längen Leinenfasern und 56,3% Längen Holzzellstoff.
Um auf die wahren Verhältnisse zu kommen, müßte man daher die gefundenen Werte noch mit Koeffizienten multiplizieren, deren Größe für die einzelnen Faserarten durch Auszählen einer großen Reihe von Stoffmischungen zwar bestimmt werden könnte, die aber immerhin von geringem praktischem Wert bleiben würden, weil die Methode allzu umständlich werden würde und trotzdem noch erhebliche Unsicherheiten bestehen blieben. Insbesondere ist für das Auszählen der Präparate ein außerordentlich großer Zeitaufwand erforderlich.
Bei einem Gehalt des Papiers an Strohzellstoff kommt ferner hinzu, daß es noch schwerer als im angeführten Beispiel, wenn nicht gar unmöglich ist, die mannigfachen, so verschieden gestalteten Fasern des Strohes (Oberhautzellen, Parenchymzellen, Gefäße, Sklerenchymzellen u. s. w.) auf eine Längeneinheit zu bringen.
Diese Erwägungen lassen es zweckmäßig erscheinen, auf eine Auszählung der Fasern des Bildes zu verzichten und den Versuch der Mengenbestimmung der einzelnen Fasersorten auf dem zweiten der oben angegebenen Wege, nämlich dem der Schätzung, zu unternehmen.
Man muß sich hierbei zunächst klar darüber sein, worauf man die zu machenden prozentischen Angaben beziehen will, ob auf das Papier als solches, d. h. unter Berücksichtigung der etwa vorhandenen Füllstoffe, oder nur auf das vorhandene Fasermaterial. Die nachfolgenden Angaben beziehen sich nur auf den letzteren Fall.
Um dem Auge in der Abschätzung des mikroskopischen Bildes Übung zu verschaffen, ist es erforderlich, zunächst mit Stoffen bekannter Zusammensetzung zu arbeiten; da man auch später Ver[S. 96]gleichsmischungen stets zur Hand haben muß, um in Zweifelsfällen einen sicheren Anhalt zu haben, so ist es zweckmäßig, diese Mischungen ein für allemal anzufertigen und dauernd aufzubewahren; es handelt sich hierbei nicht um fertige Dauerpräparate gewöhnlicher Art, sondern um Stoffmischungen, welche, wie schon Seite 90 erwähnt, in Flaschen unter Alkohol aufbewahrt und von welchen in jedem einzelnen Bedarfsfalle frische Präparate angefertigt werden.
Man schätzt zunächst bei schwacher Vergrößerung die Gruppen ab und dann bei stärkerer die einzelnen Faserarten.
Dadurch, daß infolge der Färbung mit den Jodlösungen die Fasern gruppenweise auseinander gehalten werden, wird dem Auge das Schätzen wesentlich erleichtert, und die Erfahrung hat gezeigt, daß bei gehöriger Übung seitens des Untersuchenden die auf diese Weise gefundenen Werte den wirklichen Verhältnissen annähernd entsprechen.
Von großem Wert ist es natürlich, wenn die Schätzungen von mehreren Beobachtern vorgenommen und aus den geschätzten Prozentsätzen die Mittel gebildet werden.
Bei der Besprechung der mikroskopischen Prüfung wurde darauf hingewiesen, mit Hilfe welcher Merkmale man den Holzschliff durch das Mikroskop nachweisen kann. Einfacher als dort angegeben gestaltet sich der Nachweis, wenn es sich nur darum handelt, das Vorhandensein von verholzten Fasern überhaupt festzustellen. Wir besitzen eine große Anzahl chemischer Verbindungen, die mit denjenigen Bestandteilen des Holzes, die man kurzweg als Holzsubstanz bezeichnet, mehr oder minder starke, leicht und schnell zu erzeugende Färbungen geben.
Da die verholzten Fasern und insbesondere der Holzschliff als Feinde jedes für lange Aufbewahrung bestimmten Papiers betrachtet werden müssen, so ist es von besonderer Wichtigkeit, Mittel zu besitzen, die schnell und leicht Aufschluß über das Vorhandensein dieser Fasern geben.
Von den Reagentien, die zum Nachweis verholzter Fasern empfohlen werden, sollen hier nur einige besprochen werden, mit Hilfe deren der Nachweis am schärfsten gelingt und welche daher auch am häufigsten angewendet werden, nämlich:
Man löst etwa 5 g schwefelsaures Anilin in 50 g destilliertem Wasser; das Salz löst sich bei einigem Umschütteln ziemlich leicht und man erhält eine klare, farblose Flüssigkeit, welche jedoch nicht[S. 98] lichtbeständig ist, sondern sich ziemlich leicht zersetzt, wobei sie eine violette Färbung annimmt; trotzdem reagiert sie auch während der Zersetzung noch auf Holzschliff. Die Färbung, welche die Lösung von Anilinsulfat auf holzschliffhaltigem Papier hervorbringt, ist eine sehr schön hellgelbe.
Diese von Wiesner[43] entdeckte Reaktion für verholzte Zellen ist wohl die empfindlichste von allen und zugleich die farbenprächtigste. Zur Herstellung der Lösung verfährt man in folgender Weise: Man löst 1 g Phloroglucin in 50 ccm Alkohol und fügt etwa 25 ccm konzentrierte Salzsäure hinzu; es entsteht eine schwach gelb gefärbte Flüssigkeit, welche sich allmählich durch den Einfluß der Luft und des Lichtes zersetzt; man tut daher gut, sich nie größere Mengen herzustellen, da eine frisch bereitete Lösung schneller und schärfer wirkt als eine schon in Zersetzung übergegangene.
Die Färbung, welche diese Lösung auf holzhaltigem Papier hervorbringt, ist sehr schön rot, und aus diesem Grunde ist die Phloroglucinlösung der oben besprochenen vorzuziehen, weil diese beispielsweise bei gelben Papieren keine so deutliche Reaktion veranlaßt als jene.
Man lasse bei der Untersuchung auf verholzte Fasern mittels Phloroglucin nicht außer acht, daß es gewisse Farbstoffe gibt, welche sich, wie das in der Papierfabrikation vielfach verwendete Metanilgelb, unter dem Einfluß freier Säuren ebenfalls rot färben und daher möglicherweise zu der Annahme führen könnten, man hätte es mit verholzten Fasern zu tun.
Die Art und Weise des Auftretens der Reaktion ist aber anders als beim Holzschliff. Bringt man Phloroglucin auf holzschliffhaltiges Papier, so entsteht ganz allmählich eine an Tiefe zunehmende Rotfärbung, wobei einzelne dickere Fasern besonders hervortreten und durch ihre dunklere Färbung auffallen. Ist indessen kein Holzschliff, sondern nur Metanilgelb vorhanden, so entsteht der Fleck ziemlich plötzlich; das Papier erscheint ganz gleichmäßig gefärbt und es sind keine einzelnen Fasern durch besonders hervortretende Färbung sichtbar; der Fleck verblaßt in wenigen Minuten und umgibt sich mit einem violetten Hof, während Holzschliffflecken erst nach längerer Zeit und ganz allmählich verblassen und sich hierbei nicht mit einem Hof umgeben. Sollten trotzdem noch Zweifel auftauchen,[S. 99] so befeuchte man das zu untersuchende Papier mit verdünnter Salzsäure allein; entsteht auch jetzt die Rotfärbung, so ist ein Farbstoff vorhanden, entsteht sie nicht, so handelt es sich um Holzschliff.
Das Reagens gelangt entweder in Lösung oder in Form von Filtrierpapier, das mit der Lösung getränkt ist, zur Anwendung; der Kürze wegen bezeichnet der Entdecker die Mittel mit Di-Lösung und Di-Papier.
Bei Anwendung der Lösung bringt man diese durch Auftropfen oder mit Hilfe eines Pinsels auf das zu untersuchende Papier. Bei Gegenwart von verholzten Fasern entsteht nach einiger Zeit ein orangeroter Fleck. Dieser Fleck wird mit Wasser befeuchtet und erscheint dann karmoisinrot.
Verwendet man statt der Lösung das Papier, so benetzt man es vor dem Versuch mit einigen Tropfen Wasser, faltet es einmal zusammen und bringt es unter Druck zwischen das zusammengelegte zu prüfende Papier. Ist letzteres unter dem Reagenspapier durchfeuchtet, so wird diese Stelle mit Wasser benetzt, und es entsteht dann ebenfalls eine karmoisinrote Färbung.
Lösung und Papier sind von der chemischen Fabrik von Dr. Theodor Schuchardt in Görlitz zu beziehen.
Hat man mit Hilfe einer der geschilderten Reaktionen verholzte Fasern nachgewiesen, so kann die weitere Frage, welcher Art die Fasern sind, ob es sich insbesondere um Holzschliff handelt, nur durch eine mikroskopische Untersuchung beantwortet werden.
In Frage kommen von anderen verholzten Fasern hauptsächlich nicht völlig aufgeschlossener Zellstoff, ungebleichte Jute und Adansonia, deren Erkennen auf Grund der Angaben Seite 71 u. 80 ermöglicht wird.
Über die Unterscheidung von Holzschliff und nicht völlig aufgeschlossenem Holzzellstoff sei noch folgendes bemerkt.
Holzschliff zeigt infolge des Schleifprozesses nur Bruchstücke von Zellen oder Zellgruppen. Besonders ins Auge fallen die Holzzellen mit Tüpfeln und die gitterförmigen Markstrahlzellen. Natürliche Enden sind nicht oder nur selten zu beobachten.
Holzzellstoff zeigt infolge des Aufschließens auf chemischem Wege einzelne Zellen und Bruchstücke solcher; natürliche Enden[S. 100] der Faser sind in großer Anzahl vorhanden. Die gitterförmigen Markstrahlzellen fehlen in den meisten Fällen.
Hiermit sind genug Anhaltspunkte gegeben, um Holzschliff und nicht völlig aufgeschlossenen Holzzellstoff voneinander zu unterscheiden.
[42] In Müllers Abhandlung „Die Bestimmung des Holzschliffes im Papier“ findet sich Seite 10 eine ausführlichere Zusammenstellung von Holzschliffreagentien, die aufzuzählen hier zu weit führen würde.
[43] Dingler, Polytechnisches Journal 1878, S. 397.
[44] Dr. C. Wurster, Die neuen Reagentien auf Holzschliff und verholzte Pflanzenteile. 1900.
Bekanntlich fehlt es zur Zeit noch an Verfahren, den Holzschliff eines Papiers in wägbarer Form abzuscheiden und so seine genaue quantitative Feststellung zu ermöglichen; ob dies jemals gelingen wird, erscheint zweifelhaft und dürfte auch im allgemeinen nicht von großer Bedeutung sein. Wenn für eine Papiersorte überhaupt Holzschliff zugelassen ist, wird es sicher in den meisten Fällen ohne ernste Bedeutung sein, ob 5% mehr oder weniger vorhanden sind. Nur in Streitfällen wäre ein genaues Bestimmungsverfahren von Wert.
Die bis jetzt zur Bestimmung der Holzschliffmenge eines Papiers gemachten Vorschläge sind zweierlei Art; einmal soll der Gehalt auf kolorimetrischem Wege und im zweiten Falle durch ein analytisches Verfahren ermittelt werden.
Gädicke[45] stellt sich durch Vermischen von Holzschliff und schwedischem Filtrierpapier in verschiedenen Verhältnissen Papiere von 10, 20, 30, 40, 50 u. s. w. % Holzschliffgehalt her, die er durch schwefelsaures Anilin gelb färbt. Die verschiedenen Farbtöne, welche je einen Holzschliffgehalt darstellen, werden als Deckfarbe aus geeigneten Farbstoffen gemischt und auf Papier aufgetragen; auf diese Weise entsteht eine Tabelle, aus welcher man die Menge des im Papier enthaltenen Holzschliffes annähernd entnehmen kann, sobald man es mit Anilinsulfat gefärbt hat; vorausgesetzt wird hierbei natürlich, daß stets mit Lösungen von gleicher Konzentration gearbeitet wird.
Dr. Wurster[46] verwendet das bereits erwähnte Di-Papier. Dieses Di-Papier wird mit 1–2 Tropfen Wasser befeuchtet und, in der Mitte zusammengelegt, zwischen das zu prüfende Papier gebracht. Ist letzteres unter dem Reagenspapier durchfeuchtet, so wird diese Stelle mit viel Wasser benetzt. Enthält das Papier Holzschliff, so tritt Rotfärbung ein, und an dem Grad der Färbung des mit Filtrierpapier abgedrückten aber noch feuchten Fleckes kann der Gehalt an geschliffenem Holz annäherungsweise bestimmt werden. Dem Di-Papier wird nämlich eine Farbentafel beigegeben, auf[S. 101] welche zehn verschiedene rote Farbtöne aufgetragen sind, deren jeder einem bestimmten Holzschliffgehalt entspricht. Hat man also das holzschliffhaltige Papier mit Hilfe des Di-Papiers gefärbt, so sucht man auf der Tafel den Farbton aus, welcher der erhaltenen Färbung am meisten entspricht. Die Zahl, welche sich auf der Tafel befindet, gestattet die Bestimmung des Prozentgehaltes an Holzschliff mit Hilfe der Gebrauchsanweisung, welche beigegeben ist.
Die Verfahren von Dr. A. Müller[47] (Behandlung des Papiers mit Kupferoxydammoniak) und von Godeffroy und Coulon[48] (Behandlung des Papiers mit Goldchloridlösung) haben sich bei genauer Prüfung nicht als brauchbar erwiesen.
Prof. Rudolf Benedikt und Max Bamberger[49] wiesen an der Hand der S. Zeiselschen Methoxylbestimmungsmethode nach, daß dem Lignin (Holzsubstanz) eine ziemlich hohe Methylzahl zukommt; man versteht unter Methylzahl diejenige Methylmenge in Zehntelprozenten, welche sich beim Kochen der Substanz mit Jodwasserstoffsäure in Form von Jodmethyl abspaltet. Die verschiedenen Holzarten verhalten sich hierbei verschieden; es wurde im Mittel gefunden für Fichte die Methylzahl 22,6, Tanne 24,5, Aspe 22,6. Da man mit Hilfe des Mikroskopes feststellen kann, welcher Art das in einem Papier vorhandene Holz ist, so kann man dadurch ermitteln, welche Methylzahl man den Bestimmungen zu Grunde legen muß.
Bei der Untersuchung auf diejenigen Bestandteile des Holzes, welche Methoxylgruppen enthalten und demgemäß die Abspaltung des Jodmethyls veranlassen, ergab sich, daß hierbei nur jene Teile des Holzes in Frage kommen, die man mit dem Namen Lignin bezeichnet.
Reine Cellulose, gereinigte Baumwolle, Filtrierpapier liefern kein Jodmethyl; die mit Wasser, Alkohol und Äther extrahierten Hölzer liefern nach der Extraktion dieselbe Methylzahl wie vorher.
Die Ausführung der Bestimmung der Methylzahl muß mit großer Sorgfalt geschehen, da ein Fehler von nur einer Einheit in der Methylzahl den Holzschliffgehalt schon um 5% falsch finden läßt. Nicht ausführbar ist die Bestimmung der Methylzahl für Holz in einem Papier, welches Gips oder Baryumsulfat enthält, da ein größerer Schwefelgehalt die Methylzahl durch Bildung von Merkaptan herabdrückt.
In der Versuchsanstalt wird die annähernde Bestimmung der Menge des vorhandenen Holzschliffes u. a. auch in folgender Weise ausgeführt. Das Verfahren ist wie das von Gaedicke und Dr. Wurster ein kolorimetrisches, unterscheidet sich jedoch von den beiden genannten dadurch, daß zum Vergleich nicht ein künstlicher Farbton, sondern die Färbung, welche irgend ein Holzschliffreagens mit Holzschliff erzeugt, direkt benützt wird.
Erforderlich zur Ausführung der Prüfung sind die nachfolgenden Gegenstände.
Die Art der Versuchsausführung selbst ist folgende.
Zunächst wird festgestellt, ob das Quadratmeter-Gewicht des zu prüfenden Papiers ungefähr übereinstimmt mit dem der Vergleichsproben; ist dies nicht der Fall, so wird beim Versuch durch Aufeinanderlegen von zwei oder mehreren Blättern der dünneren Sorte der Unterschied möglichst ausgeglichen; durch eine kleine Vorprobe mit Phloroglucinlösung überzeugt man sich, ob das in Frage kommende Papier viel oder wenig Holzschliff enthält, damit nicht alle Abstufungen zum Vergleich herangezogen werden müssen. Von denjenigen Mustern, die man auf Grund dieser Vorprüfung ausgewählt hat, schneidet man kleine etwa 3 qcm große Stücke ab, ebenso ein solches von dem zu untersuchenden Papier. Sämtliche Proben bringt man in eine Schale von Glas oder Porzellan, welche eine Phloroglucinlösung von beliebiger Stärke enthält; man verfährt hierbei derart, daß die nächste Probe erst dann in die Flüssig[S. 103]keit gebracht wird, wenn die vorhergehende bereits von beiden Seiten benetzt worden ist. Auf diese Weise vermeidet man das Zusammenhaften der einzelnen Blätter, welches oft ein allseitiges Benetzen verhindert. Nachdem die Lösung etwa zwei bis drei Minuten (bei schwachen Lösungen fünf Minuten) eingewirkt hat, nimmt man zunächst die Proben von bekanntem Gehalt heraus, läßt die daran haftende Lösung abtropfen und legt sie mit wachsendem oder abnehmendem Gehalt an Holzschliff der Reihe nach nebeneinander auf die Glasplatte; die zu untersuchende Probe legt man unter diese Reihe.
Man tut gut, die Proben nun sowohl im auffallenden als auch im durchfallenden Licht zu betrachten, das letztere besonders bei Proben von gleicher Dicke. Man wird sich weit eher als bei den anderen kolorimetrischen Methoden für einen bestimmten Gehalt an Holzschliff entscheiden können.
Von besonderem Wert hat sich dies Verfahren erwiesen bei Papieren, welche sehr wenig Holzschliff enthalten, beispielsweise weniger als 10%.
Eine Schwierigkeit des Verfahrens liegt zur Zeit noch in der Beschaffung der Vergleichspapiere, die im Handel nicht zu haben sind; vielleicht tragen diese Zeilen dazu bei, die eine oder die andere Papierfabrik zur Herstellung solcher Muster zu veranlassen, wobei die weiter unten aufgeführten Gesichtspunkte zu beachten sein würden.
Der Versuchsanstalt liegen bei ihren Prüfungen Papiere zu Grunde, die seitens einiger Papierfabrikanten mit besonderer Vorsicht hergestellt und der Anstalt zum Geschenke gemacht sind; sie enthalten 0,5, 1,0, 1,5 u. s. w. bis zu 90% Holzschliff und bilden ein wertvolles Material zur annähernden Bestimmung dieses Faserstoffes im Papier. Eine weitere Reihe von Papieren ist in der Versuchsanstalt mit den denkbar einfachsten Mitteln hergestellt worden und dürften solche in Ermangelung anderer, in einer Papierfabrik mit allen Hilfsmitteln erzeugten Proben auch gute Dienste leisten.
Eine sehr wertvolle Unterstützung der vorbeschriebenen annähernden Bestimmung der Menge des im Papier vorhandenen Holzschliffes bietet die mikroskopische Untersuchung, vorausgesetzt, daß der Untersuchende im mikroskopischen Arbeiten und insbesondere im Schätzen der Bilder einen gewissen Grad von Übung besitzt.
Bei der Schätzung des Holzschliffes im mikroskopischen Bilde ist natürlich, wie ausdrücklich hervorgehoben werden mag, ebensowenig ein genaues Ergebnis zu erwarten wie bei dem geschilderten kolorimetrischen Verfahren; indessen hat die Erfahrung gezeigt, daß[S. 104] die Schätzungen bei genügender Übung im allgemeinen mit einem Fehler von weniger als 10% behaftet sind.
Um für die Schätzungen einen festen Anhalt zu haben, ist zunächst die Herstellung bestimmter Stoffmischungen erforderlich; die Mischungen werden nicht in Blättern geschöpft, sondern als Brei aufbewahrt, da sie nur in dieser Form Verwendung finden.
Auf die Herstellung der Präparate, sowohl des zu untersuchenden Papiers als auch der Mischungen, ist große Sorgfalt zu verwenden. Man nehme für die Präparate, soweit dies der Augenschein gestattet, immer möglichst gleich viel Material, breite dies immer auf eine möglichst gleich große Fläche aus und betrachte das Bild stets mit derselben Vergrößerung. Ein Wechsel in den Objektiven und Okularen erzeugt große Unsicherheit im Urteil. Die Abgabe des Urteils erfolgt nach dem Gesamteindruck, den das Auge erhalten hat.
Spuren oder ganz geringe Mengen Holzschliff in als holzfrei gehandelten Papieren haben schon oft Veranlassung zu unliebsamen Erörterungen zwischen dem Erzeuger und Abnehmer der Ware gegeben. Wenn auch ein Fabrikant holzfreier Papiere lediglich holzfreie Rohstoffe verarbeitet, so ist doch in jeder Fabrik die Möglichkeit gegeben, daß das fertige Papier verholzte Fasern und zwar in erster Linie Holzsplitterchen enthält. Die Ansichten über die Möglichkeit, Bedeutung und Zulässigkeit solcher Verunreinigungen sind in Fachkreisen sehr geteilt, und ein allgemein anerkannter Handelsbrauch darüber, ob und bis zu welchem Grade als holzfrei gehandelte Papiere durch verholzte Fasern verunreinigt sein dürfen, ohne als holzhaltig angesehen zu werden, besteht nicht.[50]
Die Versuchsanstalt hat von jeher den Standpunkt eingenommen, daß man ein Papier nicht ohne weiteres als holzhaltig ansprechen soll, wenn man verholzte Fasern in ihm nachweisen kann; der Papierfabrikant verlangt mit Recht, daß man auch den Fabrikationsumständen bei der Beurteilung solcher Fragen Rechnung trägt, und diese sind wie erwähnt derart, daß unter den gewöhnlichen hier in Frage kommenden Verhältnissen Verunreinigungen durch verholzte Fasern nicht sicher zu vermeiden sind. Die Möglichkeiten solcher Verunreinigungen werden um so mehr in den Hintergrund treten, je besser und wertvoller das erzeugte Papier ist, und man wird um so mehr mit ihnen zu rechnen haben, je geringer die Güte des erzeugten Materials ist. Aus diesem Grunde werden auch die Ansprüche, die man an das Papier stellt, verschieden sein, und man[S. 105] wird z. B. an ein Packpapier 5a und an ein Schreibpapier 3a, die beide holzfrei sein sollen, nicht den gleichen Maßstab legen. Man wird in jedem einzelnen Falle unter Berücksichtigung der Güte des Materials, der Preislage und des Verwendungszweckes seine Entscheidung treffen müssen.
Von diesem Gesichtspunkt aus dürfte es sich, sofern nicht besondere Fälle vorliegen, vielleicht empfehlen, bei holzfreien Packpapieren, Aktendeckeln u. s. w. einen Gehalt an verholzten Fasern bis zu 3% zuzulassen; bei Schreib- und Druckpapieren aus Lumpen mit oder ohne Zusatz von Erde dürften höchstens bis zu 0,5%, bei den übrigen holzfrei verlangten Sorten höchstens bis zu 1% an verholzten Fasern zulässig sein.
Diese Spielräume tragen wohl in reichlichem Maße den vorher geschilderten Umständen Rechnung, ohne andererseits die Güte des Papiers herabzudrücken; sind diese Grenzen aber überschritten, dann kann man wohl nicht mehr verlangen, daß der Empfänger die „holzfrei“ bestellte Ware als solche ansieht und abnimmt.
Einen Anhalt zur Abschätzung geringer Mengen Holzschliff gibt Tafel XVI; sie ist die Wiedergabe einer Zeichnung[51] nach Originalmustern. Papiere mit 0,5%, 1%, 2%, 3% und 5% Holzschliff, etwa 75 g das qm schwer, wurden mit salzsaurer Phloroglucinlösung behandelt und dann im auffallenden Licht gezeichnet.
[45] Sitzungen der Polytechnischen Gesellschaft zu Berlin 1882.
[46] Papierzeitung 1887, Nr. 14ff.
[47] Die qualitative und quantitative Bestimmung des Holzschliffes im Papier. Von Dr. A. Müller. Julius Springer, Berlin.
Der Gedanke, Kupferoxydammoniak zur Bestimmung des Holzes im Papier zu verwenden, ist auch von Merz durchgeführt worden; er hat eine Anzahl von Versuchen angestellt (Papierzeitung 1886), ist indessen nicht zu befriedigenden Ergebnissen gelangt.
[48] Über die quantitative Bestimmung des Holzschliffes im Papier. Von Richard Godeffroy und Max Coulon. Mitteilungen des k. k. Technologischen Gewerbe-Museums in Wien. Neue Folge. II. Jahrgang 1888, Nr. 1 und 2, S. 18ff., S. 67 und 1889, S. 9ff.
[49] Über eine quantitative Reaktion des Lignins. Von Rudolf Benedikt und Max Bamberger. Monatshefte für Chemie 1890, S. 260.
Zur Bestimmung des Holzschliffes im Papier. Von Prof. Rudolf Benedikt und Max Bamberger. Chemiker-Zeitung 1891, Nr. 14, S. 221.
[50] Vergl. Holzfreie Papiere. Vom Verfasser. Mitt. a. d. techn. Vers.-Anst. 1900, S. 279.
[51] Angefertigt von meinem Kollegen Dr. Wisbar.
Kiliani empfiehlt, zur Bestimmung des tierischen Leims dessen Fähigkeit, in der Siedehitze gelbes Quecksilberoxyd zu reduzieren, zu benutzen.
Zum Versuch wird das Papier (10–15 g) möglichst fein zerkleinert und in einem Becherglase mit destilliertem Wasser ausgekocht.
Während des Kochens versetzt man in einem zweiten Becherglase eine Lösung von Quecksilberchlorid mit verdünnter Ätznatronlösung, wobei man darauf zu achten hat, daß letztere im Überschuß zugesetzt wird.
Zu dem ausgefällten gelben Quecksilberoxyd fügt man den durch Kochen des Papiers erhaltenen wässerigen Auszug.
Kocht man diese Mischung eine Zeit lang, so wird bei Anwesenheit von tierischem Leim der gelbe Niederschlag erst schmutziggrün, dann schwarz; nach dem Kochen setzt sich am Boden des Becherglases ein schwarzer Niederschlag von metallischem Quecksilber ab.
Ist in dem Papier Tierleim nicht vorhanden, so verändert sich entweder die gelbe Farbe des Quecksilberniederschlages nicht, oder sie geht nur in Schmutziggrün über.
Den erhaltenen Niederschlag bringt man zur weiteren Untersuchung auf ein Filter, wäscht ihn mit Wasser und später mit verdünnter Salzsäure aus. Bleibt bei diesem Auswaschen auf dem Filter ein schwarzer Rückstand (metallisches Quecksilber), so ist in dem Papier Tierleim vorhanden.
Bei nicht tierisch geleimten Papieren löst sich der auf dem Filter befindliche Niederschlag vollständig auf.
Man tut gut, sich den Verlauf der Reaktion zunächst durch[S. 107] Kochen des Niederschlages mit Gelatinelösung selbst vor Augen zu führen.
Empfindlicher und einfacher als diese Quecksilberreaktion ist der Nachweis des Tierleims durch Gerbsäure, der darauf beruht, daß letztere mit Tierleim einen Niederschlag von gerbsaurem Leim (Leder) bildet. Versetzt man eine nicht allzu dünne Leimlösung mit Gerbsäure, so entsteht ein dicker gallertartiger Niederschlag, und selbst bei starker Verdünnung der Lösung ist noch eine milchig-weiße Trübung zu bemerken, aus welcher sich bald Flocken absetzen.
Behufs Ausführung des Versuchs zieht man zunächst das Papier mit destilliertem Wasser aus und dampft den Auszug etwas ein, damit die Reaktion schärfer zu beobachten ist; zu diesem Auszug setzt man nach dem Erkalten Chlorammonium (als Salz) und nach dem Auflösen verdünnte Jod-Jodkaliumlösung im Überschuß; hierdurch fällt die mit aufgelöste Stärke als blaue Jodstärke aus; sie wird abfiltriert und das Filtrat mit einigen Tropfen Alaunlösung und dann mit einer Lösung von Gerbsäure in Wasser versetzt. War das Papier tierisch geleimt, so entsteht ein mehr oder weniger dicker, flockiger Niederschlag, der sich aber zuweilen erst nach einiger Zeit bildet.
Will man sich hiermit allein nicht begnügen, so filtriert man den Niederschlag ab, trocknet und glüht ihn mit Natronkalk. War Tierleim vorhanden, so bildet sich Ammoniak, das man mit Curcuma- oder rotem Lackmuspapier (feucht) nachweisen kann, wenn es sich nicht schon durch den Geruch bemerkbar macht.
Zum Nachweis ganz geringer Mengen Tierleim oder wenn zur Prüfung nur sehr wenig Material verfügbar ist, wie bei der Untersuchung alter Handschriften, schlägt Wiesner das Millonsche Reagens vor, welches auf Eiweißstoffe, und diese sind ja im tierischen Leim stets vorhanden, sehr empfindlich reagiert.
Eine gewogene Menge metallisches Quecksilber wird mit dem gleichen Gewicht rauchender Salpetersäure versetzt und einige Stunden lang an einem kalten Orte sich selbst überlassen; hierauf setzt man eine gleich große Menge destilliertes Wasser hinzu und läßt das Ganze 24 Stunden stehen.
Das zu untersuchende Papier wird auf ein Deckgläschen gelegt und mit dem Reagens befeuchtet; hierauf bringt man es auf ein Drahtnetz und erwärmt langsam. Ist tierischer Leim vorhanden, so färbt sich das Papier in wenigen Minuten rot und zwar je nach der Menge des vorhandenen Leims rosenrot bis ziegelrot. Später bräunt sich das Papier, weshalb auf den Beginn der Färbung genau zu achten ist.
Aus dem Zutreffen der Millonschen Reaktion kann aber nur unter bestimmten Voraussetzungen auf Tierleim geschlossen werden. Diese sind:
Daß man bei Prüfung alter Beschreibstoffe, unter welchen oft feine Pergamente vorkommen, die mit Papier große Ähnlichkeit haben, auf die Beschaffenheit des Materials Rücksicht zu nehmen hat, ist selbstverständlich. Solche Pergamente geben die Millonsche Reaktion ausgezeichnet, weil sie aus leimgebender Masse bestehen.
Die quantitative Bestimmung des Tierleims geschieht am besten durch Ermittelung des Stickstoffgehaltes nach einem der hierfür bekannten Verfahren (z. B. Kjeldahl).
Kasein, meist in Form von Ammonium-Albumin, wird in einigen Fabriken beim Leimen mitverwendet,[52] um dem Papier erhöhte Leimfestigkeit und besseren Griff zu verleihen. Bei der Herstellung gestrichener Papiere findet es gleichfalls Verwendung. Zum Nachweis von Kasein benützt man am besten die Reaktion von Adamkiewicz, nach der sich eine Mischung von 1 Vol. konzentrierter Schwefelsäure und 2 Vol. Eisessig nach Zusatz von Kasein beim Erwärmen schön rotviolett färbt. Tierleim gibt diese Färbung nicht.
Das Ausziehen des Kaseins aus dem Papier erfolgt durch Behandeln mit Boraxlösung oder schwachen Laugen. Die Ausscheidung aus der Lösung erfolgt dann durch Kochen mit Essigsäure. Das abgeschiedene Eiweiß wird abfiltriert, getrocknet und in angegebener Weise geprüft. Entsteht (bei sehr geringen Mengen Eiweiß) kein Niederschlag, so dampft man das Ganze zur Trockene ein und prüft den Rückstand.
Die Ansichten, welches bei der Anwendung des Harzleims die wirkenden Faktoren seien, ob freies Harz, ob harzsaure Tonerde oder ein Gemenge beider, sind noch geteilt. Wurster behauptet, die Leimfestigkeit des Papiers werde lediglich durch freies Harz[S. 109] bedingt, andere behaupten, daß sie durch eine Verbindung des Harzes mit der Tonerde bewerkstelligt wird.
Daß auf alle Fälle immer freies Harz im Papier vorhanden ist, dürfte wohl nicht mehr angezweifelt werden, und hierauf stützen sich im wesentlichen die Verfahren für den Nachweis der Harzleimung.
Eines der ältesten beruht darauf, daß eine alkoholische Lösung von Harz, sobald sie mit Wasser stark verdünnt wird, sich durch Ausscheidung von Harz milchig trübt.
Man übergießt einen in kleine Stücke zerrissenen halben Bogen des zu prüfenden Papiers mit absolutem Alkohol und bringt das Gefäß, in dem das Ausziehen vorgenommen wird, etwa eine Viertelstunde lang in heißes Wasser. Gießt man diesen Auszug in destilliertes Wasser, so scheidet sich das Harz aus, und es entsteht eine milchig-weiße Trübung.
Diese Reaktion ist indessen nicht sehr empfindlich; bei kleinen Mengen Papier tritt sie meist nur undeutlich auf. Ihre Empfindlichkeit kann aber gesteigert werden, wenn man dem Alkohol vor dem Kochen einige Tropfen Salzsäure, Essigsäure o. a. zusetzt.
Eine sehr deutliche Reaktion erhält man auch, wenn man das Papier mit reiner Essigsäure (Eisessig) ohne Zusatz von Alkohol in der Wärme auszieht und dann den Auszug mit Wasser versetzt; in diesem Falle genügen schon wenige Quadratcentimeter Papier. Der Versuch kann bequem in einem Reagensglase ausgeführt werden. Man bringt in dieses kleine Stücke des zu untersuchenden Materials, übergießt mit 2–3 ccm Eisessig, läßt einige Male aufkochen und füllt das Glas mit destilliertem Wasser; ist Harzleim vorhanden, so entsteht eine dicke weiße Trübung, anderenfalls bleibt die Flüssigkeit klar.
Schwaches Opalisieren der Flüssigkeit ist nicht als Beweis für die Anwesenheit von Harzleim anzusehen; die Essigsäure kann nämlich unter Umständen geringe Mengen anderer Stoffe in Lösung bringen, welche diese Erscheinung hervorrufen; sie entzieht z. B. etwa vorhandenem Holzschliff ganz geringe Mengen Harz, löst bei vorhandenem schwefelsaurem Kalk einen geringen Bruchteil dieses Füllstoffes auf u. s. w. In diesen Fällen tritt beim Verdünnen mit Wasser schwaches Opalisieren ein, das aber mit der Reaktion, welche von Harzleim herrührt, kaum verwechselt werden kann. Um jedoch jeden Zweifel zu beseitigen, tut man gut, einen Teil des Alkohol- oder Essigsäureauszuges zur Trockene zu verdampfen und sich von der harzigen Beschaffenheit des Rückstandes zu überzeugen.
Morawski[53] schlägt vor, die Storchsche Reaktion zum Nachweis von Harzöl auch bei der Untersuchung von Papier auf Harzleimung anzuwenden. Löst man etwas Kolophonium in einem trockenen Reagensglase durch Erwärmen mit Essigsäureanhydrid und läßt nach dem Erkalten vorsichtig einen Tropfen konzentrierte Schwefelsäure an dem Glase hinunterfließen, so entsteht eine rote bis violette Färbung, die aber sogleich wieder verschwindet, um einer braungelben Platz zu machen. Die Reaktion ist sehr empfindlich und zeigt noch sehr geringe Mengen Harz an. Zum Nachweis im Papier verfährt man mit etwa 10 qcm Papier ebenso. Wegen der ätzenden Eigenschaften der beiden Reagentien ist Vorsicht geboten.
Wiesner[54] benutzt zum Nachweis von Harzleim im Papier konzentrierte Schwefelsäure und stützt sich hierbei auf die sogenannte Raspailsche Reaktion.
Nach Raspail nehmen Harze und Fette, ähnlich wie Eiweißkörper, mit Zucker und Schwefelsäure behandelt, eine intensiv rotviolette Farbe an. Da nun durch die Einwirkung von konzentrierter Schwefelsäure auf die im Papier vorhandene Cellulose Zucker entsteht, so läßt man auf das zu untersuchende Papier einen Tropfen Schwefelsäure fallen. Ist das Papier mit Harz geleimt, so entsteht eine rotviolette Färbung, welche ausbleibt, wenn kein Harzleim vorhanden ist.
Beim Eintreten der Reaktion hat man sich aber nachträglich zu vergewissern, ob im Papier nicht auch Fette oder Eiweißkörper vorhanden sind, da diese die Färbung ja auch geben. Dieser Umstand beeinträchtigt natürlich den praktischen Wert der Reaktion erheblich. Ferner ist sie nicht anwendbar, wenn das Papier verholzte Fasern enthält, da dann eine so stark schmutziggrüne Färbung auftritt, daß die Harzreaktion völlig verdeckt wird.
Wertvoll für den Untersuchenden ist bei Anwendung dieser Reaktion der Umstand, daß man zu ihrer Ausführung nur sehr wenig Papier braucht.
Ein weiteres, in der Versuchsanstalt ermitteltes Verfahren, das sich durch große Einfachheit in der Versuchsausführung auszeichnet, ist das folgende. Man schneidet aus dem zu prüfenden Material ein etwa handgroßes Stück heraus, legt es auf eine hohle[S. 111] Unterlage (Glasschale, Uhrglas, Trinkglas o. a.) und läßt aus einer Tropfflasche etwa 4–6 Tropfen Äther auf die Mitte des Blattes fallen. Der Äther breitet sich auf dem Blatt mehr oder weniger aus und ist nach kurzer Zeit verdunstet; die Verdunstung kann durch Zufächeln oder Zublasen von Luft noch befördert werden, so daß der ganze Versuch kaum 15–20 Sekunden in Anspruch nimmt. Bei harzgeleimten Papieren zeigt sich dann ein mehr oder weniger deutlicher Harzrand. Bildet sich nach der ersten Verdunstung kein Rand, so tut man gut, noch ein zweites und drittes Mal zu tropfen, da zuweilen bei Papieren mit wenig Harzleim, z. B. bei gleichzeitig vegetabilisch und tierisch geleimten, der Rand weniger deutlich erscheint als sonst.
Aus Fig. 58 ist zu ersehen, wie die Reaktion auftritt. Die Figuren zeigen 4 verschiedene Papiersorten, welche in der eben geschilderten Weise behandelt und dann im durchfallenden Licht photographisch aufgenommen wurden.
Besonders wertvoll dürfte sich dieses Verfahren beim Prüfen von Büchern, Druckwerken, Handschriften, Landkarten u. s. w. erweisen, da man diese direkt, ohne Teile davon zu entnehmen, dem Versuch unterwerfen kann. Der zurückbleibende Harzrand wird das Versuchsobjekt in den meisten Fällen nicht entwerten; man kann sich in diesen Fällen mit einem Raum begnügen, der für einen einzigen Tropfen ausreicht, da dieser schon, entweder beim ersten Male oder im Wiederholungsfall, das Harz anzeigt.
In den weitaus meisten Fällen wird es dem Ermessen des Untersuchenden freistehen, sich der einen oder anderen der geschilderten Verfahren zu bedienen; er wird sich dabei leiten lassen von äußeren Umständen, etwa von den zur Verfügung stehenden Reagentien, der Menge des vorhandenen Papiers u. s. w. In einigen[S. 112] besonderen Fällen aber wird er eine Auswahl zu treffen haben. Handelt es sich z. B. um ein gefettetes Papier, so kann man dieses nicht durch Ausziehen mit Alkohol oder Eisessig untersuchen, da dann auch das Fett in Lösung geht und nachher mit Wasser eine Trübung gibt; ebensowenig kann man in diesem Falle die Wiesnersche Reaktion anwenden, da schon das vorhandene Fett Ursache einer Färbung im Verein mit Schwefelsäure werden würde; auch die Äther-Tropfmethode läßt hier im Stich, da schon durch das Fett allein ein Rand erzeugt wird. Es bleibt also für diesen Fall nur die Morawskische Reaktion übrig, wobei man allerdings die wohl immer zutreffende Voraussetzung machen muß, daß zum Fetten des Papiers keine Harzöle Verwendung gefunden haben, denn diese geben die Morawskische Reaktion ebenfalls. Auch bei gefärbten Papieren wird man nicht immer jede der angeführten Methoden anwenden können; je nach dem Verhalten des Farbstoffes den anzuwendenden Reagentien gegenüber wird man eine Auswahl vorzunehmen haben. Kurz, man kann zum Nachweis des Harzes im Papier nicht gut eine allgemeine Vorschrift geben, die auch alle besonderen Fälle in sich schließt; der Untersuchende muß vielmehr von Fall zu Fall selbst seine Entscheidung treffen.
Zur Bestimmung der Menge des vorhandenen Harzes (frei und gebunden) kocht man das Papier mit etwa 5prozentiger Natronlauge, filtriert, wäscht mit heißem Wasser aus und setzt zu dem Filtrat Schwefelsäure. Das hierbei ausgeschiedene Harz wird durch Schütteln mit Äther aufgenommen und bestimmt.
Stärke wird beim Leimen vielfach angewendet, um dem Papier ein schöneres Aussehen zu geben; die Stärkeleimung, welche als solche bei uns nicht mehr in Gebrauch ist, ist älteren Datums als die animalische und vegetabilische Leimung.
Wiesner[55] hat nachgewiesen, daß beispielsweise alle Papiere des Papyrus Erzherzog Rainer ausschließlich durch Stärke beschreibbar gemacht worden sind.
Erst im Jahre 1377 tritt die tierische Leimung bei Papieren auf.
Der Nachweis der Stärke im Papier geschieht mit Hilfe von stark verdünnter Jod-Jodkaliumlösung; bringt man einen Tropfen auf stärkehaltiges Papier, so entsteht eine Blau- oder Violettfärbung infolge der Bildung von Jodstärke. Die Jodlösung muß sehr ver[S. 113]dünnt sein, weil sonst die Blaufärbung des Papiers durch die braune Farbe der Lösung verdeckt wird.
Zur Bestimmung der Menge der vorhandenen Stärke wird letztere durch Behandlung des Papiers mit Diastase oder verdünnter Säure in Zucker übergeführt und dieser mit Hilfe der hierfür bekannten Verfahren bestimmt.[56]
[52] Hofmann, Handbuch der Papierfabrikation. 1891. S. 380.
[53] Über eine empfindliche Reaktion zum Nachweise von Fichtenharz. Von Th. Morawski. Mitteilungen aus dem K. K. Technologischen Gewerbe-Museum in Wien. 1888. Nr. 1 und 2 Seite 13.
[54] Die mikroskopische Untersuchung des Papiers. Von Prof. Dr. Jul. Wiesner. Wien 1887.
[55] Mitt. a. d. Sammlung des Papyrus Erzherzog Rainer. 1887. S. 45.
[56] Lunge, Chemisch-technische Untersuchungsmethoden, Bd. III, S. 392.
Von einem Schreibpapier verlangt man, daß es leimfest ist, d. h. daß Tintenschrift weder ausläuft noch durchschlägt. Die Forderung, daß die Schriftzüge nicht auslaufen, ist ohne jede Einschränkung zu stellen; ob das Papier dick oder dünn ist, die Schriftzeichen müssen scharfe Ränder zeigen, wenn es als leimfest gelten soll.
Bei der Beurteilung des Widerstandes des Papiers gegen das Durchdringen der Tinte muß man seine Ansprüche mit der Dicke des Materials in Einklang bringen, da naturgemäß unter sonst gleichen Umständen dickeres Papier stärkere Schrift zu halten im stande ist als dünneres.
Zur Beurteilung der Leimfestigkeit von Papier hat Leonhardi, gestützt auf grundlegende, von Schluttig ausgeführte Versuche, die Behandlung mit neutraler Eisenchloridlösung, deren Eisengehalt 1,531% beträgt, vorgeschlagen.[57] Nach seinen Beobachtungen soll diese Lösung in ihrer Fähigkeit, Papiere zu durchdringen, mit den besseren Schreib- und Kopiertinten übereinstimmen.
Mittels einer Ziehfeder werden auf dem zu untersuchenden Papier Striche mit der erwähnten Eisenchloridlösung gezogen; die Spitzen der Feder stehen hierbei 1 mm auseinander.
Nach dem Eintrocknen wird auf die Rückseite des Papiers eine geringe Menge ätherischer Tanninlösung gegossen.
Ist das Papier schlecht geleimt, so ist Eisenlösung durch das Papier gedrungen und diese Stelle färbt sich dann bei dem Aufgießen der Tanninlösung mehr oder weniger schwarz.
Post hat diesem Verfahren eine andere Ausführungsform gegeben, wobei er zugleich in gewissem Maße auf die Dicke des Papiers Rücksicht nimmt.
Die Eisenchloridlösung wird in einer Flasche aufbewahrt, wie sie Fig. 59 zeigt. Der bis auf den Boden gehende Stopfen ist eine Pipette, welche oben mit einer feinen Gummimembran verschlossen ist. Die Pipette läßt bei einem Druck auf die Gummischeibe stets Tropfen von 0,03 g fallen.
Man hängt die gefüllte Pipette so auf (Fig. 60), daß ihre Spitze von der Tischplatte 10 cm entfernt ist, legt ein Stück des zu untersuchenden Papiers darunter und läßt durch Drücken auf die Gummimembran einen Tropfen der Eisenlösung fallen. Den Tropfen läßt man nun so viel Sekunden auf dem Papier, wie dieses Gramm pro Quadratmeter schwer ist. Nach Verlauf dieser Zeit nimmt man den Rest des Tropfens mit Filtrierpapier auf.
Hat man auf diese Weise 4–5 Flecke erzeugt, so behandelt man nach völligem Trocknen die Rückseite des Papiers mit Tanninlösung wie vorher angegeben.
Von der Anwendung der ätherischen Tanninlösung sollte man indessen Abstand nehmen und statt dessen eine wässerige Auflösung benützen, weil der Äther ein Lösungsmittel für Harz ist und deshalb trotz seiner schnellen Verdunstung in das Papier eindringen und so das Tannin in das Innere des Blattes führen kann; man hat deshalb, wenn ein schwarzer Niederschlag entsteht, nicht die[S. 116] Gewißheit, daß er auf der Rückseite entstanden ist; er kann sich auch im Innern des Papierblattes gebildet haben.
Um dem vorzubeugen, befeuchtet man einen Flock Baumwolle mit wässeriger Tanninlösung und fährt hiermit über die Rückseite des zu prüfenden Papiers; das auf diese Weise schwach angefeuchtete Papier wird sofort mit Fließpapier nachgetrocknet, so daß Eindringen von Feuchtigkeit in das Papier von der Rückseite her nicht zu befürchten ist.
Osw. Schluttig und Dr. G. S. Neumann haben die Ausführung der Prüfung mit Eisenchlorid noch anders gestaltet.[58] Veranlassung hierzu gaben die Arbeiten Schuberts über das Postsche Verfahren[59] und der Wunsch einen Weg zu finden, um auch Über den Grad der Leimung ein Urteil abgeben zu können.
Schluttig und Neumann schlagen die Prüfung in folgender Weise vor:
Das Papier p wird auf einem hierfür hergerichteten dachartigen Gestell (Fig. 61a–b) befestigt, dessen Seitenwände mit der Tischplatte einen Winkel von 60° bilden. Ein Aufsatz trägt eine Blechrinne f, die gegen p um 45° geneigt ist. In ein Glasröhrchen von bestimmten Abmessungen wird eine stets gleiche Menge Eisenchloridlösung gesaugt, die in 100 Gewichtsteilen 1 g Eisen (als Eisenchlorid), 1 g Gummi arabicum und 0,2 g Phenol enthält. Das Röhrchen wird oben mit dem Finger verschlossen und so gegen f gelegt, daß das untere Ende das Papier berührt. Wird nun die obere Öffnung freigegeben, so fließt die Lösung auf dem Papier herunter. In dieser Weise erzeugt man nach jedesmaligem Verschieben des Aufsatzes um 3 cm noch zwei Streifen (Fig. 62). 15 Minuten nach Bil[S. 117]dung des dritten Streifens wird das Blatt umgedreht und auf der Rückseite in gleicher Weise mit wässeriger Tanninlösung (1prozentige Lösung mit 0,2 g Phenol) so behandelt, daß sich die Streifen in der aus Fig. 63 ersichtlichen Weise kreuzen.
Bei nicht leimfesten Papieren färben sich die neun Kreuzungspunkte der Streifen wenige Sekunden nach dem Herunterlaufen der Tanninlösung schwarz. Ein Papier gilt als leimfest, wenn erst nach Verlauf einiger Minuten Farbreaktionen auftreten, beginnend bei 1⁄6, so daß die inneren Kreuzungspunkte 1⁄6, 2⁄6, 1⁄5 und 2⁄5 deutlich grau bis schwarz, wohl auch einige der äußeren grau gefärbt sind.
Zeigen die inneren Kreuzungspunkte nach 24 Stunden nur eine ganz schwache graue Färbung, so gilt das Papier als sehr leimfest; zeigt sich nach dieser Zeit an keinem der Kreuzungspunkte eine Färbung, so ist das Papier außerordentlich leimfest.
Bei zahlreichen vergleichenden Prüfungen auf Leimfestigkeit unter Benutzung der beiden zuletzt geschilderten Verfahren einerseits und unter Ausführung von Schreibversuchen mit verschiedenen Tinten andererseits zeigte sich in den meisten Fällen Übereinstimmung in den Ergebnissen. Vereinzelt kamen aber Abweichungen, teilweise recht auffallender Art, vor, die zeigten, daß das Eindringen der Eisenlösung nicht immer in gleicher Weise erfolgt wie das der Tinte.
So wurden beim Arbeiten nach Post, namentlich bei der Untersuchung von blauen Aktendeckeln und Packpapieren, Fälle beobachtet, in denen die Eisenchloridtropfen das Material völlig[S. 118] durchdrangen, starke Tintenschrift aber weder auslief noch durchdrang.
Bei Anwendung des Schluttig-Neumannschen Verfahrens wurden u. a. Fälle beobachtet, in denen Papiere nach der Farbbildung an den Kreuzungspunkten als sehr leimfest hätten bezeichnet werden müssen, während Tintenschrift durchschlug. Hier spielte wohl die Oberflächenbeschaffenheit der Papiere eine Rolle, denn bei stark geglätteten Papieren wird das Eindringen der Prüfungsflüssigkeit bei horizontaler Lage des Papierblattes leichter und stärker erfolgen als bei schräg liegendem Blatt.
Auf die Einzelheiten der gemachten Beobachtungen kann hier nicht weiter eingegangen werden; sie haben aber gezeigt, daß zur Beurteilung der Leimfestigkeit von Papier unbedingt auch Versuche unter Verwendung von Tinte ausgeführt werden müssen. Man wählt hierzu zweckmäßig 2–3 gute Handelsmarken verschiedener Zusammensetzung aus, die man gut verschlossen aufbewahrt. Für den Versuch entnimmt man jedesmal kleine Mengen aus den Vorratsflaschen.
Der Versuch selbst wird am besten mit einer Ziehfeder ausgeführt. Man zieht Striche von verschiedener Dicke und achtet auf möglichst gleichmäßige Ausführung. Zunächst werden die Spitzen der Feder für die gewünschte Strichdicke eingestellt, dann Tinte bis zu einer gewissen Marke eingefüllt und schließlich die Feder an einem Lineal entlang geführt, so weit es angeht, stets mit gleicher Geschwindigkeit und in derselben Neigung zum Papierblatt. Vor jedem neuen Strich wird die Feder wieder gefüllt.[60] Die Striche werden untereinander gezogen und Kreuzungen vermieden.
Will man Über den Grad der Leimfestigkeit ein Urteil abgeben, so steigert man die Strichdicke, etwa von ½ mm anfangend, von Versuch zu Versuch um ¼ mm, bis die Tinte durchschlägt. Man kann dann sein Urteil dahin zusammenfassen, daß das Papier leimfest ist für Strichdicken bis zu... mm. Dieses Urteil gibt ein klares Bild über die Beschreibbarkeit des vorliegenden Materials, klarer als die Angaben leimfest, sehr leimfest u. s. w.
Gewöhnliche Schreibpapiere, wie Kanzlei- und Konzeptpapiere von etwa 80–100 g Quadratmetergewicht, wird man als genügend geleimt ansehen können, wenn ¾ mm dicke Striche weder auslaufen noch durchschlagen.
Hat man das Papier mit der Ziehfeder behandelt, so beschreibt man es auch in gewöhnlicher Weise, wobei man gut tut, stets den gleichen Wortlaut, z. B. Namen und Wohnort anzuwenden, da hierdurch eine größere Gleichmäßigkeit in der Ausführung gesichert wird als bei stets wechselnden Worten.
Bei Papieren, die nur auf einer Seite beschrieben werden, wie Briefumschlagpapier, kann man sich mit der Forderung begnügen, daß die Schriftzüge scharfe Ränder aufweisen; ob sie Neigung zum Durchschlagen zeigen, kommt praktisch nicht in Betracht. Bei Wechselpapieren kann schwache Leimung sogar von besonderem Wert sein, da durch das tiefe Eindringen der Tinte Fälschungen erschwert werden.
Gegen die Ausführung der Versuche mit Tinte lassen sich naturgemäß eine Reihe von Einwänden erheben. Einmal ist man abhängig von der Beschaffenheit der Tinte, die auch in den besten Fabriken nicht immer von gleicher Zusammensetzung hergestellt werden kann, ferner ist die Art und Weise des Auftragens nicht immer gleich, es wird nicht immer die gleiche Menge Tinte auf eine bestimmte Strichlänge kommen u. a. m.
Ähnliche Einwände sind aber auch gegen die beiden geschilderten Eisenchlorid-Verfahren zu machen.
Man kann aber die Versuche mit Tinte, wie schon erwähnt, nicht entbehren und man muß sich mit den Mängeln, so gut es geht, abfinden, bis das Verfahren weiter ausgearbeitet ist. Vielleicht gelingt es, eine Vorrichtung zu schaffen, mit Hilfe deren man die Tinte in stets gleicher Weise auf das Papier bringen kann (gleiche Geschwindigkeit beim Ziehen mit der Feder, gleiche Neigung der Feder zum Blatt, gleiche Tintenmenge für eine Längeneinheit, gleicher Druck der Feder u. s. w.).
[57] Papierzeitung 1884, S. 625.
[58] Papierzeitung 1891, S. 1532.
[59] Papierzeitung 1885, S. 1102.
[60] Nach beendigtem Versuche reinige man die Feder gründlich, damit sie so wenig wie möglich von der Tinte angegriffen wird. Werden die Spitzen der Feder im Laufe des Gebrauches rauh, so müssen sie neu eingeschliffen werden.
Papiere, die freies Chlor und freie Säure enthalten, gehören zu den Seltenheiten. Die ganzen Verhältnisse, unter denen das Papierblatt entsteht, machen schon das Hineingelangen von Chlor und Säure in das Papier außerordentlich schwierig. Überschüssiges Chlor aus dem Halbstoff wird durch Hinzufügen von Entchlorungsmitteln und durch die großen Wassermengen, mit denen die Faser in Berührung kommt, unschädlich gemacht. Die in dem Stoff etwa vorhandene Säure, sei sie nun direkt zugesetzt oder durch den Alaun hineingelangt, wird teils gebunden, teils durch den Waschprozeß entfernt.
Findet man daher ab und zu ein Papier, in dem man freies Chlor und freie Säure nachweisen kann, so dürfte deren Anwesenheit auf besondere Umstände bei der Fabrikation zurückzuführen sein. So kann ein Papier, wenn beim Bleichen Chlorkalkschlamm in den Stoff gelangt ist, Chlorkalkreste enthalten und noch eine Zeit lang die Chlorreaktion geben.
Der Nachweis des freien Chlors im Papier geschieht in ähnlicher Weise wie bei Prüfung des Halbzeuges; man nimmt hierbei bekanntlich eine geringe Menge des zu prüfenden Stoffes aus dem Holländer, preßt mit der Hand aus und läßt wenige Tropfen einer Kaliumjodidstärkelösung darauf fallen; ist noch freies Chlor vorhanden, so färbt sich das Halbzeug infolge der Bildung von Jodstärke mehr oder weniger blau.
Bei der Prüfung des fertigen Papiers verfährt man am besten in der Weise, daß man es in Stücke zerschneidet, diese durch destilliertes Wasser zieht und sie dann abwechselnd mit Kaliumjodidstärkepapier übereinanderschichtet; das Ganze beschwert man mit einer Glasplatte.
Das Wasser zieht etwa vorhandenes Chlor allmählich aus, das Chlorwasser wirkt auf das Reagenspapier und erzeugt mehr oder weniger blaue Streifen und Flecken.
Das Kaliumjodidstärkepapier stellt man sich her, indem man gewöhnliche Stärke mit kaltem Wasser zu einem Brei anrührt und[S. 121] diesen unter Umrühren in siedendes Wasser gießt, in welchem man eine geringe Menge Jodkalium aufgelöst hat; durch die erkaltete Lösung zieht man Filtrierpapier.
Wenn es so ziemlich einfach ist, sich von dem Vorhandensein freien Chlors zu überzeugen, so ist der Nachweis freier Säure schwieriger. Eine möglichst große Menge des zerkleinerten Papiers übergießt man in einem Becherglase mit einer möglichst geringen Menge destillierten Wassers; das Ganze erwärmt man etwa eine Stunde lang mäßig, wobei ein häufiges Umrühren der Masse von Vorteil ist. Man darf dann wohl mit Sicherheit annehmen, daß der weitaus größte Teil aller im Papier enthaltenen, durch Wasser ausziehbaren Stoffe, also auch die freie Säure, in Lösung gegangen ist; man gießt den Auszug ab und arbeitet nun bei der weiteren Untersuchung allein mit diesem. Dasjenige Mittel, dessen man sich in der Chemie gewöhnlich zum Nachweis der freien Säuren bedient, das blaue Lackmuspapier, läßt sich im vorliegenden Falle nicht anwenden, da in dem Auszug in den meisten Fällen Tonerdesalze vorhanden sind, welche ebenfalls blaues Lackmuspapier rot färben.
Ein Farbstoff, der nicht durch Tonerdesalze, wohl aber durch freie Säure verändert wird, ist das Kongorot, und dieses kann man im vorliegenden Fall verwenden. Man bringt in einen Teil des erhaltenen Auszuges ein Stück Kongopapier,[61] das sich dann bei Gegenwart freier Säure mehr oder weniger blau färbt. Die Empfindlichkeit des Kongofarbstoffes ist erheblich geringer als die des Lackmus, und man wird sich nicht immer mit der Kongoreaktion zufrieden geben können. In solchen Fällen wird der wässerige Auszug aus dem Papier mit Normalkalilauge unter Anwendung von Tropäolin als Indikator titriert.
Von den Papieren, welche zum Umhüllen von Metallen Verwendung finden, also zum Verpacken von Nähnadeln, Messern, Blattmetallen u. s. w., verlangt der Verbraucher mit Recht, daß sie frei von Stoffen sind, die das in Frage kommende Metall angreifen. Von diesem Gesichtspunkt ausgehend wird bei Bestellung derartiger Papiere dem Fabrikanten gewöhnlich vorgeschrieben, das Papier „chlor- und säurefrei“ zu liefern. Mit dieser Bestimmung im Vertrag glaubt der Bezieher alles getan zu haben, um seine Metallwaren gegen schädliche Einflüsse durch das Papier geschützt zu wissen. Es herrscht eben weit verbreitet die Ansicht, daß Papier, welches frei von Chlor und Säure ist, sich ohne weiteres zum Ein[S. 122]schlagen jedweder Metallwaren eignet. Obwohl schon wiederholt, so insbesondere von Dr. Stockmeier in Nürnberg, der auf diesem Gebiet besonders erfahren ist, auf das Irrtümliche dieser Auffassung hingewiesen worden ist, taucht sie immer wieder auf. Beschwerden über Korrosion von Metallen durch chlor- und säurehaltige Papiere kehren immer wieder.
Zu fest scheint die Annahme gewurzelt, daß es bei der Beurteilung eines Papiers zu dem erwähnten Zweck lediglich darauf ankommt, zu wissen, ob es „chlor- und säurefrei“ ist.
Gemeint ist hiermit natürlich freies Chlor und freie Säure, denn Chlor und Säure in gebundenem Zustand sind wohl in jedem Papier vorhanden, das als Einschlagpapier für Metalle in den Handel kommt.
Der Lieferant eines Papiers, das zum Umhüllen von Metallwaren bestimmt ist, kann die Bedingung „chlor- und säurefrei“ leicht eingehen,[62] denn selbst wenn ein Papier unmittelbar nach der Herstellung Spuren von freiem Chlor und freier Säure enthalten sollte, nach kurzer Zeit werden beide in den gebundenen Zustand übergeführt sein; daher wird die Prüfung auf freies Chlor und freie Säure wohl meist zu einem negativen Ergebnis führen. Auf dieses Ergebnis fußt dann der Verbraucher, hält das Papier für geeignet und ist erstaunt, wenn es dennoch Metallgegenstände angreift.
Es erscheint daher angebracht, auch an dieser Stelle darauf hinzuweisen, daß die Ursache der Einwirkung auf Metalle ganz verschiedenartig sein kann und daß die Gewährleistung für die Güte des Papiers von einem anderen Gesichtspunkt aus gefordert und gegeben werden sollte, als es jetzt meist geschieht.
Wird Blattsilber von dem zum Verpacken benutzten Papier angegriffen, so werden meist Schwefel oder Schwefelverbindungen die Ursache sein; dasselbe Papier zum Umhüllen blanker Stahlwaren benutzt, könnte sich vorzüglich bewähren, weil eine Einwirkung von Schwefel oder Sulfiden auf Stahl nicht so leicht vorkommen dürfte. Enthält ein Papier gleichzeitig Chloride und Alaun, so sind, worauf Dr. Wurster schon 1888 in der Papierzeitung hingewiesen hat, bei feuchter Luft die Bedingungen für die Bildung von Salzsäure gegeben; in einem solchen Papier würden Stahlwaren Rost ansetzen, und Dr. Stockmeier hat einzelne solcher Fälle in der „Papierzeitung“ 1893, S. 2584 bekannt gegeben und durch Analysenergebnisse belegt. Beim Verpacken von Blattsilber in[S. 123] einem solchen Papier hätte man schädliche Einflüsse viel weniger zu befürchten.
Man wird also gut tun, dem Fabrikanten bei Bestellung von Papieren zum Umhüllen von Metallen stets anzugeben, um welche Metalle es sich handelt; er kann dann bei der Herstellung auf diejenigen Verbindungen besonders Rücksicht nehmen, die dem Metall schädlich werden können. Die Verbraucher solcher Papiere sollten sich aber die Frage vorlegen, ob die Papiersorten, die man infolge jahrelanger Gewohnheit zum Verpacken von Metallen verwendet, für diesen Zweck auch besonders geeignet sind. So kommen Stahlnadeln fast ausschließlich in dem bekannten schwarzen Nadelpapier verpackt zum Verkauf; der Käufer ist an diese Verpackung gewöhnt, der Verkäufer ist daher bestrebt, sie beizubehalten, hält sie auch wohl für besonders geeignet. Dies scheint aber nicht der Fall zu sein. Bei einer Reihe von Vergleichsversuchen über das Verhalten blank polierter Stahlwaren in schwarzem Nadelpapier einerseits und gewöhnlichem Schreib- und Filtrierpapier andererseits zeigte sich in den meisten Fällen, daß das Nadelpapier zum Verpacken am wenigsten geeignet war. Die bisher ausgeführten Versuche sind allerdings zu einem abschließenden Urteil nicht ausreichend, da sich die Erfahrungen aber stets in der gleichen Richtung bewegten, so läge es wohl im Interesse der Erzeuger und Verbraucher derartiger Papiere, wenn die Frage auf breiter Grundlage gründlich studiert würde. Wie schon vorhin erwähnt, gehören Alaun und Chloride zu denjenigen Stoffen, die unter Umständen Stahlwaren angreifen können; man sollte also bei der Herstellung von Nadelpapier hinsichtlich der Verwendung von Alaun sehr vorsichtig sein und außerdem nur ungebleichte Stoffe verarbeiten; auch das Färben sollte unterbleiben, wenigstens die jetzt übliche Färbung mit Blauholz, bei der die Fasern vorher gebeizt werden. Von der Beize bleibt ein Teil im Stoff zurück, der unter geeigneten äußeren Bedingungen schädlich wirken kann.
Gegenständen aus Silber, leonischen Fabrikaten u. s. w. sind, wie schon erwähnt, Papiere, die Schwefel oder Schwefelverbindungen enthalten, besonders gefährlich; bei der Auswahl der Rohstoffe für die Erzeugung der Papiere sollte man hierauf gebührend Rücksicht nehmen. Schwefelhaltige Farbstoffe, wie z. B. Ultramarin, sollte man natürlich ganz ausschließen.
Die reine Faser greift Metalle nicht an; man sollte also dahin streben, Einschlagpapiere für Metalle lediglich aus reinem Fasermaterial herzustellen und alle sonstigen Zusätze nach Möglichkeit vermeiden oder doch so weit es angeht beschränken.
[61] Hergestellt durch Eintauchen von Filtrierpapier in eine kochende Lösung von wenig Kongorot in Wasser.
[62] Namentlich wenn, wie dies sehr oft der Fall, die Papiere ausschließlich aus ungebleichtem Natronzellstoff hergestellt wurden.
Als Vergilbung bezeichnet man die Änderung des Farbtones eines Papiers beim Lagern; sie ist in mehr oder minder hohem Maße und in mehr oder weniger langen Zeiträumen bei allen Papieren zu beobachten[63] und ist vorzugsweise auf die Einwirkung von Licht, Luft und Wärme zurückzuführen. Am schnellsten geht die Vergilbung bei Einwirkung von Licht oder Wärme von statten; werden diese beiden Faktoren ausgeschlossen, wird das Papier also unter Abschluß von Licht in ungeheizten Räumen aufbewahrt, so hält es sich lange unverändert.
Am leichtesten vergilben, wie bekannt, Papiere mit verholzten Fasern, also in erster Linie holzschliffhaltige Erzeugnisse; bei diesen bemerkt man schon, wenn sie nur kurze Zeit von der Sonne beschienen wurden, den Beginn der Vergilbung. Je mehr verholzte Fasern sie enthalten, um so stärker vergilben sie. Das gleiche Verhalten zeigen Papiere, die mit Farbstoffen getönt sind, die nicht lichtecht sind.
Aber auch holzfreie Papiere, ohne Zusatz derartiger Farben hergestellt, vergilben oft ziemlich stark, und nach den Untersuchungen von Dr. Klemm sind hier vorzugsweise seifenartige Verbindungen des Eisens mit Harz- und Fettkörpern die Ursache.
Die Menge dieser Verbindungen gibt ein Maß für die Beurteilung der Vergilbungsneigung.
Als bestes Mittel, diese Seifen aus dem Papier herauszulösen, empfiehlt Klemm eine Mischung von 2 Teilen Äther und 1 Teil Alkohol.[64]
Mit diesen Anhaltspunkten ist der Weg zur Ermittelung der Vergilbungsneigung eines Papiers gegeben.
Aus einer abgewogenen Menge Papier (3 g) werden die Eisenseifen in einem Extraktionsapparat (z. B. Thorn, Soxhlet) mit Hilfe des Äther-Alkoholgemisches ausgezogen, und dann wird der Gehalt an Eisen bestimmt. Hierzu wird der Auszug zur Trockne verdampft, geglüht und der Rückstand mit Säure aufgenommen.
Für die Eisenbestimmung leistet in den meisten Fällen das auf Farbvergleich beruhende Verfahren mit Hilfe von Rhodanammonium und einer titrierten Lösung von Eisenchlorid oder Ammoniakeisenalaun in der von Lunge und v. Kéler[65] ausgearbeiteten Form gute Dienste. Es erlaubt die Bestimmung auf eine Genauigkeit von ±0,000001 g Eisen, wenn 5 ccm des Auszuges zur Untersuchung benutzt werden. Die Gesamtmenge des vorhandenen Eisens darf aber nicht mehr als 0,00002 g betragen. Ist mehr Eisen vorhanden und hat man den Auszug zunächst so hergestellt, daß 5 ccm 1 g Papier entsprechen, so muß man entweder den Auszug entsprechend verdünnen oder aber das Eisen in anderer Weise bestimmen.
Der in Form von Eisenseifen in Papieren vorhandene Gehalt an Eisen schwankt nach den bisherigen Erfahrungen zwischen 0,0002 g und 0,01 g in 100 g Papier oder 0,2 g bis 10 g in 100 kg Papier.
In einfacher, wenn auch nicht so einwandfreier Weise, kann man den Versuch ausführen, wenn man die Eisenseifen mit Natronlauge auszieht. Hierbei treten vielfach Zersetzungen ein, und man wird daher dieses Verfahren nur wählen, wenn es sich lediglich um eine möglichst schnelle Orientierung und annähernde Schätzung handelt.
Man kocht 1 g Papier im Reagensglas mit 5 ccm einer 1prozentigen alkoholischen Natronlauge aus, gießt die mehr oder weniger stark gelb gefärbte Flüssigkeit, welche nunmehr die organischen Eisenverbindungen enthält, in ein anderes, zuvor mit Salzsäure sorgfältig gereinigtes Glas und fügt Salpetersäure bis zur deutlich sauren Reaktion hinzu; dabei fällt das zur Leimung verwendete Harz aus. Hierauf versetzt man die Lösung mit ungefähr 2 ccm einer 10prozentigen Rhodanammoniumlösung, wodurch sie sich bei Gegenwart von Eisen mehr oder weniger rot färbt. Zum Schluß setzt man noch 5 ccm Äther hinzu und schüttelt tüchtig durch.
Der sich an der Oberfläche ansammelnde Äther nimmt den[S. 126] roten Farbstoff auf und zeigt nun eine der Farbabstufungen von blaßrot bis blutrot. Je dunkler die Farbe, um so mehr ist das Papier des Vergilbens fähig.
Klemm hat nach seinem Verfahren eine große Anzahl holzfreier Papiere geprüft und sie gleichzeitig der Einwirkung des Lichtes ausgesetzt. Hierbei zeigte sich, daß sie durch die infolge der Belichtung erzielte Farbänderung einerseits und durch die Eisenreaktion andererseits in gleicher Weise abgestuft wurden.
Man hat also in dem Verfahren ein Mittel, sich durch einen verhältnismäßig einfachen Versuch ein Bild von dem voraussichtlichen Vergilben des Papiers zu machen.
[63] Vergl. Dr. P. Klemm, Über die Farbbeständigkeit der Papiere. Klimschs Jahrbuch 1901, S. 32.
[64] Papierzeitung 1902, S. 961. Wochenblatt für Papierfabrikation 1902, S. 810.
[65] Zeitschrift für angewandte Chemie 1896, S. 3, und Lunge, Chemisch-technische Untersuchungsmethoden, Bd. I, S. 325.
Zur Bestimmung der Saugfähigkeit von Löschpapier bedient man sich zweckmäßig eines von Winkler vorgeschlagenen Apparates, dessen Bau aus Fig. 64 zu ersehen ist.[66]
An dem in vertikaler Richtung verschiebbaren und in jeder Lage durch eine Schraube festzulegenden Querbalken befinden sich 4 Maßstäbe mit Millimeterteilung und daneben 4 Klemmen zum Festhalten des zu prüfenden Papiers. In dem unteren Teil des Gestelles befindet sich eine Schale aus Zinkblech, in die so viel Wasser gegossen wird, daß die Maßstäbe beim tiefsten Stand des Querbalkens die Oberfläche eben berühren.
Zum Versuch entnimmt man Streifen von etwa 15 mm Breite (die Breite der Streifen ist ohne Einfluß auf das Ergebnis) und 180 mm Länge, je 5 aus der Maschinen- und Querrichtung. Diese bringt man bei hochgehobenem Querbalken in die Klemme, wie es Fig. 64 zeigt, so daß sie neben den Maßstäben, und von diesen 1–2 mm entfernt, herunterhängen. Die untere Kante der Streifen muß die Maßstäbe um 5–10 mm überragen. Bringt man nun den Querbalken in seine tiefste Lage, so tauchen sämtliche Streifen ins Wasser, und letzteres steigt im Papier auf, zuerst schneller, dann immer langsamer. Die Schnelligkeit des Aufsteigens hängt von der Saugfähigkeit des Papiers ab. Als Maß für die Beurteilung hat sich die Saughöhe nach 10 Minuten allgemein eingebürgert.
Da die Saughöhe in der Maschinenrichtung meist etwas größer ist als in der Querrichtung, so prüft man 5 Streifen jeder Richtung und bildet aus den abgelesenen 10 Werten das Mittel.
Die Saughöhen der im Handel vorkommenden Löschpapiere sind sehr verschieden; die schlechtesten, wie man sie namentlich in Schulheften vorfindet, zeigen Saughöhen herunter bis zu 15 mm. Bei mittlerer Handelsware findet man Saughöhen von etwa 40–60 mm, bei den besten Erzeugnissen solche über 100 mm herauf bis 150 mm und mehr.
Dr. Klemm[67] hat für die Abstufung der Löschpapiere nach ihrer Saugfähigkeit folgende Einteilung in Vorschlag gebracht:
| Saughöhe nach
      10 Min. | Saugfähigkeit. | 
| weniger als 20 mm | ungenügend | 
| 20–40 mm | schwach | 
| 41–60  „ | mittel | 
| 61–90  „ | groß | 
| mehr als 90 mm | sehr groß. | 
In Verbraucherkreisen zeigt sich vielfach eine besondere Vorliebe für ausländische, namentlich englische Löschpapiere, die sachlich nicht begründet ist. Zahlreiche Versuche[68] haben gezeigt, daß man nicht nach ausländischen Erzeugnissen zu greifen braucht, um einer großen Löschfähigkeit sicher zu sein; es gibt zur Genüge deutsche Fabrikate, die den höchsten in dieser Hinsicht zu stellenden Anforderungen genügen.
[66] Das von Favier vorgeschlagene Verfahren, die Löschfähigkeit von der Fläche aus zu bestimmen, hat sich nicht als brauchbar erwiesen. (Vergl. Mitt. a. d. techn. Vers. Anst. 1896, S. 46.)
[67] Papier-Industriekalender.
[68] Mitt. a. d. techn. Vers. Anst. 1896, S. 46.
Bei der Beurteilung eines Filtrierpapiers spielt die Geschwindigkeit, mit der Flüssigkeiten durchlaufen, eine hervorragende Rolle; unter sonst gleichen Umständen wird das Papier um so wertvoller sein, je schneller das Durchlaufen erfolgt. Diese Eigenschaft des Filtrierpapiers kann man zahlenmäßig zum Ausdruck bringen, indem man die Zeit bestimmt, die eine bestimmte Menge Wasser braucht, um unter einem bestimmten Druck durch eine bestimmte Fläche des Papiers hindurchzulaufen. Meist geht man so zu Werke, daß man Filter von bestimmter Größe in Trichter von bestimmtem Winkel legt und eine bestimmte Wassermenge auf das Filter bringt. Bei diesem Vorgehen sind aber die Versuchsbedingungen nicht immer die gleichen; die wirkende Fläche des Filters ist nicht immer gleich groß, der Wasserdruck schwankt, und außerdem kann das Ergebnis durch Nebenumstände (z. B. Saugwirkungen) beeinflußt werden.
Bei dem nachstehenden, in der Versuchsanstalt unter Zugrundelegung des Mariotteschen Prinzips gebauten Apparat werden diese Fehlerquellen vermieden.
Beschreibung des Apparates.
Die Hauptteile und die Wirkungsweise des Apparates sind aus Fig. 65 zu ersehen.
Ein oben und unten offenes Glasrohr G ist unten in eine Messinghülse M eingekittet. Oben ist eine mit 2 Bohrungen versehene Messingkappe N luftdicht aufgekittet; durch die eine Öffnung geht ein Trichterrohr T, durch die andere ein mit einem Hahn H versehenes Glasrohr.
Das so durch das Glasrohr G gebildete Gefäß steht durch das mit einem Dreiwegehahn D versehene Rohr R mit dem aus Messing[S. 131] gefertigten Filtrierzylinder F in Verbindung; der obere abnehmbare und mit der Ablaufrinne A versehene Teil E des Zylinders kann durch Schrauben mit dem unteren Teil verbunden werden. Zwischen F und E wird das zu prüfende Papier eingespannt; das aus E durch die Ablaufrinne A ablaufende Wasser wird in dem Kolben K aufgefangen und gemessen.
Versuchsausführung.
Aus dem zu prüfenden Papier werden zunächst kreisrunde Stücke von etwa 5 cm Durchmesser, wenn möglich je eins aus 10 verschiedenen Bogen, entnommen. Man entfernt dann E von F, stellt D so, daß durch R kein Wasser abfließen kann, öffnet H und gießt durch T destilliertes, vor dem Gebrauch stark ausgekochtes Wasser von etwa 20° C. in G; nach beendigter Füllung wird H wieder geschlossen.
Dann wird D so gestellt, daß langsam Wasser in den unteren Teil des Filtrierzylinders tritt; ist dieser gefüllt und zwar so weit, daß die Wasserkuppe über den oberen Rand von F hervorragt, so stellt man den Wasserzufluß bei D ab und legt eins der 10 Blätter auf den abgeflachten Rand von F; hierauf wird E aufgesetzt, fest auf F geschraubt und dann durch Drehen von D die Verbindung von G mit F wieder hergestellt. Das Wasser dringt nun durch das Papier, füllt E und läuft dann durch A in den Kolben K. Man kann nun bestimmen, innerhalb welcher Zeit eine bestimmte Menge Wasser (z. B. 100 ccm) durch das Papier hindurch geht.
Der Druck, unter dem das Ausfließen erfolgt, wird bedingt durch die Entfernung der unteren Öffnung des Trichters T von dem Wasserspiegel in E; durch Verschieben von T kann man also den Druck beliebig einstellen.
In der Versuchsanstalt wird bei Ausführung amtlicher Prüfungen stets mit einer Druckhöhe von 50 mm gearbeitet; die Abmessungen des Filtrierzylinders sind so gewählt, daß bei dem Filtrierpapier eine wirksame Fläche von 10 qcm abgegrenzt wird. Die Durchlaufzeit von 100 ccm wird in Sekunden bestimmt; als End[S. 132]ergebnis wird diejenige Wassermenge angegeben, die in einer Minute bei einem Wasserdruck von 50 mm und einer Wasserwärme von 20° C. durch 100 qcm Papier läuft.
Mit Hilfe des Filtrierapparates kann man auch die Festigkeit des Filtrierpapiers im nassen Zustande feststellen, indem man durch Höherziehen des Trichterrohres T den Wasserdruck so lange steigert, bis das eingespannte Papier durchreißt.
Um einen Überblick über die Filtriergeschwindigkeit der im Handel vorkommenden Filtrierpapiersorten für analytische Zwecke zu gewinnen, wurden 30 verschiedene Proben aufgekauft und in geschilderter Weise geprüft. Die in der Minute durchlaufende Wassermenge schwankte von 23 ccm bis zu 760 ccm; die Verteilung innerhalb dieser Grenzen zeigt die nachfolgende Zusammenstellung.
| 0–100 ccm | 101–200 ccm | 201–300 ccm | 301–400 ccm | 401–500 ccm | 501–600 ccm | 601–700 ccm | 701–800 ccm | 
| 4 Papiere | 3 Papiere | 7 Papiere | 4 Papiere | 3 Papiere | 3 Papiere | 4 Papiere | 2 Papiere | 
Eine zweite wichtige Eigenschaft der Filtrierpapiere ist ihre Scheidungsfähigkeit; man versteht hierunter die Fähigkeit, feste in Flüssigkeiten schwimmende Körper, wie Niederschläge u. s. w., beim Filtrieren mehr oder weniger vollkommen zurückzuhalten. Um sich in dieser Hinsicht ein Bild von der Brauchbarkeit eines Filtrierpapiers für chemische Arbeiten zu verschaffen, prüft man es zweckmäßig mit einem Baryumsulfatniederschlag in folgender Weise.
Gleiche Teile einer Baryumchloridlösung (122 g Salz in 1 Liter Wasser) und Kaliumsulfatlösung (87 g Salz in 1 Liter Wasser) werden einmal heiß und einmal kalt miteinander vermischt. Die heiße Fällung wird heiß, die kalte in kaltem Zustande filtriert. Aus dem zu prüfenden Papier wird ein Rundfilter von etwa 10 cm Durchmesser geschnitten, in gewöhnlicher Weise in den Trichter glatt eingelegt und mit Wasser angefeuchtet.
Papiere mit hervorragender Scheidungsfähigkeit ergeben selbst bei kalt gefälltem und kalt filtriertem Baryumsulfat klare Filtrate; andere lassen bei kalter Fällung die Flüssigkeit trübe durchlaufen, liefern aber bei heiß gefälltem und heiß filtriertem Niederschlag eine klare Lösung; noch andere zeigen in beiden Fällen trübe durchlaufende Flüssigkeiten.
Bei 5 in der Versuchsanstalt auf Antrag geprüften Sorten wurden Durchlaufsmengen von 141, 203, 296, 952 und 1250 ccm beobachtet.
Bei den Papieren 141 und 296 filtrierte kalt und heiß ge[S. 133]fälltes Baryumsulfat völlig klar, bei den übrigen die kalte Fällung stark trübe, die heiße mehr oder weniger trübe.
Handelt es sich um Filtrierpapiere für gewerbliche Zwecke oder um solche des Haushaltes, so wird man naturgemäß bei der Prüfung den Verwendungszweck berücksichtigen und nicht etwa die Brauchbarkeit eines Kaffeefiltrierpapiers nach seinem Verhalten zu einer Baryumsulfatfällung beurteilen.
Die Prüfung eines Filtrierpapiers auf Fettstoffe und Eisen geschieht in bekannter Weise durch Ausziehen mit Äther beziehungsweise durch Behandeln mit Kaliumeisencyanür (oder Untersuchung der Asche). Über die Art des zur Herstellung verwendeten Rohmaterials gibt die mikroskopische Untersuchung, über den Gehalt an unverbrennlichen Bestandteilen die Veraschung des Papiers Aufschluß.
Vom 1. Januar 1893 ab treten unter gleichzeitiger Aufhebung der Grundsätze für amtliche Papierprüfungen vom 5. Juli 1886 nachstehende Vorschriften für die Lieferung und Prüfung von Papier zu amtlichen Zwecken in Kraft.
§ 1.
Unter Zugrundelegung der folgenden Tabellen für die Stoff- und Festigkeitsklassen (Tabelle I und II) sollen die zu amtlichen Zwecken bestimmten Papiere die in Tabelle III gegebenen Eigenschaften, Bogengrößen und Einheitsgewichte besitzen. Die Bogengröße 33 × 42 cm ist überall, auch bei Formularen, Büchern u. s. w., vorzugsweise in Anwendung zu bringen.
Tabelle I.
Stoffklasse I bis IV.
Klasse I. Papiere, nur aus Hadern, mit nicht mehr als 3% Asche.
Klasse II. Papiere aus Hadern, mit Zusatz bis zu 25% von Cellulose, Strohstoff, Esparto, aber frei von Holzschliff, mit nicht mehr als 5% Asche.
Klasse III. Papiere von beliebiger Stoffzusammensetzung, jedoch ohne Zusatz von Holzschliff, mit nicht mehr als 15% Asche.
Klasse IV. Papiere von beliebiger Stoffzusammensetzung und mit beliebigem Aschengehalt.
Tabelle II.
Festigkeitsklasse 1–6.
| Klasse | 1 | 2 | 3 | 4 | 5 | 6 | Skala für den Widerstand gegen Zerknittern | ||
| a | Mittlere Reißlänge in Metern mindestens | 6000 | 5000 | 4000 | 3000 | 2000 | 1000 | 0) | außerordentlich gering, | 
| b | Mittlere Dehnung in Pro- zenten der ursprüng- lichen Länge mindestens |  |  |  |  |  |  | 1) | sehr gering, | 
|  |  |  |  |  |  | 2) | gering, | ||
| 4,5 | 4 | 3 | 2,5 | 2 | 1,5 | 3) | mittelmäßig, | ||
| c | Widerstand gegen Zer- knittern | 6   | 6 | 5 | 4   | 3 | 1   | 4) | ziemlich groß, | 
| 5) | sehr groß, | ||||||||
| 6) | sehr groß, | ||||||||
| 7) | außerordentlich groß. | ||||||||
Unter Berücksichtigung der beiden Klassifikationstabellen I und II gelten die in Tabelle III gegebenen Vorschriften.
Tabelle III.
Verwendungsklassen, Bogengrößen und Gewichte der Normalpapiere.
| Klassen- zeichen | Verwendungsart | Eigenschaften | Bogen- größe cm | Gewichte für | |||||||
| Stoff- klasse | Festig- keits klasse | 1000 Bogen kg | 1 qm g | ||||||||
| A. Schreibpapier | |||||||||||
| 1  | Für besonders wichtige, auf lange Aufbewahrungsdauer berechnete Urkunden |   |  I | 1 |   33×42 | 15   | – | ||||
|  | Ordrepapier (Quart) | 26,5×42 | 12   | – | |||||||
| Für Urkunden, Standesamtsregister, Geschäftsbücher u. s. w.: | |||||||||||
| 2a | für erste Sorte | I | 2 |   33×42 | 14   | – | |||||
| 2b | für zweite Sorte | I | 3 |   33×42 | 13   | – | |||||
| Für das zu dauernder Aufbewahrung bestimmte Aktenpapier: | |||||||||||
| 3a | für Kanzlei-, Mundir- u. s. w. Papier |   | II | 3 |   33×42 | 13   | – | ||||
|  | Briefpapier (Quart-) | 26,5×42 | 10,4 | – | |||||||
|  | desgl. (Oktav-) | 26,5×21 |  5,2 | – | |||||||
| 3b | für Konzeptpapier | II | 4 |   33×42 | 13   | – | |||||
| [S. 136] | Für Papiere, welche für den gewöhnlichen Gebrauch bestimmt sind und nur einige Jahre in Akten u. s. w. aufbewahrt werden sollen: | ||||||||||
| 4a | für Kanzlei-, Mundir- usw. Papier Briefpapier (Quart-) desgl. (Oktav-) |   | III | Reißlänge 3500 m, Dehnung 2,75%, Widerstand gegen Zer- knittern ziemlich groß |   33×42 26,5×42 26,5×21 | 12   9,6 4,8 | – – – | ||||
| 4b | für Konzeptpapier | III | 4 |   33×42 | 12   | – | |||||
| Bemerkung. Die unter A 1–4b gegebenen Vorschriften gelten auch für solche Schreibpapiere, welche gleichzeitig bedruckt werden (Standesamtsregister, Tabellenwerke u. s. w.). | |||||||||||
| Für Briefumschläge, Packpapier etc. und zwar: | |||||||||||
| 5a | für erste Sorte | II | 3 | – | – | – | |||||
| 5b | für zweite Sorte | III | 5 | – | – | – | |||||
| für Briefumschläge (für beide Sorten): | |||||||||||
| 1) bis zur Größe 13×19 cm | – | – | – | – |  70 | ||||||
| 2) für größere und solche Umschläge, welche für Geld- und Wertsendungen bestimmt sind | – | – | – | – | 115 | ||||||
| für Packpapier: | |||||||||||
| für Klasse 5a | – | – | – | – | 130 | ||||||
| für Klasse 5b | – | – | – | – | 115 | ||||||
| 6  | Für Papiere, welche zu untergeordneten Zwecken im täglichen Verkehr verwendet werden sollen und an welche Ansprüche auf Dauerhaftigkeit nicht gestellt werden, kann ohne besondere Rücksicht auf eine Festigkeitsklasse gewählt werden | IV | – | – | – | – | |||||
| [S. 137] | B. Aktendeckel. | ||||||||||
| 7a | Für Aktendeckel, welche | I |   | Reißlänge 2500 m, Dehnung 3,5% |   | 36×47 | 81,2 | 480 | |||
| für häufigen Gebrauch und längere Aufbewahrung bestimmt sind | |||||||||||
| 7b | Für Aktendeckel, welche | III |   | Reißlänge 2500 m, Dehnung 2,5% |   | 36×47 | 42,3 | 250 | |||
| für laufenden Gebrauch bestimmt sind | |||||||||||
| C. Druckpapier. | |||||||||||
| 8a | Für wichtigere, zu dauernder Aufbewahrung bestimmte Drucksachen |   | I aber bis zu 10% Asche |   | 4 | – | – | – | |||
| 8b | Für weniger wichtige Drucksachen | III | 4 | – | – | – | |||||
| 8c | Für Drucksachen, welche zu untergeordneten Zwecken im täglichen Verkehr verwendet werden sollen, kann ohne Rücksicht auf eine Festigkeitsklasse gewählt werden | IV | – | – | – | – | |||||
| Klassen- zeichen | Verwendungsart | Gewichte für | |||
| 1000 Bogen kg | 1 qm g | ||||
| Für Bücher, Formulare u. s. w. sind in den Fällen, in welchen die normale Größe Nr. 1 = 33×42 nicht anwendbar ist, die nachfolgenden Bogengrößen oder vielfache derselben, in der Regel unter Innehaltung der gleichzeitig angegebenen Einheitsgewichte, zu benutzen | |||||
| Nr. 2 = 34×43 cm | 14,6 |   | 100 | ||
| „ 3 = 36×45 „ | 16,2 | ||||
| „ 4 = 38×48 „ | 18,2 | ||||
| „ 5 = 40×50 „ | 20,0 | ||||
| Nr. 6 = 42×53 cm | 24,5 |   | 110 | ||
| „ 7 = 44×56 „ | 27,1 | ||||
| „ 8 = 46×59 „ | 29,9 | ||||
| „ 9 = 48×64 „ | 33,8 | ||||
| Nr. 10 = 50×65 cm | – |   | nach Bedarf | ||
| „ 11 = 54×68 „ | – | ||||
| „ 12 = 57×78 „ | – | ||||
Gegen die in der vorstehenden Tabelle III angegebenen Einheitsgewichte darf die Lieferung
a. für Schreib- und Druckpapier um 2,5%,
b. für Aktendeckel und Packpapier um 4,0%
nach oben oder unten abweichen, wobei die Riesumhüllung (das zum Verpacken von 1000 Bogen verwendete Umschlagpapier) bei der Gewichtsfeststellung mitgewogen wird.
§ 2.
Die Schreibpapiere der Stoffklassen I, II und III, soweit sie den Verwendungsklassen 1 bis 4b angehören (§ 1), sind mit einem Wasserzeichen zu versehen. Das Wasserzeichen soll im nassen Zustande auf dem Siebe in das Papier gebracht werden. Es soll die Firma des Erzeugers (Fabrikanten) in Buchstaben sowie neben dem Worte „Normal“ das Zeichen der Verwendungsklasse, welcher das Papier genügen soll, enthalten; die Hinzufügung einer Jahreszahl wird dem Fabrikanten freigestellt. Abkürzung der Firmenbezeichnung ist gestattet, indessen nur soweit, daß man ohne Zweifel und ohne weiteres auf den Inhaber zurückgreifen kann. Das Wasserzeichen muß vollständig, wenn auch unterbrochen, in jedem Bogen vorhanden sein.
§ 3.
Papiere der Verwendungsklassen 1 bis 4b (§ 1) werden nur von Firmen angenommen, deren Wasserzeichen bei der Königlichen mechanisch-technischen Versuchsanstalt (Charlottenburg, Technische Hochschule) angemeldet sind.
§ 4.
Die mit dem vorschriftsmäßigen Wasserzeichen versehenen Normalpapiere dürfen in ihrer Reißlänge um höchstens 10% und in ihrer Dehnbarkeit ebenfalls um höchstens 10% nach unten hin von den in Tabelle III (§ 1) genannten Eigenschaften abweichen. Alle anderen Eigenschaften müssen vorhanden sein, wenn das Papier bei der Prüfung als zu der im Wasserzeichen angegebenen Verwendungsklasse gehörig anerkannt werden soll.
§ 5.
Dem Erzeuger des Papiers soll es freistehen, in Fällen, in welchen das Papier den im Wasserzeichen angegebenen Eigenschaften bezüglich der Verwendungsklasse nicht entspricht, durch nachträgliche Stempelung (Trockenstempelung) eines jeden Bogens das Wasserzeichen ungültig zu machen oder das Papier in eine niedrigere Verwendungsklasse einzureihen, für welche seine Eigenschaften noch ausreichend sind.
Dieses Recht nachträglicher Stempelung zum Zweck der Herabsetzung des Papiers in eine niedrigere Verwendungsklasse als die in dem Wasserzeichen angegebene soll auch dem Lieferanten zustehen.
§ 6.
Zur Feststellung darüber, ob das gelieferte Papier der im Wasserzeichen angegebenen Verwendungsklasse entspricht, sind vor der Verwendung, namentlich vor dem Bedrucken des Papiers, Stichproben an die Königliche mechanisch-technische Versuchsanstalt zur Prüfung einzusenden.
Die Prüfung erfolgt auf die Erfüllung der im § 1 Tabelle I und II bezeichneten Eigenschaften für die Gesamtgebühr von 20 Mk. für jede Papiersorte.
Bei Lieferungen, welche den Betrag von 300 Mk. nicht erreichen, kann von einer Prüfung abgesehen werden.
Bei Lieferungen von höherem Betrage ist wenigstens eine der gelieferten Papiersorten jährlich abwechselnd zur Prüfung einzusenden.
Genügt der Ausfall der Prüfung (§ 8), so hat die Behörde, im anderen Falle der Lieferant die Prüfungsgebühren zu zahlen.
§ 7.
Die Stichproben werden von den Behörden aus verschiedenen Paketen der Lieferung (im ganzen mindestens 10 Bogen) entnommen und zur Prüfung an die Königliche mechanisch-technische Versuchsanstalt in Charlottenburg eingesendet.
Diese Proben müssen unbeschrieben und von tadellosem Aussehen sein; sie dürfen nicht gerollt und nur soweit geknifft werden, daß die ungeknifften Flächen mindestens 21 × 27 cm groß bleiben. Die Proben sind zwischen zwei steife Deckel zu verpacken, welche Beschädigungen auf dem Postwege wirksam verhindern.
Für die Prüfung von Papieren, welche bedruckt werden sollen, müssen die Stichproben aus dem unbedruckten Papier (vor der Drucklegung) entnommen werden.
§ 8.
Die von der Versuchsanstalt über die amtliche Prüfung auszugebenden Zeugnisse enthalten in erster Linie die Angabe: Ob das Papier den durch das Wasserzeichen gekennzeichneten (bezw. den durch den Trockenstempel als geringer angegebenen) Eigenschaften genügt oder nicht genügt.
In zweiter Linie werden außerdem die Ergebnisse der Einzelprüfungen in der bisher gebräuchlichen Weise mitgeteilt.
Zeugnisse für Papiere ohne Wasserzeichen beschränken sich auf die bisher gebräuchliche Form der Prüfungsbescheinigungen.
§ 9.
Ergibt die amtliche Prüfung, daß das Papier der im Wasserzeichen angegebenen Verwendungsklasse nicht genügt, so ist die Behörde berechtigt, die ganze Lieferung von der Verwendung auszuschließen. Papiere, welche durch den Trockenstempel in eine niedrigere Verwendungsklasse eingereiht sind, dürfen von den Behörden nur für diese Verwendungsklasse angenommen werden.
Ergibt sich bei der amtlichen Prüfung, daß die durch die Verwendungsklasse gegebenen Vorschriften durchweg nur sehr knapp erfüllt oder geringe Abweichungen nach unten vorhanden sind, so darf die Versuchsanstalt auf den generellen Antrag des durch das Wasserzeichen genannten Firmeninhabers diesem das Prüfungsergebnis mitteilen.
§ 10.
Zur Erklärung des Wesens der Prüfungen und der in den vorstehenden Tabellen sowie in den auszugebenden Prüfungszeugnissen gebrauchten technischen Ausdrücke ist folgendes zu bemerken:
Die Ausdauerfähigkeit und Güte eines Papiers ist im wesentlichen durch seine Stoffzusammensetzung und seine Festigkeitseigenschaften bedingt.
Zur Feststellung der Stoffzusammensetzung dient vornehmlich die mikroskopische Untersuchung. Zur Zeit gilt die Erfahrung, daß die Lumpenfasern das ausdauerfähigste Material geben; am wenigsten ausdauerfähig sind die[S. 140] Papiere mit Holzschliff. Die mikroskopische Untersuchung kann auch zugleich angenähert die Mengenverhältnisse der Faserstoffe feststellen.
Der Aschengehalt gibt diejenigen Papierbestandteile an, welche beim Verbrennen und darauf folgenden Glühen als unverbrennlich zurückbleiben; sie betragen bei Papier, dem keine mineralischen Füllstoffe zugesetzt sind, höchstens 3%. Die mineralischen Füllstoffe dienen dazu, das Papier im Aussehen und Griff besser, es druckfähiger, billiger oder schwer zu machen. Die zulässigen Grenzen sind in den „Vorschriften“ gegeben.
Das zu Schreibzwecken dienende Papier muß leimfest sein, damit es sich gut beschreibt und die Tinte nicht durchläßt.
Zu den Festigkeitseigenschaften rechnet man Festigkeit gegen Zerreißen, Dehnbarkeit und Widerstand gegen Zerknittern und Reiben.
Die Festigkeit des Papiers wird in zwei aufeinander senkrechten Richtungen (Maschinenrichtung und Querrichtung) bestimmt; als Grundlage für die Beurteilung dient das Mittel aus beiden Bestimmungen, die sogenannte mittlere Reißlänge. Man versteht unter Reißlänge diejenige Länge eines Streifens von gleichbleibender Breite und Dicke, bei welcher er, an einem Ende aufgehängt gedacht, infolge seines eigenen Gewichts abreißen würde.
Die Reißlänge, welche also von der Dicke und Breite des Streifens unabhängig ist, nimmt zu mit der Güte des Papiers.
Die Bruchdehnung wird bei der Bestimmung der Reißlänge mitgemessen; sie drückt die Verlängerung des Probestreifens bis zum Zerreißen aus und wird in Prozenten seiner ursprünglichen Länge angegeben. Sie nimmt ebenfalls zu mit der Güte des Papiers.
Die Widerstandsfähigkeit gegen Zerknittern und Reiben kann nicht durch Zahlenwerte ausgedrückt werden, weil dieser Versuch nicht mit Hilfe von Apparaten, sondern durch Knittern und Reiben mit der Hand ausgeführt wird. Die zur Bemessung des Widerstandsgrades angenommene Skala, von den geringeren Sorten zu den besseren aufsteigend, ist folgende:
0 = außerordentlich gering,
1 = sehr gering,
2 = gering,
3 = mittelmäßig,
4 = ziemlich groß,
5 = groß,
6 = sehr groß,
7 = außerordentlich groß.
§ 11.
Die Behörden sind verpflichtet, die durch Tabelle III der „Vorschriften“ gegebenen Grenzwerte für die Stoff- und Festigkeitsklassen ihren Lieferungsbedingungen zu Grunde zu legen.
In die über die Papierlieferung abzuschließenden Verträge ist die Bestimmung aufzunehmen, daß der Lieferant sich allen in den „Vorschriften“ ihm auferlegten Verpflichtungen zu unterwerfen habe.
Die „Vorschriften“ sind jedem Lieferungsvertrage anzuheften und zu dem Zweck von der Königlichen mechanisch-technischen Versuchsanstalt (Charlottenburg, Technische Hochschule) im Abdruck auf Verlangen abzugeben.
Berlin, den 17. November 1891.
Königliches Staats-Ministerium.
[69] Die Versuchsanstalt hat nach eingehenden Verhandlungen mit Vertretern der Papierindustrie und des Papierhandels einen neuen Entwurf für „Vorschriften“ ausgearbeitet, der z. Z. den maßgebenden Stellen zur Entscheidung vorliegt.
Gebührenordnung.
| Gegenstand der Versuche | Versuchsausführung | Zahl der Ver- suche | An- Nr. | Be- Mk. | 
| Papierprüfung. | ||||
| Festigkeit | Prüfung der Festigkeit und Dehnung nach 2 Richtungen in je 5 Versuchen | 10 | 300 | 10 | 
| Zerknittern | Prüfung auf Widerstand gegen Zerknittern | – | 301 |  2 | 
| Aschengehalt | Bestimmung des Aschengehaltes in Prozenten | – | 302 |  3 | 
| Desgleichen mit Prüfung der qualitativen Zusammensetzung der Asche | – | 303 | 10 | |
| Desgleichen mit Prüfung der quantitativen Zusammensetzung der Asche | – | 304 | 50 | |
| Dicke und Gewicht | Messung der Papierdicke und Bestimmung des Gewichtes für das Quadratmeter | – | 305 |  2 | 
| Holzschliff | Untersuchung auf das Vorhandensein verholzter Fasern | – | 306 |  1 | 
| Desgleichen mit Bestimmung der Art der verholzten Fasern | – | 307 |  2 | |
| Schätzung der Menge des Holzschliffes nach der Methode von Herzberg | – | 308 |  5 | |
| Faserarten | Mikroskopische Feststellung der im Papier enthaltenen Faserarten | – | 309 |  5 | 
| Desgleichen mit Schätzung des Mengen- verhältnisses der einzelnen Faserarten | – | 310 | 10 | |
| Chemische Zusammensetzung | Chemische Untersuchung des Papiers auf Farbstoff, Leimung, Gehalt an freier Säure, Chlor u. s. w., je nach dem Umfange der verlangten Untersuchung | – | 311 | 5–50 | 
| Desgleichen, quantitativ | – | 312 | 10 bis 100 | |
| Vollständige Untersuchung | Die vollständige Untersuchung eines Papiers auf Festigkeit, Dehnung, Widerstand gegen Zerknittern, Bestimmung des Aschengehaltes, mikroskopische Untersuchung und Leimfestigkeit | – | 313 | 20 | 
| Gegenstand der Versuche | Versuchsausführung | Zahl der Ver- suche | An- Nr. | Be- Mk. | 
| Stoffprüfung. | ||||
| Festigkeit | Prüfung der Festigkeit und Dehnung von Zeugstoffen nach Kette und Schuß in je 3 Versuchen |  6 | 314 | 12 | 
| Prüfung von Fäden auf Zugfestigkeit und Dehnung in 10 Versuchen, mit Bestimmung der Feinheitsnummer und Dehnungszahl | 10 | 315 | 10 | |
| Aschengehalt | Bestimmung des Aschengehaltes | – | 316 |  3 | 
| Faserart | Bestimmung der Faserart in Schuß und Kette | – | 317 |  5 | 
| Fadenzahl | Bestimmung der Fadenzahl auf 1 cm in Schuß- und Kettenrichtung | – | 318 |  2 | 
| Fadenstellung | Bestimmung der Fadenstellung | – | 319 |  2 | 
| Schlichte, Farbe Wasserdurch- lässigkeit u. s. w. | Untersuchung des Stoffes auf Schlichte, Stärke, Farbe, Wasserdurchlässigkiet u. s. w., je nach dem Umfange der gewünschten Prüfung | – | 320 | 3–50 | 
| Vollständige Untersuchung | Die vollständige Untersuchung eines Stoffes nach den Ansätzen 314, 316 bis 319 | – | 321 | 20 | 
| Desgleichen einschließlich der Untersuchung der Schuß- und Kettenfäden in je 5 Versuchen nach Ansatz 315 | – | 322 | 26 | 
Probematerial.
Für Papierprüfungen, welche auch die Ansätze 300 und 301 umfassen, sind 10 Bogen jeder Sorte, zwischen steifen Deckeln verpackt (nicht gerollt), einzusenden. Bei Prüfungen nach den übrigen Ansätzen genügt weniger Material in beliebiger Verpackung.
Bei Einreichung des Antrages sind die Ansatznummern (300–313) anzugeben, nach denen geprüft werden soll.
[70] Die Beträge gelten für die Prüfung eines Papiers. Bei Prüfungen für Ausländer werden die Gebühren um 50% erhöht. Außer den Gebührenbeträgen sind zu zahlen 1 Mk. 50 Pf. für Stempel und ferner die Auslagen für Schreibhilfe und Postbestellgeld.
[71] Die Beträge gelten für die Prüfung eines Stoffes. Bei Prüfungen für Ausländer werden die Gebühren um 50% erhöht. Außer den Gebührenbeträgen sind zu zahlen 1 Mk. 50 Pf. für Stempel und ferner die Auslagen für Schreibhilfe und Postbestellgeld.
(Reichs-Eisenbahnamt. 13. Oktober 1892.)
Zu den Frachtbriefen ist Normalpapier 4a mit vorschriftsmäßigem Wasserzeichen zu verwenden (vergl. S. 136). Die Farbe des Papiers muß entschieden weiß sein und das Gewicht bei der für Frachtbriefe durch die Verkehrsordnung[S. 143] vorgeschriebenen Bogengröße von 76×60 cm für je 1000 Bogen (4000 Frachtbriefe) 39 kg betragen. Eine Abweichung von diesem Einheitsgewicht um 2,5% nach oben und unten ist gestattet. Bei der Gewichtsfeststellung wird die Riesumhüllung (das zum Verpacken von 1000 Bogen verwendete Umschlagpapier) mit gewogen.
Fabrikanten, die Frachtbriefpapier herstellen, haben ihr Wasserzeichen bei einer mit der Prüfung von Papier zu amtlichen Zwecken in einem Bundesstaat beauftragten Behörde anzumelden. Die Prüfung, ob das Frachtbriefpapier den vorbezeichneten Bedingungen entspricht, erfolgt nach Maßgabe der bei diesen Behörden bestehenden Vorschriften.
(Gesetz betreffend Invaliditäts- und Altersversicherung vom 22. Juni 1889.)[72]
Der Karton muß aus Zellstoff, Leinen und Baumwolle hergestellt sein. Der Zellstoffgehalt darf nicht mehr als 50% betragen. Der Gehalt an Leinen muß mindestens 5% größer sein als der Baumwollgehalt. Der Aschengehalt darf 4% nicht übersteigen. Der Karton muß mit Eisenoxyd und Bleichromat nach niedergelegtem Muster gelb gefärbt sein und ein Quadratmetergewicht von 277–283 g aufweisen.
Die mittlere Reißlänge muß 4500 m, die mittlere Dehnung 4% betragen.
(Bekanntmachungen des Reichskanzlers vom 13. Juli 1893 und 8. Juni 1898.)
Die für die Selbstversicherung vom Bundesrat vorgeschriebenen besonderen Quittungskarten (Formular B) müssen in Stoff und Format den vorstehenden Bedingungen ebenfalls entsprechen, aber nach niedergelegtem Muster grau gefärbt sein.
Die graue Färbung ist durch Zuteilen von naturblauer Lumpenfaser zum Stoff und Abtönen mit Miloriblau und Chromgelb herzustellen.
(4. Januar 1900.)
[72] Reichsgesetzblatt 1889, S. 97.
(13. November 1899.)
Zum Druck sämtlicher Beitragsmarken ist reines Lumpenpapier zu verwenden, welches fein gemahlen, in der Durchsicht gleichmäßig sein und eine Reißlänge von wenigstens 3000 m, eine Dehnung von mindestens 1,9% und einen Aschengehalt von höchstens 12% haben muß.
Das Markenpapier ist mit einem unsichtbaren Aufdruck zu versehen, der die Möglichkeit gewährt, die Echtheit der Marken jederzeit zu prüfen. Die Verwendung eines Wasserzeichens an Stelle des Aufdruckes bedarf der besonderen Genehmigung des Reichs-Versicherungsamtes.
(Ministerium des Innern. 2. April 1892.)
Das Papier für die
angehören.
Zur Ausbildung im Papierprüfen nimmt die Charlottenburger Versuchsanstalt Volontäre auf. Bestimmte Anforderungen an deren Vorbildung werden nicht gestellt. Bewerber müssen dem Aufnahmegesuch Lebenslauf und Abschriften der in ihrem Besitz befindlichen Zeugnisse beifügen; daraufhin erfolgt die Entscheidung über die Aufnahme.
Die Ausbildung nimmt drei Monate in Anspruch und erfolgt für Reichsdeutsche kostenfrei; Ausländer zahlen 300 Mk.
Gegenstand des Unterrichtes bilden in erster Linie die gesamten Papierprüfungsverfahren; hierbei wird auf die Ausbildung im Mikroskopieren besonderes Gewicht gelegt. In zweiter Linie erfolgt die Unterweisung im Prüfen der wichtigsten Rohstoffe für die Papierfabrikation. In der zweiten Hälfte der Ausbildungszeit können die Volontäre auf Wunsch auch Fragen bearbeiten, die für sie besonderes Interesse haben.
Die bisher gemachten Erfahrungen haben gezeigt, daß die Teilnahme an diesen Ausbildungskursen für das spätere Fortkommen der Teilnehmer vielfach von Wert gewesen ist, so daß allen jungen Papiermachern dringend anzuraten ist, von dieser im Interesse der Papierindustrie geschaffenen Einrichtung Gebrauch zu machen. Frühzeitige Anmeldung empfiehlt sich, da nur eine beschränkte Anzahl von Plätzen zur Verfügung steht.
Zur Ausführung amtlicher Prüfungen, wie vielfach angenommen wird, dürfen die Volontäre nicht herangezogen werden; die ganze Zeit, welche sie in der Anstalt zubringen, wird ausschließlich auf ihre Ausbildung verwendet.
Behrens, Anleitung zur mikrochemischen Analyse, Hamburg 1896.
Beveridge, Papermakers’ Pocket Book, London 1901.
Clapperton, Practical Paper Making, London 1894.
Cross & Bevan, Cellulose, London 1895.
Erdmann-König, Waarenkunde, Leipzig 1895.
Griffin & Little, The Chemistry of Paper Making, New York 1894.
Hanausek, Lehrbuch der technischen Mikroskopie, Stuttgart 1901.
Hofmann, Handbuch der Papierfabrikation, Berlin 1891.
Hofmann, Normalpapier, Berlin 1892.
v. Höhnel, Die Mikroskopie der technisch verwendeten Faserstoffe, Wien 1887.
v. Hoyer, Das Papier, seine Beschaffenheit und deren Prüfung, München 1882.
v. Hoyer, Die Fabrikation des Papiers, Braunschweig 1887.
v. Hoyer, Ueber die Entstehung und Bedeutung der Papiernormalien, sowie deren Einfluß auf die Fabrikation, München 1888.
Kirchner, Das Papier, Biberach.
Klemm, Papier-Industrie-Kalender, Leipzig.
Lohnes, Papier-Kalender, Dresden.
Lunge, Chemisch-technische Untersuchungsmethoden, 3. Band, Berlin 1900, Artikel „Papier“ von W. Herzberg.
Mierzinski, Handbuch der praktischen Papierfabrikation, Wien 1886.
Müller, Qualitative und quantitative Bestimmung des Holzschliffes im Papier, Berlin 1887.
Muspratt’s Chemie, 6. Band, Braunschweig 1898, Artikel „Papierprüfung“ von Dr. Klemm.
Muth, Jahrbuch der Papierindustrie, Leipzig 1890.
Rejtö, Anleitung für Private zur Durchführung der Papierprüfung, Budapest 1893.
Rössel, Papiere und Papierprüfung mit Berücksichtigung der in der Schweiz verwendeten Schreib- und Druckpapiere, Biel 1895.
L. Rostaing, M. Rostaing et Fleury Percie du Sert, Végétaux propres à la fabrication de la Cellulose et du Papier, Paris 1899.
Schacht, Prüfung der im Handel vorkommenden Gewebe, Berlin 1853.
Vétillart, Études sur les fibres végétales textiles, Paris 1876.
Wiesner, Die Rohstoffe des Pflanzenreiches, 8. Lieferung, Leipzig 1902, Artikel: Papierfasern.
Wiesner, Die mikroskopische Untersuchung des Papiers, Wien 1887.
Wiesner, Einleitung in die Technische Mikroskopie, Wien 1867.
Winkler, Der Papierkenner, Leipzig 1887.
Winkler, Die Trockengehaltsbestimmung der Papierfaserstoffe (Ermittelung des Wassergehaltes), Leipzig 1902.
[73] Selbständige Werke, die sich in mehr oder minder umfangreichem Maße mit der Papierprüfung befassen.
Tafel XIII.
 
Färbung der Fasern in Jod-Jodkaliumlösung.
Leinen, Baumwolle braun
  Holz- und Strohzellstoff grau
  Holzschliff gelbbraun
Tafel XIV.
 
Färbung der Fasern in Chlorzinkjodlösung.
Leinen, Baumwolle weinrot
  Holz- und Strohzellstoff violett
  Holzschliff gelb
Tafel XV.
Verschiedene Mahlungszustände von Papierfasern.
Oskar Leuner’s
Mechanisches Institut
empfiehlt:
Sämmtliche Apparate zur technischen und zur exakten Gasanalyse, Apparate zur Heizwerthbestimmung der Gase etc. etc. nach Angabe des Herrn Geh. Hofrath Professor Dr. Walther Hempel, Dresden.
Toepler’sche Universal-Apparate für Demonstrationen in Mechanik.
Als eigene Erfindungen und Konstruktionen.
Selbstregistrierende Zerreiss-Apparate und Zerreiss-Maschinen
zur Untersuchung von Papier, Gespinnsten, Geweben, Leder etc. etc., für Belastungen bis zu 3000 Kilo.
Querprofil- und Thalwegsprofil-Zeichner,
Instrumente zur selbstthätigen Aufzeichnung der Querprofile und der Thalwegsprofile von Wasserläufen.
Wassergeschwindigkeitszeichner,
Instrument zur selbstthätigen Aufzeichnung von Wassergeschwindigkeiten.
Instrumente zur Untersuchung eiserner Brücken, als: Spannungszeichner,
Instrument zur selbstthätigen Aufzeichnung der Spannungsänderungen in den Gliedern eiserner Brücken.
Biegungszeichner,
Instrument zur selbstthätigen Aufzeichnung der Auf- und der Durchbiegungen der Tragwände etc. eiserner Brücken.
Drahtspannapparate
zur Beobachtung bleibender Formänderungen bei eisernen Brücken.
Horizontalschwingungszeichner,
Instrument zur selbstthätigen Aufzeichnung der horizontalen Schwingungen eiserner Brücken ohne Benutzung eines festen Punktes.
Pfeilzeichner,
zur Untersuchung von Eisenbahnschienen etc.
Zugkraftzeichner, Rauchmesser,
ferner:
Von Feuchtigkeitsänderungen der Luft unabhängige Influenzmaschinen mit 2 bis mit 60 rotierenden Scheiben für Hand- und Motoren-Betrieb.
========== Verbessertes Toepler-System. ==========
Oskar Leuner.
Louis Schopper, Leipzig.
Anstalt für Präcisions-Mechanik.
Fabrik und Contor: Arndtstr. 27. * Fernsprecher: No. 3262.
Fabrikation und Export
=== wissenschaftlicher und technischer Apparate. ===
Specialität:
Papier-Prüfungs-Apparate,
Pappen-, Papier- und Präcisions-Waagen
für die gesamte
Papier-, Pappen- und Papierstoff-Industrie.
Chemikalien, Reagentien, Präparier- und Färbmittel.
Sämtliche in der Papierfabrikation verwendeten Faserstoffe in Alkohol als Vergleichspräparate bei mikroskopischen Untersuchungen, Dauerpräparate.
Papiere mit verschiedenem Widerstand gegen Zerknittern.
Vollständige Papier-Prüfungs-Einrichtungen nach dem Muster der Kgl. mech. techn. Versuchsanstalt in Charlottenburg (Abteilung für Papier-Prüfung).
Neuester Apparat
zur Bestimmung des
Trocken- resp. Feuchtigkeitsgehaltes fester Körper, Modell 1902,
von
Louis Schopper, Leipzig.
D. R. G. M. No. 171196.
Dieser Apparat ist vorläufig für Gas- und Spiritusheizung eingerichtet, für Dampf- und elektrische Heizung ist er in Vorbereitung. Er führt dem Trockengut ununterbrochen große Mengen warmer Luft zu, trocknet daher schnell und billig.
CARL ZEISS
Optische Werkstaette
JENA
| Mikroskope | |
| für alle wissenschaftliche und technische Zwecke im speziellen auch für | |
| Papier- Untersuchung | |
Kataloge stehen den Herren Interessenten kostenfrei zur Verfügung.
Verlag von Julius Springer in Berlin N.
Analyse der Fette und Wachsarten. Von Professor Dr. Rudolf Benedikt (Wien). Vierte, erweiterte Auflage. Herausgegeben von Professor F. Ulzer (Wien). Mit dem Bildniss Benedikts in Photogravure und zahlr. Textfiguren.
Unter der Presse.
Anleitung zur Erkennung, Prüfung und Werthbestimmung der gebräuchlichsten Chemikalien für den technischen, analytischen und pharmaceutischen Gebrauch. Von Dr. Max Biechele.
geb. M. 5,—.
Quantitative Analyse durch Elektrolyse. Von Geh. Reg.-Rath Prof. Dr. A. Classen (Aachen). Vierte, umgearbeitete Auflage. Unter Mitwirkung von Dr. W. Löb (Aachen). Mit 74 Textabbildungen und 6 Tafeln.
geb. M. 8,—.
Die Analyse der Harze, Balsame und Gummiharze, nebst ihrer Chemie und Pharmakognosie. Von Dr. Karl Dieterich (Helfenberg.)
geb. M. 7,—.
Das Wasser, seine Verwendung, Reinigung und Beurtheilung, mit besonderer Berücksichtigung d. gewerblichen Abwässer und d. Flussverunreinigung. Von Dr. Ferd. Fischer (Göttingen). Dritte, umgearbeitete Auflage. Mit Textabbildungen.
geb. M. 12,—.
Spektralanalytischer Nachweis künstlicher organischer Farbstoffe. Zum Gebrauche bei wissenschaftlichen und gewerblichen Untersuchungen bearbeitet von J. Formanek (Prag). Mit Textfiguren und 58 lithograph. Tafeln.
geb. M. 10,—.
Fortschritte der Theerfarbenfabrikation und verwandter Industriezweige. An der Hand der systematisch geordneten und mit kritischen Anmerkungen versehenen Deutschen Reichspatente dargestellt von Prof. Dr. P. Friedlaender (Wien). I: 1877–1887 M. 24,—. II: 1887–1890 M. 24,—. III: 1891–1894 M. 40,—. IV: 1894–1897 M. 50,—. V: 1897–1900 M. 40,—.
Die Mercerisation der Baumwolle mit specieller Berücksichtigung der in- und ausländischen Patente. Von Paul Gardner. Mit 57 Textfiguren.
geb. M. 6,—.
Die ätherischen Oele. Bearbeitet im Auftrage der Firma Schimmel & Co. in Leipzig von E. Gildemeister und Fr. Hoffmann. Mit 4 Karten und zahlreichen Abbildungen.
M. 20,—; geb. M. 23,—.
Das Trocknen mit Luft und Dampf. Von Oberingenieur E. Hausbrand. Mit Textfiguren und 2 Tafeln.
geb. M. 3,—.
Verdampfen, Kondensieren und Kühlen. Von Oberingenieur E. Hausbrand (Berlin). Mit 21 Textfiguren und 76 Tabellen. Zweite, durchgesehene Auflage.
geb. M. 9,—.
Färbereichemische Untersuchungen. Anleitung zur Untersuchung, Bewerthung und Anwendung der wichtigsten Färberei-, Druckerei-, Bleicherei- und Appretur-Artikel. Von Dr. Paul Heermann. Mit Abbildungen auf zwei Tafeln.
geb. M. 4,—.
Die Chromgerbung. Von Dr. S. Hegel. Unter besonderer Berücksichtigung der in- und ausländischen Patentlitteratur.
M. 3,—.
Die Streichgarn- und Kunstwoll-Spinnerei in ihrer gegenwärtigen Gestalt. Von Emil Hennig (Guben). Praktische Winke und Rathschläge im Gebiet dieser Industrie. Mit 40 in den Text gedr. Abbild.
geb. M. 5,—.
Die Fabrikation der Bleichmaterialien. Von Victor Hölbling (Wien). Mit 240 in den Text gedruckten Figuren.
geb. M. 8,—.
Die Färberei und Bleicherei der Gespinnstfasern. Von Professor J. J. Hummel (Leeds). Deutsche Bearbeitung von Professor Dr. Edmund Knecht (Manchester). Mit zahlreichen Holzschnitten. Zweite vermehrte Auflage.
geb, M. 8,—.
Die thierische Leimung für endloses Papier. Von Ferdinand Jagenberg. Mit Textabbild. u. 1 lith. Tafel. 1878.
kart. M. 6,—.
Praxis und Theorie der Leder-Erzeugung. Ein Leitfaden für Lohe-, Weiss-, Sämisch- und Glacé-Gerberei von J. Jettmar. Mit 51 Textfiguren.
geb. M. 10,—.
Carbolsäure und Carbolsäurepräparate, ihre Geschichte, Fabrikation, Anwendung und Untersuchung. Von Dr. H. Köhler. Mit 23 Holzschnitten im Text.
M. 4,—; geb. M. 5,—.
Die Verunreinigung der Gewässer, deren schädliche Folgen, sowie die Reinigung von Trink- und Schmutzwasser. Von Professor Dr. J. König (Münster i. W.). Zweite vollständig umgearbeitete und vermehrte Auflage. Mit zahlreichen Abbildungen im Text und 7 lithogr. Tafeln. Zwei Bände.
M. 26,—; geb. M. 28,40.
Die Prüfung der chemischen Reagentien auf Reinheit. Von Dr. C. Krauch (Darmstadt). Dritte, umgearbeitete und sehr vermehrte Auflage.
geb. M. 9,—.
Physikalisch-chemische Tabellen von Prof. Dr. H. Landolt und Prof. Dr. R. Börnstein (Berlin). Unter Mitw. hervorrag. Fachmänner bearbeitet. Zweite Auflage.
M. 21,—.
Tabellarische Uebersicht über die künstlichen organischen Farbstoffe und ihre Anwendung in Färberei und Zeugdruck. Von Dr. Adolf Lehne. Mit Ausfärbungen jedes einzelnen Farbstoffes und Zeugdruckmustern. In 6 Lieferungen M. 36,—; in Halbleder geb. M. 40,—. — Ergänzungsband. In 4 Lieferungen M. 21.—; in Halbleder geb. M. 25,—.
Chemisch-technische Untersuchungsmethoden. Mit Benutzung der früheren von Dr. Fr. Böckmann bearbeiteten Auflagen und unter Mitwirkung zahlreicher hervorragender Fachmänner herausgegeben von Professor Dr. Georg Lunge (Zürich). Vierte, vollständig umgearbeitete und vermehrte Auflage. In 3 Bänden.
Band I: Mit 146 Textabb. M. 16,—; in Halbleder geb. M. 18,—.
Band II: Mit 143 Textabb. M. 16,—; in Halbleder geb. M. 18,—.
Band III: Mit 104 Textabb. M. 23.—; in Halbleder geb. M. 25,—.
Taschenbuch für die Soda-, Pottasche- und Ammoniak-Fabrikation. Herausgegeben von Prof. Dr. G. Lunge (Zürich). Dritte, umgearbeitete Auflage. Mit 18 in den Text gedruckten Figuren.
In Lederband M. 7,—.
Grundzüge der Elektrochemie auf experimenteller Basis. Von Dr. R. Lüpke (Berlin). Dritte Auflage. Mit 77 Textfiguren und 28 Tabellen.
M. 5,—; geb. M. 6,—.
Kurze Anleitung zur Appretur-Analyse. Von Dr. Wilh. Massot (Krefeld).
geb. M. 2,60.
Anleitung zur quantitativen Bestimmung der organischen Atomgruppen. Von Dr. H. Meyer (Wien). Mit Textabb.
geb. M. 3,—.
Mikroskopische Wasseranalyse. Anleitung zur Untersuchung des Wassers mit besonderer Berücksichtigung von Trink- und Abwasser. Von Prof. Dr. C. Mez (Breslau). Mit 8 lith. Tafeln und Textabbildungen.
M. 20,—; geb. M. 21,60.
Die qualitative und quantitative Bestimmung des Holzschliffes im Papier. von Dr. Albr. Müller. 1887.
geb. M. 3,—.
Die Fabrikation des Papieres, insonderheit des auf der Maschine gefertigten, nebst gründlicher Auseinandersetzung der in ihr vorkommenden chemischen Processe und Anweisung zur Prüfung der angewandten Materialien. Von Dr. L. Müller. Mit in den Text gedruckten Holzschnitten und lithographischen Tafeln. Vierte, neu bearbeitete und vermehrte Auflage. 1877.
geb. M. 24,—.
Chemie der organischen Farbstoffe. Von Professor Dr. R. Nietzki (Basel). Vierte vermehrte Auflage.
geb. M. 8,—.
Anilinschwarz und seine Anwendung in Färberei und Zeugdruck. Von Dr. E. Noelting und Dr. A. Lehne, (Herausgeber der Färber-Zeitung). Mit 11 Abbildungen im Text und 32 Zeugdruckmustern und Ausfärbungen auf 4 Tafeln.
geb. M. 8,—.
Leitfaden für Zuckerfabrikchemiker zur Untersuchung der in der Zuckerfabrikation vorkommenden Produkte und Hilfsstoffe. Von Dr. E. Preuss (Berlin). Mit 33 Textabbildungen.
geb. M. 4,—.
Leitfaden für gerbereichemische Untersuchungen. Von Prof. H. R. Procter (Leeds). Deutsche Ausgabe von Dr. Joh. Paessler (Freiberg). Mit 30 in den Text gedruckten Figuren.
geb. M. 8,—.
Die Fabrikation der Weinsäure. Von Dr. Hermann Rasch. Mit in den Text gedruckten Abbildungen.
M. 2,40.
Die Fabrikation der Kartoffelstärke. Von Professor Dr. O. Saare. Mit zahlr. Textabbild. und 5 Tafeln.
geb. M. 15,—.
Der Zeugdruck, Bleicherei, Färberei, Druckerei und Appretur baumwollener Gewebe. Von A. Sansone (Manchester). Deutsche Ausgabe von B. Pick (Mülhausen). Mit Textabbildungen, 23 Figuren-Tafeln u. 12 Musterkarten.
geb. M. 10,—.
Grundlagen der Kokschemie. Von Hütteningenieur Oscar Simmersbach.
M. 2,40.
Bleichen und Färben der Seide und Halbseide im Strang und Stück. Von Carl H. Steinbeck. Mit zahlreichen Textfiguren und 80 Ausfärbungen auf 10 Tafeln.
geb. M. 16,—.
Die künstliche Seide. Ihre Herstellung, Eigenschaften und Verwendung. Unter besonderer Berücksichtigung der Patent-Litteratur bearbeitet von Dr. Carl Süvern. Mit 25 Textfiguren und 2 Musterbeilagen.
geb. M. 7,—.
Anlage, Konstruktion und Einrichtung von Bleicherei- und Färberei-Lokalitäten. Von J. Trey (Schaffhausen). Mit 73 in den Text gedruckten Abbildungen.
M. 2,40.
Anleitung zur chemisch-technischen Analyse. Für den Gebrauch an Unterrichts-Laboratorien bearb. von Prof. F. Ulzer u. Dr. A. Fraenkel (Wien). Mit Textabbildungen.
geb. M. 5,—.
Die physikalischen und chemischen Methoden der quantitativen Bestimmung organischer Verbindungen. Von Dr. W. Vaubel (Darmstadt). Zwei Bände mit 95 in den Text gedruckten Figuren.
M. 24,—; geb. M. 26,40.
Vorschriften für die Lieferung und Prüfung von Papier zu amtlichen Zwecken. (Sonderabdruck aus den „Mittheilungen aus den Kgl. technischen Versuchsanstalten“.)
25 Pf.
Vorschriften für die Benutzung der Kgl. mechan.-techn. Versuchsanstalt. (Sonderabdruck aus den „Mittheilungen aus den Kgl. technischen Versuchsanstalten“.)
30 Pf.
Wissenschaftliche Abhandlungen der Physikalisch-Technischen Reichsanstalt.
Band I: Mit Abbildungen im Text. M. 30,—.
Band II: Mit Abbildungen im Text. M. 30,—.
Band III: Mit Abbildungen im Text. M. 30,—.
Mittheilungen aus den Königlichen technischen Versuchsanstalten zu Berlin. Herausgegeben im Auftrage der Königl. Aufsichts-Kommission. Jährl. 6–8 Hefte. Preis für den Jahrgang M. 12,—.
Chemiker-Kalender. Ein Hülfsbuch für Chemiker, Physiker, Mineralogen, Industrielle, Pharmaceuten, Hüttenmänner etc. Von Dr. Rudolf Biedermann. Erscheint alljährlich. In zwei Theilen. I. Theil in Leinw., II. Theil (Beilage) geh.: Preis zusammen M. 4,—. I. Theil in Leder, II. Theil (Beilage) geh.: Preis zusammen M. 4,50.
Zeitschrift für angewandte Chemie. Organ des Vereins deutscher Chemiker. Begründet von Professor Dr. Ferd. Fischer. Im Auftrage des Vereins herausgegeben von Dr. L. Wenghöffer. Erscheint wöchentlich. Preis für den Jahrgang M. 20,—; für das Ausland zuzüglich Porto.
Färber-Zeitung. Zeitschrift für Färberei, Zeugdruck und den gesammten Farbenverbrauch. Unter Mitwirkung von Dr. Heinrich Lange, Leiter der königl. Färberei- und Appreturschule in Crefeld, herausgegeben von Dr. Adolf Lehne. Preis des Jahrgangs von 24 Heften mit Mustern M. 16,—; für das Ausland M. 18,40.
Zu beziehen durch jede Buchhandlung.